TOP
|
特許
|
意匠
|
商標
特許ウォッチ
Twitter
他の特許を見る
公開番号
2025166892
公報種別
公開特許公報(A)
公開日
2025-11-07
出願番号
2024071066
出願日
2024-04-25
発明の名称
バッテリおよび車両
出願人
トヨタ自動車株式会社
代理人
弁理士法人深見特許事務所
主分類
H02J
7/04 20060101AFI20251030BHJP(電力の発電,変換,配電)
要約
【課題】バッテリの劣化を抑制すること。
【解決手段】バッテリは、電動車両の駆動用の交換可能なバッテリである。バッテリが電動車両から外された後に充電装置に接続されてから特定時間(たとえば、解消時間、一定時間)が経過するまでは当該バッテリの充電を開始させない(ステップS111からステップS123)。これにより、バッテリが電動車両から外された後に充電装置に接続された場合であっても、特定時間が経過するまでは当該バッテリの充電が開始されない。特定時間は、電動車両に接続されているときの所定電流値を超える充放電を含む充放電によるバッテリの電解液のリチウムイオンの濃度分布の偏りに起因したバッテリの内部抵抗が上昇した状態であるハイレート劣化が解消するまでの時間であるようにしてもよい。
【選択図】図3
特許請求の範囲
【請求項1】
車両の駆動用の交換可能なバッテリであって、
前記バッテリが前記車両から外された後に充電装置に接続されてから特定時間が経過するまでは当該バッテリの充電を開始させない、バッテリ。
続きを表示(約 450 文字)
【請求項2】
前記特定時間は、前記車両に接続されているときの所定電流値を超える充放電を含む充放電による前記バッテリの電解液のリチウムイオンの濃度分布の偏りに起因した前記バッテリの内部抵抗が上昇した状態であるハイレート劣化が解消するまでの時間である、請求項1に記載のバッテリ。
【請求項3】
前記充電装置は、当該バッテリが接続されたとしても、前記特定時間が経過するまでは当該バッテリの充電を開始させない、請求項1に記載のバッテリ。
【請求項4】
前記特定時間の残時間を計るタイマを備え、
前記タイマによって計られている前記残時間が所定時間未満になるまでは当該バッテリの充電を開始させない、請求項1に記載のバッテリ。
【請求項5】
請求項4に記載のバッテリを搭載可能な車両であって、
前記タイマによって計られている前記残時間を、当該車両から外された前記バッテリを充電する前記充電装置と通信可能なサーバに送信する通信部を備える、車両。
発明の詳細な説明
【技術分野】
【0001】
この開示は、バッテリおよび車両に関し、特に、車両の駆動用の交換可能なバッテリ、および、このバッテリを搭載可能な車両に関する。
続きを表示(約 1,000 文字)
【背景技術】
【0002】
従来から、車両の駆動用の交換可能なバッテリをシェアするシステムがあった(たとえば、特許文献1参照)。
【先行技術文献】
【特許文献】
【0003】
特開2020-190480号公報
【発明の概要】
【発明が解決しようとする課題】
【0004】
このようなバッテリを交換する設備において交換後のバッテリを充電する充電装置によって充電を行う際の制御には、バッテリの劣化を抑制するための工夫の余地がある。
【0005】
この開示は、上述した課題を解決するためになされたものであって、その目的は、バッテリの劣化を抑制することが可能な、バッテリおよび車両を提供することである。
【課題を解決するための手段】
【0006】
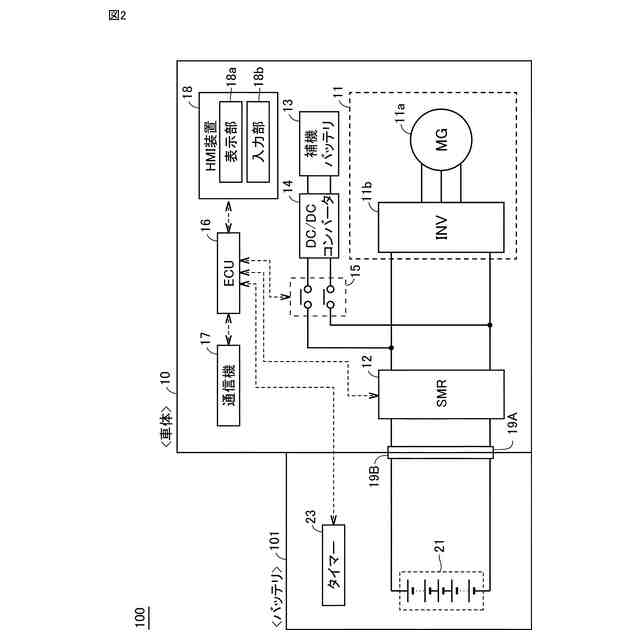
この開示に係るバッテリは、車両の駆動用の交換可能なバッテリであって、バッテリが車両から外された後に充電装置に接続されてから特定時間が経過するまでは当該バッテリの充電を開始させない。
【0007】
このような構成によれば、バッテリが車両から外された後に充電装置に接続された場合であっても、特定時間が経過するまでは当該バッテリの充電が開始されない。その結果、バッテリの劣化を抑制することが可能なバッテリを提供することができる。
【0008】
特定時間は、車両に接続されているときの所定電流値を超える充放電を含む充放電によるバッテリの電解液のリチウムイオンの濃度分布の偏りに起因したバッテリの内部抵抗が上昇した状態であるハイレート劣化が解消するまでの時間であるようにしてもよい。
【0009】
このような構成によれば、バッテリが車両から外された後に充電装置に接続された場合であっても、車両に接続されているときの所定電流値を超える充放電を含む充放電によるバッテリの電解液のリチウムイオンの濃度分布の偏りに起因したバッテリの内部抵抗が上昇した状態であるハイレート劣化が解消するまでの時間が経過するまでは当該バッテリの充電が開始されない。その結果、ハイレート劣化に起因したバッテリの劣化を抑制することができる。
【0010】
充電装置は、当該バッテリが接続されたとしても、特定時間が経過するまでは当該バッテリの充電を開始させないようにしてもよい。
(【0011】以降は省略されています)
この特許をJ-PlatPat(特許庁公式サイト)で参照する
関連特許
トヨタ自動車株式会社
車両
21日前
トヨタ自動車株式会社
車両
今日
トヨタ自動車株式会社
配管
21日前
トヨタ自動車株式会社
方法
5日前
トヨタ自動車株式会社
電池
20日前
トヨタ自動車株式会社
車両
6日前
トヨタ自動車株式会社
車両
20日前
トヨタ自動車株式会社
電池
12日前
トヨタ自動車株式会社
電池
12日前
トヨタ自動車株式会社
電動車
20日前
トヨタ自動車株式会社
ロータ
21日前
トヨタ自動車株式会社
タンク
5日前
トヨタ自動車株式会社
電動車
21日前
トヨタ自動車株式会社
蓄電装置
12日前
トヨタ自動車株式会社
反応容器
20日前
トヨタ自動車株式会社
車両装置
12日前
トヨタ自動車株式会社
蓄電装置
12日前
トヨタ自動車株式会社
蓄電装置
20日前
トヨタ自動車株式会社
蓄電装置
12日前
トヨタ自動車株式会社
蓄電装置
12日前
トヨタ自動車株式会社
蓄電装置
20日前
トヨタ自動車株式会社
制御装置
5日前
トヨタ自動車株式会社
塗工装置
12日前
トヨタ自動車株式会社
制御装置
5日前
トヨタ自動車株式会社
エンジン
20日前
トヨタ自動車株式会社
蓄電装置
12日前
トヨタ自動車株式会社
蓄電装置
20日前
トヨタ自動車株式会社
判定装置
20日前
トヨタ自動車株式会社
制御装置
20日前
トヨタ自動車株式会社
エンジン
21日前
トヨタ自動車株式会社
処理装置
12日前
トヨタ自動車株式会社
蓄電装置
12日前
トヨタ自動車株式会社
蓄電装置
12日前
トヨタ自動車株式会社
蓄電装置
12日前
トヨタ自動車株式会社
蓄電装置
12日前
トヨタ自動車株式会社
蓄電装置
12日前
続きを見る
他の特許を見る