TOP
|
特許
|
意匠
|
商標
特許ウォッチ
Twitter
他の特許を見る
10個以上の画像は省略されています。
公開番号
2025168637
公報種別
公開特許公報(A)
公開日
2025-11-11
出願番号
2025006800
出願日
2025-01-17
発明の名称
機械学習を使用した車両パフォーマンスの最適化のためのシステム及び方法
出願人
トヨタ自動車株式会社
代理人
個人
,
個人
,
個人
,
個人
,
個人
,
個人
,
個人
主分類
G06Q
50/40 20240101AFI20251104BHJP(計算;計数)
要約
【課題】エンドユーザが操作するのにシンプルでありつつ、機械学習を実装することができる車両パフォーマンス最適化システムについてのニーズが存在する。
【解決手段】車両のパフォーマンスを最適化するための方法、システム及び装置が提供される。本方法は、車両を動作させる前に車両状態データを受信するステップと、車両状態データに基づいて機械学習(ML)モデルのための入力データを生成するステップであって、MLモデルは、車両状態データに基づいて、予測される車両パフォーマンス又は車両パラメータの少なくとも一方を出力するように構成される、ステップと、MLモデルによって、最適化された車両パラメータを入力データに基づいて提案するステップと、最適された車両パラメータに基づいて、車両をチューニングする指示を送信するステップとを含む。
【選択図】図2
特許請求の範囲
【請求項1】
車両のパフォーマンスを最適化するためにプロセッサによって実行される方法であって、
前記車両を動作させる前に車両状態データを受信するステップと、
前記車両状態データに基づいて機械学習(ML)モデルのための入力データを生成するステップであって、前記MLモデルは、前記車両状態データに基づいて、予測される車両パフォーマンス又は車両パラメータの少なくとも一方を出力するように構成される、ステップと、
前記MLモデルに基づいて、最適化された車両パラメータを前記入力データに基づいて取得するステップと、
前記最適された車両パラメータに基づいて、前記車両をチューニングする指示を送信するステップと
を含む、方法。
続きを表示(約 2,000 文字)
【請求項2】
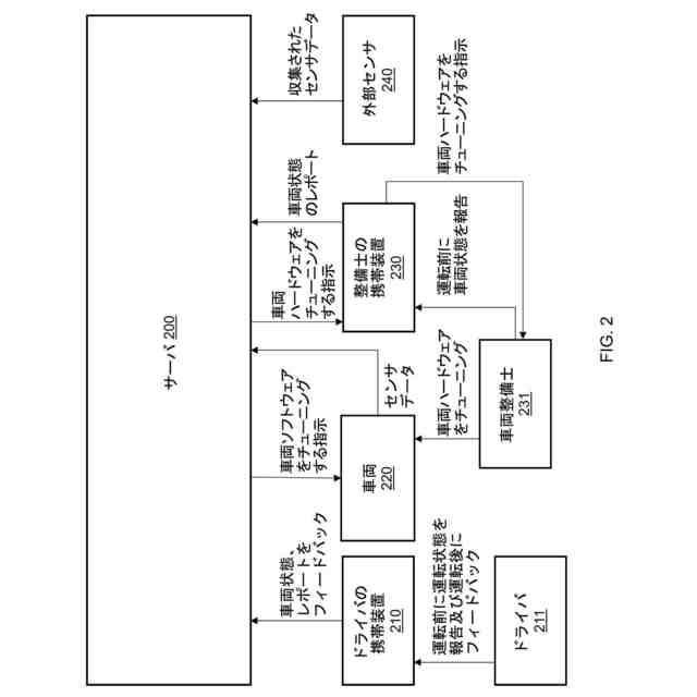
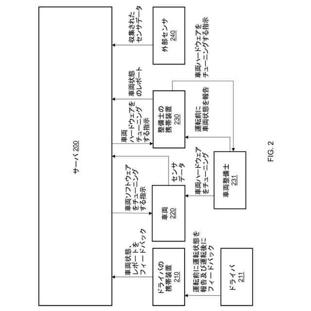
前記車両状態データは、車両ドライバの状態を示す、前記車両ドライバからの第1のレポートと、前記車両の状態を示す、車両整備士からの第2のレポートとを含み、前記MLモデルのための入力データを生成するステップは、大規模言語モデル(LLM)を使用して前記第1のレポート及び前記第2のレポートを機械可読パラメータに変換するステップを含む、請求項1に記載の方法。
【請求項3】
前記最適化された車両パラメータを取得するステップは、チャットインタフェースを介して前記ドライバ及び前記車両整備士の少なくとも一方と対話するステップであって、前記チャットインタフェースは、前記予測される車両パフォーマンスに基づいて、最適化された車両状態と、最適化された車両パラメータとを前記LLMから反復的に提案するように構成される、ステップを含む、請求項2に記載の方法。
【請求項4】
前記車両をチューニングする指示を送信するステップは、
前記車両のソフトウェア関連パラメータをチューニングする第1の指示を前記車両の電子制御ユニット(ECU)に送信するステップと、
前記車両のハードウェア関連パラメータをチューニングする第2の指示を前記車両整備士に送信するステップであって、前記第2の指示は前記LLMを使用して指示マニュアルとして生成される、ステップと
を含む、請求項2に記載の方法。
【請求項5】
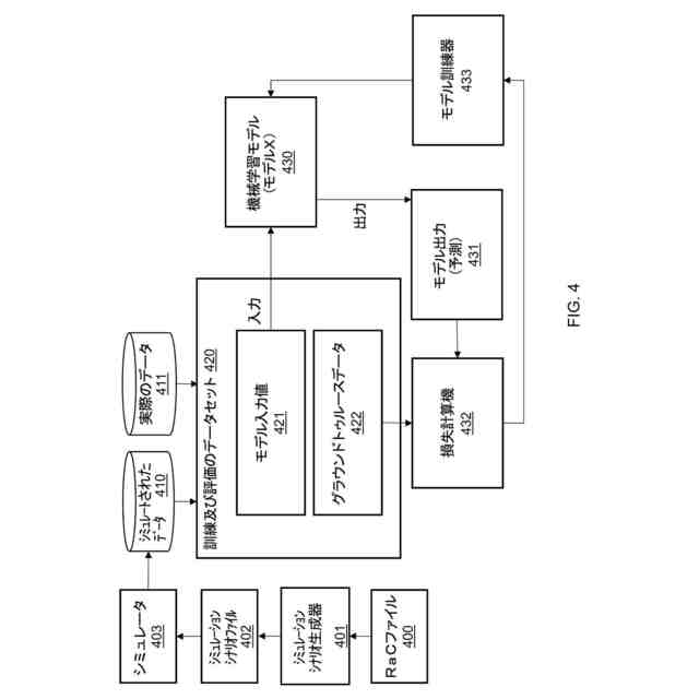
前記車両を動作させた後に車両パフォーマンスデータを受信するステップと、
前記LLMを使用して、前記車両パフォーマンスデータに基づいてコードとしての要件(RaC)ファイルを生成するステップと、
前記RaCファイルに基づいて、シミュレートされた車両データを生成するステップと、
前記シミュレートされた車両データに基づいて前記MLモデルを訓練するステップと
を更に含む、請求項4に記載の方法。
【請求項6】
前記MLモデルを訓練するステップは前記車両パフォーマンスデータからの実際の車両データに更に基づき、前記車両パフォーマンスデータは、前記車両ドライバからのフィードバックと、前記車両からのセンサデータと、前記車両整備士からのフィードバックとを含み、前記実際の車両データは前記センサデータに対応する、請求項5に記載の方法。
【請求項7】
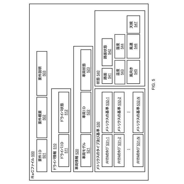
前記RaCファイルは、
前記RaCファイルを識別するファイル識別子と、
前記車両ドライバと前記車両ドライバの状態とを識別するドライバ情報と、
前記車両モデルと前記車両の状態とを識別する車両情報と、
前記車両のパフォーマンスに関する一つ以上のメトリクスと、前記一つ以上のメトリクスを満たすための基準とを定義するメトリクス情報と、
前記車両の動作中の環境状態と
を含む、請求項6に記載の方法。
【請求項8】
シミュレートされた車両データ及び/又は前記実際の車両データに基づいて前記MLモデルを評価するステップと、
前記MLモデルが前記RaCファイルにおける前記一つ以上のメトリクスを満たすと評価したことに基づいて、前記訓練されたMLモデルをデプロイするステップと
を更に含む、請求項7に記載の方法。
【請求項9】
車両のパフォーマンスを最適化するための機器であって、
コンピュータ実行可能命令を記憶する少なくとも一つのメモリと、
少なくとも一つのプロセッサであって、前記コンピュータ実行可能命令を実行して、
前記車両を動作させる前に車両状態データを受信するステップと、
前記車両状態データに基づいて機械学習(ML)モデルのための入力データを生成するステップであって、前記MLモデルは、前記車両状態データに基づいて、予測される車両パフォーマンス又は車両パラメータの少なくとも一方を出力するように構成される、ステップと、
前記MLモデルに基づいて、最適化された車両パラメータを前記入力データに基づいて取得するステップと、
前記最適された車両パラメータに基づいて、前記車両をチューニングする指示を送信するステップと
を実行するように構成された、少なくとも一つのプロセッサと
を備える、機器。
【請求項10】
前記車両状態データは、車両ドライバの状態を示す、前記車両ドライバからの第1のレポートと、前記車両の状態を示す、車両整備士からの第2のレポートとを含み、前記少なくとも一つのプロセッサは、大規模言語モデル(LLM)を使用して前記第1のレポート及び前記第2のレポートを機械可読パラメータに変換することによって前記MLモデルのための入力データを生成するように構成される、請求項9に記載の機器。
(【請求項11】以降は省略されています)
発明の詳細な説明
【技術分野】
【0001】
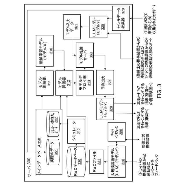
本開示の例示的な実施形態と整合したシステム及び方法は、機械学習技術を使用した車両パフォーマンスの最適化に関する。
続きを表示(約 2,000 文字)
【背景技術】
【0002】
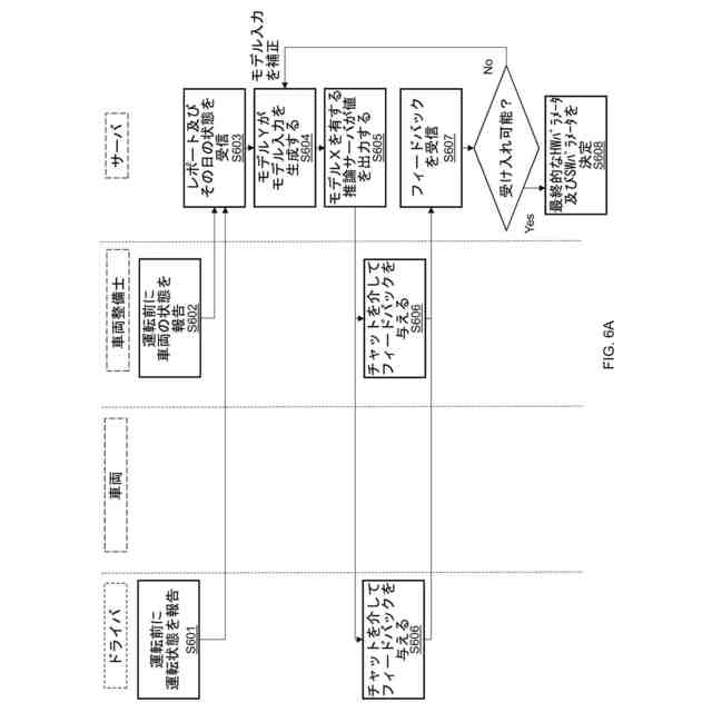
関連技術において、車両オペレータ及び車両整備士は、車両をチューニングして車両動作のパフォーマンスを最適化するために(例えば、車両の加速時間、エンジン安定性等を改善するために)、一緒に働くことがある。特に、モータスポーツのための車両動作の場合、車両オペレータは、レース場の現在の状態(例えば、路面のタイプ、路面状態、天候、温度、湿度、風向き、風速等)並びに主観的なパフォーマンスの詳細(速度、安定性等)に基づいて、車両のパフォーマンスに関するフィードバックを提供することができる。車両に実装されうるセンサ(例えば、速度計、カメラ等)がフィードバックを自動的に提供することができる。車両整備士は、このフィードバックに基づいて解釈し、それに応じて車両に対するチューニング調整(例えば、電子制御ユニット(ECU)に対するソフトウェアベースの調整、又は(サスペンション、タイヤ圧等のような)車両の物理的な部品に対するハードウェアベースの調整)を行う。その後、車両パフォーマンスを最終的に最適化できるように、車両オペレータが車両整備士にフィードバックを提供するプロセスが繰り返される。
【0003】
関連技術は、データの人間による解釈を必要とするため、消耗的である。例えば、車両整備士は、データを誤って解釈し、誤ったチューニング調整を提案する可能性があり、車両オペレータがフィードバックを提供する次の反覆までチューニング調整が誤っていたことが確認されない場合がある。このことは、最適な車両パフォーマンスを実現するために必要とされる過剰な時間をもたらすことがある。
【0004】
車両のパフォーマンスを最適化するためにソフトウェアモデリングを実装することが考えられるが、これは、機械学習(ML)モデルを実装せず、特に大規模言語モデル(LLM)を含まない。さらに、斯かるソフトウェアモデリングでは、技術的なソフトウェアの知識が必要とされるので、車両オペレータ又は車両整備士が使用方法を理解することが困難である。
【0005】
関連技術では、物理的及び機械的な現象を繰り返しシミュレートすることによって最良のチューニング調整を探索するためにルールベースのシミュレーションソフトウェアが使用されるが、これは、大きな計算資源及び計算時間を必要とし、入力データから最適なチューニング調整をタイムリーに取得することを困難にする。
【0006】
したがって、エンドユーザが操作するのにシンプルでありつつ、機械学習を実装することができる車両パフォーマンス最適化システムについてのニーズが存在する。
【発明の概要】
【0007】
一つ以上の例示的な実施形態によれば、車両のパフォーマンスを最適化するための機器及び方法が提供される。特に、例示的な実施形態に係る機器及び方法は、車両を動作させる前に車両状態データを受信するステップと、車両状態データに基づいて機械学習(ML)モデルのための入力データを生成するステップであって、MLモデルは、車両状態データに基づいて、予測される車両パフォーマンス又は車両パラメータの少なくとも一方を出力するように構成される、ステップと、MLモデルに基づいて、最適化された車両パラメータを入力データに基づいて取得するステップと、最適された車両パラメータに基づいて、車両をチューニングする指示を送信するステップとを実行する。
【0008】
実施形態によれば、車両状態データは、車両ドライバの状態を示す、車両ドライバからの第1のレポートと、車両の状態を示す、車両整備士からの第2のレポートとを含み、MLモデルのための入力データを生成するステップは、大規模言語モデル(LLM)を使用して第1のレポート及び第2のレポートを機械可読パラメータに変換するステップを含む。
【0009】
実施形態によれば、最適化された車両パラメータを取得するステップは、チャットインタフェースを介してドライバ及び車両整備士の少なくとも一方と対話するステップであって、チャットインタフェースは、予測される車両パフォーマンスに基づいて、最適化された車両状態と、最適化された車両パラメータとをLLMから反復的に提案するように構成される、ステップを含む。
【0010】
車両をチューニングする指示を送信するステップは、車両のソフトウェア関連パラメータをチューニングする第1の指示を車両の電子制御ユニット(ECU)に送信するステップと、車両のハードウェア関連パラメータをチューニングする第2の指示を車両整備士に送信するステップであって、第2の指示はLLMを使用して指示マニュアルとして生成される、ステップとを含む。
(【0011】以降は省略されています)
特許ウォッチbot のツイートを見る
この特許をJ-PlatPat(特許庁公式サイト)で参照する
関連特許
個人
詐欺保険
1か月前
個人
縁伊達ポイン
1か月前
個人
職業自動販売機
24日前
個人
5掛けポイント
1か月前
個人
RFタグシート
1か月前
個人
QRコードの彩色
1か月前
個人
ペルソナ認証方式
1か月前
個人
情報処理装置
1か月前
個人
自動調理装置
1か月前
個人
立体グラフの利用方法
3日前
個人
残土処理システム
2か月前
個人
農作物用途分配システム
1か月前
個人
知的財産出願支援システム
2か月前
個人
サービス情報提供システム
26日前
個人
タッチパネル操作指代替具
1か月前
NISSHA株式会社
入力装置
4日前
個人
インターネットの利用構造
1か月前
個人
携帯端末障害問合せシステム
1か月前
個人
スケジュール調整プログラム
1か月前
個人
学習用データ生成装置
5日前
個人
エリアガイドナビAIシステム
1か月前
キヤノン株式会社
画像認識装置
18日前
株式会社ワコム
電子ペン
1か月前
株式会社ワコム
電子ペン
1か月前
キヤノン株式会社
情報処理装置
18日前
キヤノン株式会社
印刷システム
1か月前
キラル株式会社
顧客体験提供システム
6日前
株式会社ケアコム
項目選択装置
1か月前
個人
音声・通知・再配達UX制御構造
2か月前
キヤノン株式会社
情報処理装置
18日前
トヨタ自動車株式会社
通知装置
1か月前
エッグス株式会社
情報処理装置
1か月前
株式会社ケアコム
項目選択装置
1か月前
個人
帳票自動生成型SaaSシステム
2か月前
キヤノン株式会社
情報処理装置
1か月前
株式会社アジラ
行動推定システム
18日前
続きを見る
他の特許を見る