TOP
|
特許
|
意匠
|
商標
特許ウォッチ
Twitter
他の特許を見る
10個以上の画像は省略されています。
公開番号
2025170150
公報種別
公開特許公報(A)
公開日
2025-11-14
出願番号
2025153460,2024114907
出願日
2025-09-16,2021-08-03
発明の名称
半導体装置およびその製造方法
出願人
株式会社デンソー
,
トヨタ自動車株式会社
,
株式会社ミライズテクノロジーズ
代理人
弁理士法人ゆうあい特許事務所
主分類
H10D
30/66 20250101AFI20251107BHJP()
要約
【課題】フィールド絶縁膜の絶縁破壊を抑制しつつ、ゲート引出部が途切れてしまうことを抑制できる構造の半導体装置を提供する。
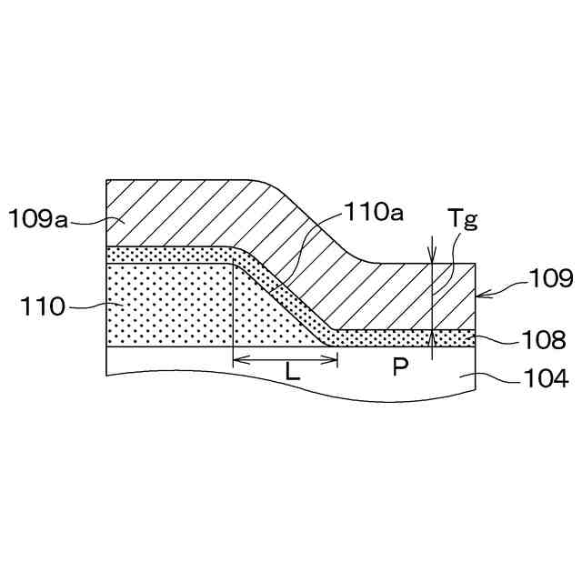
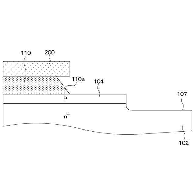
【解決手段】ゲート電極109から引き出され、アクティブ領域Raから外周領域Rbに至ることで、フィールド絶縁膜110における端部110aに乗り上げて形成されたゲート引出部109aを有している。そして、ゲート引出部109aが乗り上げて形成されるフィールド絶縁膜110の端部110aは、アクティブ領域Raから外周領域Rbに向かうほどフィールド絶縁膜110の厚みが徐々に厚くなるように傾斜させられている。
【選択図】図3
特許請求の範囲
【請求項1】
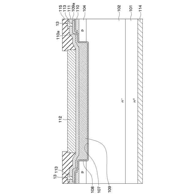
スイッチング素子が形成されたアクティブ領域(Ra)と、該アクティブ領域の外周を囲む外周領域(Rb)およびパッド(12a~12d)が配置されるパッド配置領域(Rc)を有する半導体装置であって、
前記アクティブ領域に、一方向を長手方向としたゲート電極(109)を有する前記スイッチング素子が形成された半導体基板(101~106)と、
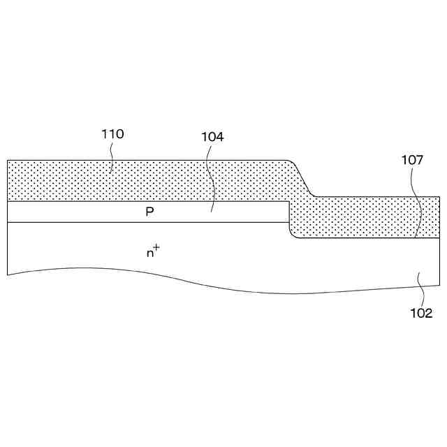
前記外周領域および前記パッド配置領域において、前記半導体基板の上に形成されていると共に、前記ゲート電極の長手方向と交差する方向に伸びる端部(110a)を有するフィールド絶縁膜(110)と、
前記ゲート電極から引き出され、前記アクティブ領域から前記外周領域に至ることで、前記フィールド絶縁膜における前記端部に乗り上げて形成されたゲート引出部(109a)と、
前記パッド配置領域に配置される前記パッドに含まれ、前記ゲート引出部を通じて前記ゲート電極に接続されたゲートパッド(12d)と、を有し、
前記ゲート引出部が乗り上げて形成される前記フィールド絶縁膜の端部は、前記アクティブ領域から前記外周領域に向かうほど該フィールド絶縁膜の厚みが徐々に厚くなるように傾斜させられており、
前記パッド配置領域に配置される前記フィールド絶縁膜は、前記アクティブ領域に沿って伸びる端部を有し、該アクティブ領域に沿って伸びる端部は、フィールド絶縁膜の厚み方向に対して傾斜していない、半導体装置。
続きを表示(約 230 文字)
【請求項2】
前記ゲート引出部が乗り上げて形成される前記フィールド絶縁膜の端部は、斜めに傾斜させられた傾斜面とされている、請求項1に記載の半導体装置。
【請求項3】
前記ゲート引出部が乗り上げて形成される前記フィールド絶縁膜の端部は、階段状に傾斜させられている、請求項1に記載の半導体装置。
【請求項4】
前記ゲート電極の厚みが前記フィールド絶縁膜の厚みよりも薄くなっている、請求項1ないし3のいずれか1つに記載の半導体装置。
発明の詳細な説明
【技術分野】
【0001】
本発明は、ゲート電極を有するスイッチング素子を備えた半導体装置およびその製造方法に関するものである。
続きを表示(約 2,200 文字)
【背景技術】
【0002】
従来、特許文献1において、スイッチング時に発生する高電圧に起因してゲート絶縁膜が破壊されることを抑制する技術が開示されている。
【0003】
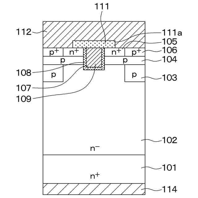
MOSFETをオン状態からオフ状態にスイッチングするときには、p型ベース領域とn型ドリフト層との間の容量に相当する電流がソース-ドレイン間に流れる。この電流は、ドレイン電圧の時間変化が大きいほど、つまりdV/dtが大きいほど大きくなる。この電流は、ソース電極側では、p型ベース領域やp
+
型コンタクト領域が形成された領域を流れることになるが、p型ベース領域やp
+
型コンタクト領域の抵抗値が高いと、電流の大きさに比例してp型ベース領域やp
+
型コンタクト領域の電位が持ち上がる。つまり、ゲート電圧が0Vの状態に対して、p型ベース領域やp
+
型コンタクト領域の電位がそれよりも高い電位になる。この電位の持ち上がりによって、ゲート絶縁膜に高電圧が掛かり、ゲート絶縁膜が破壊され得る。このため、特許文献1では、ソースコンタクトホールの位置を工夫し、フィールド絶縁膜を貫通するソースコンタクトホールを設けた構造とすることで、ゲート絶縁膜に印加される電界強度を小さくし、ゲート絶縁膜の破壊を抑制している。
【先行技術文献】
【特許文献】
【0004】
特開2017-5278号公報
【発明の概要】
【発明が解決しようとする課題】
【0005】
半導体装置の構造やスイッチング条件によっては、上記の電位の持ち上がりによってゲート絶縁膜だけでなく、半導体表面に形成されたフィールド絶縁膜も破壊するほど、フィールド絶縁膜の上下間に電位差が発生することがある。つまり、ゲート電極のうちフィールド絶縁膜上に配置される部分、具体的にはゲート電極のうちのゲートライナーの一部を構成するゲート引出部と半導体表面との間に電位差が発生し得る。フィールド絶縁膜の破壊を抑制するにはフィールド絶縁膜の厚膜化が有効であるが、半導体装置のレイアウト上、ゲート電極の端部からフィールド絶縁膜上に乗り上げるようにしてゲート引出部が配置される。このため、フィールド絶縁膜が厚いとゲート引出部を含むゲート電極の形成時に段差部でゲート引出部が薄くなり、段切れ、つまり途切れてしまう可能性がある。
【0006】
本発明は上記点に鑑みて、フィールド絶縁膜の絶縁破壊を抑制しつつ、ゲート引出部が途切れてしまうことを抑制できる構造の半導体装置およびその製造方法を提供することを目的とする。
【課題を解決するための手段】
【0007】
上記目的を達成するため、請求項1に記載の発明は、スイッチング素子が形成されたアクティブ領域(Ra)と、該アクティブ領域の外周を囲む外周領域(Rb)およびパッド(12a~12d)が配置されるパッド配置領域(Rc)を有する半導体装置であって、アクティブ領域に、一方向を長手方向としたゲート電極(109)を有するスイッチング素子が形成された半導体基板(101~106)と、外周領域およびパッド配置領域において、半導体基板の上に形成されていると共に、ゲート電極の長手方向と交差する方向に伸びる端部(110a)を有するフィールド絶縁膜(110)と、ゲート電極から引き出され、アクティブ領域から外周領域に至ることで、フィールド絶縁膜における端部に乗り上げて形成されたゲート引出部(109a)と、パッド配置領域に配置されるパッドに含まれ、ゲート引出部を通じてゲート電極に接続されたゲートパッド(12d)と、を有している。そして、ゲート引出部が乗り上げられたフィールド絶縁膜の端部は、アクティブ領域から外周領域に向かうほど該フィールド絶縁膜の厚みが徐々に厚くなるように傾斜させられており、パッド配置領域に配置されるフィールド絶縁膜は、アクティブ領域に沿って伸びる端部を有し、該アクティブ領域に沿って伸びる端部は、フィールド絶縁膜の厚み方向に対して傾斜していない。
【0008】
このように、ゲート引出部の下に位置しているフィールド絶縁膜の端部について、そのフィールド絶縁膜の端部が傾斜させられた状態になっている。このため、フィールド絶縁膜の端部の段差部においてゲート引出部が薄くなることが抑制される。これにより、ゲート引出部がフィールド絶縁膜の端部の段差によって段切れすることを抑制できる。このため、フィールド絶縁膜を絶縁破壊されない膜厚としつつも、ゲート引出部が途切れてしまうことを抑制できる構造の半導体装置にできる。
【0009】
また、請求項1に記載の発明では、パッド配置領域に配置されるフィールド絶縁膜は、アクティブ領域に沿って伸びる端部を有し、該アクティブ領域に沿って伸びる端部は、フィールド絶縁膜の厚み方向に対して傾斜していない。
【0010】
このように、パッド配置領域に配置されるフィールド絶縁膜のアクティブ領域に沿って伸びる端部については、ゲート引出部の乗り上げがない。このため、当該端部をフィールド絶縁膜の厚み方向に対して傾斜していない構造、つまりフィールド絶縁膜の厚み方向に沿った方向とすることができる。
(【0011】以降は省略されています)
この特許をJ-PlatPat(特許庁公式サイト)で参照する
関連特許
株式会社デンソー
ロータ
5日前
株式会社デンソー
ロータ
5日前
株式会社デンソー
回転電機
3日前
株式会社デンソー
整流回路
3日前
株式会社デンソー
レーダ装置
4日前
株式会社デンソー
音低減装置
3日前
株式会社デンソーエレクトロニクス
電磁継電器
4日前
株式会社デンソー
電子制御装置
3日前
株式会社デンソー
セル制御システム
3日前
株式会社デンソーウェーブ
投入品管理用装置
3日前
株式会社デンソー
冷凍サイクル装置
3日前
株式会社デンソー
ロータ及びコンプレッサ
5日前
株式会社デンソー
車両制御装置、車両制御方法
3日前
株式会社デンソー
電力変換モジュール及び電力変換装置
4日前
株式会社デンソーテン
画像処理装置および画像処理プログラム
4日前
株式会社デンソーテン
通知装置、情報処理装置およびプログラム
3日前
株式会社デンソー
通信システム、トラフィック情報の収集方法
4日前
トヨタ自動車株式会社
降車支援装置及びプログラム
3日前
株式会社デンソー
電界効果トランジスタ
5日前
株式会社デンソーテン
画像処理装置、情報処理システム、情報処理方法、および、プログラム
3日前
株式会社デンソー
レーダシステム、レーダ制御装置、レーダ制御方法、レーダ制御プログラム
4日前
トヨタ自動車株式会社
牽引バー推定装置、牽引バー推定方法及びプログラム
3日前
株式会社デンソーテン
スマートキーシステム、車載装置、スマートキー、および、スマートキーシステムの制御方法
4日前
株式会社デンソー
モビリティサービス提供システム、車両アクセス制御方法、プログラム
5日前
個人
積和演算用集積回路
1か月前
サンケン電気株式会社
半導体装置
1か月前
日機装株式会社
半導体発光装置
26日前
ローム株式会社
半導体装置
10日前
三菱電機株式会社
半導体装置
18日前
三菱電機株式会社
半導体装置
5日前
三菱電機株式会社
半導体装置
1か月前
株式会社東芝
半導体装置
18日前
株式会社半導体エネルギー研究所
表示装置
10日前
ローム株式会社
半導体集積回路
1か月前
サンケン電気株式会社
半導体装置
18日前
ローム株式会社
半導体装置
1か月前
続きを見る
他の特許を見る