TOP
|
特許
|
意匠
|
商標
特許ウォッチ
Twitter
他の特許を見る
10個以上の画像は省略されています。
公開番号
2025176486
公報種別
公開特許公報(A)
公開日
2025-12-04
出願番号
2024082667
出願日
2024-05-21
発明の名称
画像処理装置および画像処理プログラム
出願人
株式会社デンソーテン
代理人
弁理士法人酒井国際特許事務所
主分類
G06V
20/56 20220101AFI20251127BHJP(計算;計数)
要約
【課題】夜間シーンの判定精度を向上させること。
【解決手段】本発明に係る画像処理装置は、コントローラを有し、コントローラは、車載カメラで撮影されたカメラ画像から信号機が存在する信号領域を抽出し、信号領域の発光領域と無発光領域とを決定し、発光領域と無発光領域それぞれの輝度と彩度が夜間の輝度特性および彩度特性に該当する場合に、夜間シーンと判定する。
【選択図】図4
特許請求の範囲
【請求項1】
コントローラを有し、
前記コントローラは、
車載カメラで撮影されたカメラ画像から信号機が存在する信号領域を抽出し、
前記信号領域の発光領域と無発光領域とを決定し、
前記発光領域と前記無発光領域それぞれの輝度と彩度が夜間の輝度特性および彩度特性に該当する場合に、夜間シーンと判定する
画像処理装置。
続きを表示(約 1,000 文字)
【請求項2】
前記コントローラは、
前記信号領域から輝度が閾値以上となる高輝度領域と、彩度が閾値以上となる高彩度領域とを抽出し、
前記高輝度領域のバラつきと、前記高彩度領域のバラつきとのうち、バラつきが小さい領域を基に前記信号領域の発光中心を設定し、
前記発光中心に基づいて、前記発光領域と前記無発光領域とを決定する
請求項1に記載の画像処理装置。
【請求項3】
前記コントローラは、
前記発光領域の平均輝度が閾値よりも高く、前記無発光領域の平均輝度が閾値よりも低い場合に、前記夜間シーンと判定する
請求項1に記載の画像処理装置。
【請求項4】
前記コントローラは、
前記発光領域の輝度が最も高い最高輝度の値に応じて、前記平均輝度に対する閾値を設定する
請求項3に記載の画像処理装置。
【請求項5】
前記コントローラは、
前記発光領域の平均彩度が閾値よりも低く、前記無発光領域の平均彩度が閾値よりも高い場合に、夜間シーンと判定する
請求項1に記載の画像処理装置。
【請求項6】
前記コントローラは、
前記発光領域の彩度が最も高い最高彩度の値に応じて、前記平均彩度に対する閾値を設定する
請求項5に記載の画像処理装置。
【請求項7】
前記コントローラは、
前記発光領域と前記無発光領域それぞれの輝度と彩度が昼間の輝度特性および彩度特性に該当する場合には、昼間シーンと判定し、前記夜間シーンまたは前記昼間シーンのいずれにも該当しない場合には、該当なしと判定する
請求項1に記載の画像処理装置。
【請求項8】
前記コントローラは、
次回の夜間シーンの判定を行うまで今回の判定結果を保持する
請求項1に記載の画像処理装置。
【請求項9】
車載カメラで撮影されたカメラ画像から信号機が存在する信号領域を抽出する抽出手順と、
前記信号領域の発光領域と無発光領域とを決定する決定手順と、
前記発光領域と前記無発光領域それぞれの輝度と彩度が特定の輝度特性および彩度特性が夜間の輝度特性および彩度特性に該当する場合に、夜間シーンと判定する判定手順と
をコンピュータに実行させる画像処理プログラム。
発明の詳細な説明
【技術分野】
【0001】
本発明は、画像処理装置および画像処理プログラムに関する。
続きを表示(約 1,400 文字)
【背景技術】
【0002】
従来、車載カメラによって撮影された画像データから撮影環境を判定する技術がある。特許文献1には、画像データに対して天空領域と地面領域とを設定し、それぞれの輝度値のヒストグラムに基づいて、夜間シーンを判定する技術が開示されている。
【先行技術文献】
【特許文献】
【0003】
特開2008-165743号公報
【発明の概要】
【発明が解決しようとする課題】
【0004】
しかしながら、従来技術は、夜間において周囲に街灯がある場合、周囲の光源の状況によっては周囲の光源がノイズとなるので夜間シーンの判定精度が低下する恐れがあった。そのため、従来技術では、夜間シーンの判定精度を向上させるうえで改善の余地があった。
【0005】
本発明は、上記に鑑みてなされたものであって、夜間シーンの判定精度を向上させることができる画像処理装置および画像処理プログラムを提供することを目的とする。
【課題を解決するための手段】
【0006】
上述した課題を解決し、目的を達成するために、本発明に係る画像処理装置は、コントローラを有し、前記コントローラは、車載カメラで撮影されたカメラ画像から信号機が存在する信号領域を抽出し、信号領域の発光領域と無発光領域とを決定し、発光領域と無発光領域それぞれの輝度と彩度が夜間の輝度特性および彩度特性に該当する場合に、夜間シーンと判定する。
【発明の効果】
【0007】
本発明によれば、自ら発光する信号機を基に夜間シーンを判定するため、周囲の光源によるノイズの影響を抑えることができるので、夜間シーンの判定精度を向上させることができる。
【図面の簡単な説明】
【0008】
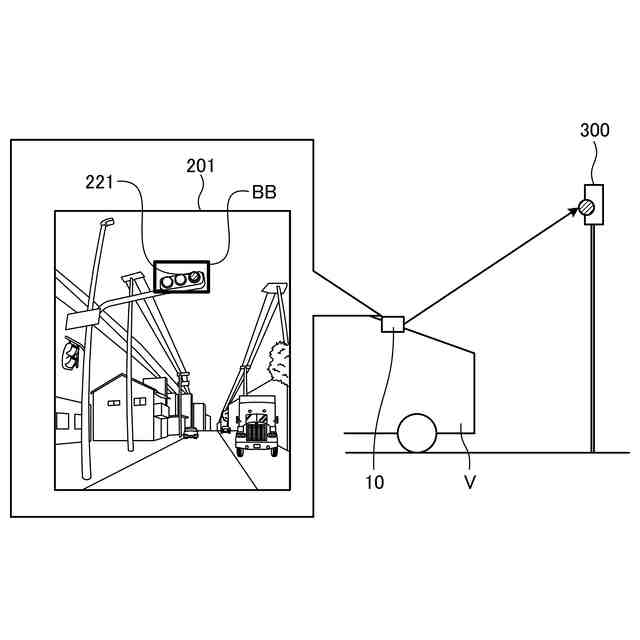
図1は、画像処理装置の搭載例を示す図である。
図2は、画像処理装置による処理フローの概要説明図である。
図3は、発光領域および無発光領域の説明図である。
図4は、画像処理装置による判定ロジックの説明図である。
図5は、画像処理装置のブロック図である。
図6は、設定画像の模式図である。
図7は、設定画像の模式図である。
図8は、色判定閾値の一例を示す図である。
図9は、各信号色における発光領域および無発光領域の模式図である。
図10は、平均輝度および平均彩度の説明図である。
図11は、発光領域の分別条件の一例を示す図である。
図12は、無発光領域の分別条件の一例を示す図である。
図13は、画像処理装置が実行する処理手順を示すフローチャートである。
【発明を実施するための形態】
【0009】
以下、添付図面を参照して、本願の開示する画像処理装置および画像処理プログラムについて説明する。なお、以下に示す実施形態により本発明が限定されるものではない。
【0010】
まず、図1~図4を用いて、実施形態に係る画像処理装置による処理の概要について説明する。図1は、画像処理装置の搭載例を示す図である。図2は、画像処理装置による処理フローの概要説明図である。図3は、発光領域および無発光領域の説明図である。図4は、画像処理装置による判定ロジックの説明図である。
(【0011】以降は省略されています)
この特許をJ-PlatPat(特許庁公式サイト)で参照する
関連特許
株式会社デンソーテン
貼り合わせ装置および貼り合わせ方法
9日前
株式会社デンソーテン
画像処理装置および画像処理プログラム
3日前
株式会社デンソーテン
電源制御装置および電源制御プログラム
17日前
株式会社デンソーテン
通知装置、情報処理装置およびプログラム
2日前
株式会社デンソーテン
車両制御装置、車両、および、異常検知方法
9日前
株式会社デンソーテン
検知装置、検知方法、プログラム及び検知システム
9日前
株式会社デンソーテン
車両検知装置、車両検知方法、及び車両検知プログラム
9日前
株式会社デンソーテン
学習方法、学習装置、学習プログラム、および、学習データ生成方法
9日前
株式会社デンソーテン
画像処理装置、情報処理システム、情報処理方法、および、プログラム
2日前
株式会社デンソーテン
感情推定装置、感情推定方法、感情推定プログラムおよび感情推定システム
9日前
株式会社デンソーテン
情報処理装置、情報処理方法、情報処理プログラム、感情推定装置、及び運転支援システム
9日前
株式会社デンソーテン
スマートキーシステム、車載装置、スマートキー、および、スマートキーシステムの制御方法
3日前
個人
詐欺保険
1か月前
個人
縁伊達ポイン
1か月前
個人
5掛けポイント
1か月前
個人
RFタグシート
1か月前
個人
職業自動販売機
23日前
個人
QRコードの彩色
1か月前
個人
ペルソナ認証方式
1か月前
個人
地球保全システム
2か月前
個人
情報処理装置
1か月前
個人
自動調理装置
1か月前
個人
立体グラフの利用方法
2日前
個人
農作物用途分配システム
1か月前
個人
残土処理システム
2か月前
個人
インターネットの利用構造
1か月前
個人
知的財産出願支援システム
2か月前
個人
タッチパネル操作指代替具
1か月前
個人
サービス情報提供システム
25日前
NISSHA株式会社
入力装置
3日前
個人
学習用データ生成装置
4日前
個人
スケジュール調整プログラム
1か月前
個人
携帯端末障害問合せシステム
1か月前
個人
食品レシピ生成システム
2か月前
株式会社キーエンス
受発注システム
2か月前
株式会社キーエンス
受発注システム
2か月前
続きを見る
他の特許を見る