TOP
|
特許
|
意匠
|
商標
特許ウォッチ
Twitter
他の特許を見る
10個以上の画像は省略されています。
公開番号
2025176050
公報種別
公開特許公報(A)
公開日
2025-12-03
出願番号
2025139849,2023531989
出願日
2025-08-25,2022-06-28
発明の名称
モビリティサービス提供システム、車両アクセス制御方法、プログラム
出願人
株式会社デンソー
代理人
名古屋国際弁理士法人
主分類
G08G
1/00 20060101AFI20251126BHJP(信号)
要約
【課題】モビリティサービス提供システム、車両アクセス制御方法及びプログラムを提供する。
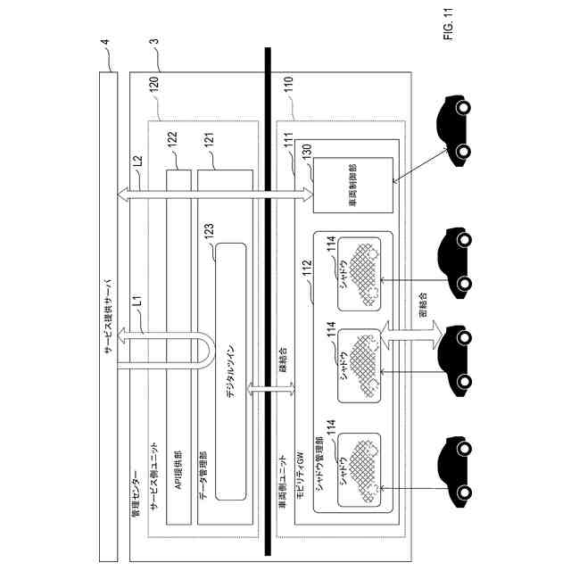
【解決手段】方法は、モビリティサービス基盤サーバ(管理センター3)を利用した車両へのサービスを提供するサービス提供サーバ4から、インタフェース部(API提供部122)が、車両に対する車載機器の動作を要求するアクセス要求を受け付けた場合、アクセスの対象となる車両である対象車両に搭載された車載機との無線通信を行うことで、対象車両へのアクセスを実行する。車両側ユニット110の車両制御部130は、車載機との間で送受信される制御指示に対して、中継制御を実行する。
【選択図】図11
特許請求の範囲
【請求項1】
車両と通信可能に構成されたモビリティサービス基盤サーバ(3)と、前記モビリティサービス基盤サーバと通信可能に構成され、前記モビリティサービス基盤サーバが提供する機能を利用した前記車両へのサービスを提供するサービス提供サーバ(4)と、を有するモビリティサービス提供システムであって、
前記モビリティサービス基盤サーバは、
前記車両に搭載された車載機から提供される車両データに基づいて、前記車両毎に生成され、特定の時刻における前記車両の状態を表す車両データ群であるシャドウを複数記憶する第1データベース(112)を有する車両側ユニット(110)と、
前記第1データベースに蓄積された前記シャドウのそれぞれに対応し、前記シャドウの検索に使用される情報を有するインデックスを記憶する第2データベース(121)、および前記サービス提供サーバからのアクセス要求を受け付けるように構成されたインタフェース部(122)を有するサービス側ユニット(120)と、
を備え、
前記車両側ユニットは、
前記インタフェース部が前記車両に対する車載機器の動作を要求する前記アクセス要求を受け付けた場合、アクセスの対象となる前記車両である対象車両に搭載された前記車載機との無線通信を行うことで、前記対象車両へのアクセスを実行するように構成された車両制御部(130)を更に備え、
前記車両制御部は、
前記車載機との間で送受信される制御指示に対して、中継制御を実行するように構成された
モビリティサービス提供システム。
続きを表示(約 1,900 文字)
【請求項2】
車両に搭載された車載機と、前記車両と通信可能に構成されたモビリティサービス基盤サーバと、前記モビリティサービス基盤サーバと通信可能に構成され、前記モビリティサービス基盤サーバが提供する機能を利用した前記車両へのサービスを提供するサービス提供サーバと、を備えるモビリティサービス提供システムであって、
前記モビリティサービス基盤サーバは、
前記車載機から提供される車両データに基づいて、前記車両毎に複数生成され、特定の時刻における前記車両の状態を表す車両データ群であるシャドウを複数記憶する第1データベースを有する車両側ユニットと、
前記第1データベースに蓄積された前記シャドウのそれぞれに対応し、前記シャドウの検索に使用される情報を有するインデックスを記憶する第2データベース、および前記サービス提供サーバからのアクセス要求を受け付けるように構成されたインタフェース部を有するサービス側ユニットと、
を備え、
前記車両側ユニットは、
前記インタフェース部が前記車両に対する車載機器の動作を要求する前記アクセス要求を受け付けた場合、アクセスの対象となる前記車両である対象車両に搭載された前記車載機との無線通信を行うことで、前記対象車両へのアクセスを実行するように構成された車両制御部を更に備え、
前記車両制御部は、
前記車載機との間で送受信される制御指示に対して、中継制御を実行するように構成され、
前記車載機は、前記制御指示を受信し、当該制御指示の内容を実行するように構成された
モビリティサービス提供システム。
【請求項3】
請求項1または請求項2に記載のモビリティサービス提供システムであって、
前記サービス側ユニットは、
前記第2データベースから前記インデックスを取得するように構成されたインデックス取得部(127)を有し、
前記車両側ユニットは、
前記インタフェース部が前記車両に対するデータの取得を要求する前記アクセス要求を受け付けた場合、前記インデックス取得部により取得された前記インデックスを用いて、前記第1データベースから前記車両データを取得するように構成されたデータ取得部(119)を有する
モビリティサービス提供システム。
【請求項4】
車両に搭載された車載機から提供される車両データに基づいて、前記車両毎に生成され、特定の時刻における前記車両の状態を表す車両データ群であるシャドウを複数記憶する第1データベースと、前記第1データベースに蓄積された前記シャドウのそれぞれに対応し、前記シャドウの検索に使用される情報を有するインデックスを記憶する第2データベースと、外部からのアクセス要求を受け付けるように構成されたインタフェース部とを備えるモビリティサービス基盤サーバにおける車両アクセス制御方法であって、
前記モビリティサービス基盤サーバが提供する機能を利用した前記車両へのサービスを提供するサービス提供サーバから、前記インタフェース部が前記車両に対する車載機器の動作を要求する前記アクセス要求を受け付けた場合、アクセスの対象となる前記車両である対象車両に搭載された前記車載機との無線通信を行うことで、前記対象車両へのアクセスを実行し、
前記対象車両へのアクセスにおいて、前記車載機との間で送受信される制御指示に対して、中継制御を実行する、
車両アクセス制御方法。
【請求項5】
車両に搭載された車載機から提供される車両データに基づいて、前記車両毎に生成され、特定の時刻における前記車両の状態を表す車両データ群であるシャドウを複数記憶する第1データベースと、前記第1データベースに蓄積された前記シャドウのそれぞれに対応し、前記シャドウの検索に使用される情報を有するインデックスを記憶する第2データベースと、外部からのアクセス要求を受け付けるように構成されたインタフェース部と共に、モビリティサービス基盤サーバを構成するコンピュータを、
前記モビリティサービス基盤サーバが提供する機能を利用した前記車両へのサービスを提供するサービス提供サーバから、前記インタフェース部が前記車両に対する車載機器の動作を要求する前記アクセス要求を受け付けた場合、アクセスの対象となる前記車両である対象車両に搭載された前記車載機との無線通信を行うことで、前記対象車両へのアクセスを実行し、該対象車両へのアクセスにおいて前記車載機との間で送受信される制御指示に対して、中継制御を実行するように構成された車両制御部として機能させるプログラム。
発明の詳細な説明
【関連出願の相互参照】
【0001】
本国際出願は、2021年7月2日に日本国特許庁に出願された日本国特許出願第2021-110903号に基づく優先権を主張するものであり、日本国特許出願第2021-110903号の全内容を本国際出願に参照により援用する。
続きを表示(約 910 文字)
【技術分野】
【0002】
本開示は、モビリティサービスを提供する技術に関する。
【背景技術】
【0003】
特許文献1には、車両から車両データを収集することによって現実世界の車両の状態を仮想空間で再現するデジタルツインシミュレーションが記載されている。
【先行技術文献】
【特許文献】
【0004】
特開2019-153291号公報
【発明の概要】
【0005】
モビリティサービスの広がりを受け、システム経由で車両にアクセスして、車両の有する機能を利用した様々なアプリケーションを実現することが検討されている。
【0006】
本開示は、モビリティサービスに関わる車両アクセスの信頼性を向上させる技術を提供する。
【0007】
本開示の一態様は、モビリティサービス基盤サーバである。モビリティサービス基盤サーバは、車両側ユニットと、サービス側ユニットと、を備える。
【0008】
車両側ユニットは、車両に搭載された車載機から提供される車両データに基づいて、車両毎に生成され、特定の時刻における車両の状態を表す複数のシャドウを記憶する第1データベースを有する。
【0009】
サービス側ユニットは、第2データベースおよびインタフェース部を有する。第2データベースは、第1データベースに蓄積されたシャドウのそれぞれに対応し、シャドウの検索に使用される情報を有するインデックスを記憶する。インタフェース部は、外部からのアクセス要求を受け付けるように構成される。
【0010】
車両側ユニットは、インタフェース部が車両に対するアクセス要求を受け付けた場合、アクセスの対象となる車両である対象車両に搭載された車載機との無線通信を行うことで、対象車両へのアクセスを実行するように構成された車両制御部を更に備える。車両制御部は、車載機との間で送受信される制御指示に対して、中継制御を実行するように構成される。
(【0011】以降は省略されています)
この特許をJ-PlatPat(特許庁公式サイト)で参照する
関連特許
株式会社デンソーウェーブ
筐体
1か月前
株式会社デンソー
回転機
1か月前
株式会社デンソー
電動弁
28日前
株式会社デンソー
分離体
14日前
株式会社デンソー
ロータ
1日前
株式会社デンソー
ロータ
1日前
株式会社デンソー
電動機
6日前
株式会社デンソー
端子台
8日前
株式会社デンソー
撮像装置
27日前
株式会社デンソー
摺動機構
27日前
株式会社デンソー
撮像装置
27日前
株式会社デンソー
摺動機構
27日前
株式会社デンソー
ステータ
2か月前
株式会社デンソー
電子装置
1か月前
株式会社デンソー
熱交換器
27日前
株式会社デンソー
光学部材
14日前
株式会社デンソー
電子装置
1か月前
株式会社デンソー
光学部材
14日前
株式会社デンソー
電気回路
22日前
株式会社デンソー
トランス
6日前
株式会社デンソー
反力装置
1か月前
株式会社デンソー
電解装置
29日前
株式会社デンソー
光学部材
6日前
株式会社デンソー
電子装置
6日前
株式会社デンソー
電子装置
28日前
株式会社デンソー
電子装置
1か月前
株式会社デンソー
制御装置
1か月前
株式会社デンソー
ステータ
2か月前
株式会社デンソー
検出装置
1か月前
株式会社デンソー
半導体装置
14日前
株式会社デンソーテン
インバータ
1か月前
株式会社デンソー
半導体装置
2か月前
株式会社デンソー
レーダ装置
1か月前
株式会社デンソーエレクトロニクス
電磁継電器
今日
株式会社デンソー
半導体装置
1か月前
株式会社デンソー
レーダ装置
今日
続きを見る
他の特許を見る