TOP
|
特許
|
意匠
|
商標
特許ウォッチ
Twitter
他の特許を見る
10個以上の画像は省略されています。
公開番号
2025176554
公報種別
公開特許公報(A)
公開日
2025-12-04
出願番号
2024082790
出願日
2024-05-21
発明の名称
通信システム、トラフィック情報の収集方法
出願人
株式会社デンソー
代理人
名古屋国際弁理士法人
主分類
H04L
43/0882 20220101AFI20251127BHJP(電気通信技術)
要約
【課題】ネットワークの逼迫を抑制しつつ、トラフィック情報を収集可能な技術を提供する。
【解決手段】通信システムは、中継装置12,13と、ネットワークコントローラ90と、トラフィック処理装置21,22と、を備える。中継装置12,13は、複数のポートP1,P2,P3を有し、複数のポートのうち少なくとも1つを通るトラフィックを複製する。トラフィック処理装置21,22は、記憶部211と、送信部212と、を有する。記憶部は、中継装置により複製されたトラフィックを、他の中継装置を経由せずに受けて記憶する。送信部は、記憶部から取得した複製されたトラフィックに関するトラフィック情報を、所定のタイミングでネットワークコントローラへ送信する。
【選択図】図4
特許請求の範囲
【請求項1】
複数のポート(P1,P2,P3)を有し、前記複数のポートのうち少なくとも1つを通るトラフィックを複製するように構成された中継装置(12,13)と、
前記中継装置を含むデータネットワーク(150)のトラフィックを監視するように構成されたネットワークコントローラ(90)と、
前記中継装置により複製されたトラフィックを、他の中継装置を経由せずに受けて記憶するように構成された記憶部(211)と、前記記憶部から取得した前記複製されたトラフィックに関するトラフィック情報を、所定のタイミングで前記ネットワークコントローラへ送信するように構成された送信部(212)と、を有するトラフィック処理装置(21,22,13)と、
を備える、通信システム。
続きを表示(約 1,400 文字)
【請求項2】
前記トラフィック処理装置(21,22,13)は、前記記憶部(211)から取得した前記複製されたトラフィックを分析し、分析結果を前記記憶部に保存するように構成された分析部(213)を更に有し、
前記トラフィック情報は、前記分析結果を含む、
請求項1に記載の通信システム。
【請求項3】
前記中継装置(12,13)は、前記中継装置から前記ネットワークコントローラ(90)までの通信経路上の帯域の使用率を検出するように構成されており、
前記送信部(212)は、前記中継装置により検出された前記使用率が第1閾値未満である場合に、前記トラフィック情報を前記ネットワークコントローラへ送信するように構成されている、
請求項1に記載の通信システム。
【請求項4】
前記送信部(212)は、前記記憶部(211)の使用率が第2閾値を超えた場合に、前記トラフィック情報を前記ネットワークコントローラ(90)へ送信するように構成されている、
請求項1に記載の通信システム。
【請求項5】
前記中継装置(12,13)、前記ネットワークコントローラ(90)及び前記トラフィック処理装置(21,22,13)は車両に搭載されており、
前記中継装置には、前記車両の電源を管理するように構成された電子制御装置(31)が接続されており、
前記送信部(212)は、前記電子制御装置から取得された前記車両の電源状態が所定状態である場合に、前記トラフィック情報を前記ネットワークコントローラ(90)へ送信するように構成されている、
請求項1に記載の通信システム。
【請求項6】
前記データネットワーク(150)は、前記中継装置(12,13)を含む複数の装置を有し、
前記ネットワークコントローラは、
受信した前記トラフィック情報の分析結果に基づいて、前記データネットワークを最適化する設定を導出し、
導出された前記設定を前記複数の装置へ反映させる、
請求項1に記載の通信システム。
【請求項7】
前記トラフィック処理装置(21,22,13)は、前記送信部が前記トラフィック情報を前記ネットワークコントローラに送信した後、当該トラフィック情報の基になる前記複製されたトラフィックを前記記憶部から削除するように構成されている
請求項1~6の何れか1項に記載の通信システム。
【請求項8】
前記トラフィック処理装置(21,22,13)は、前記分析結果を前記記憶部に保存した際に、前記分析結果の基になった前記複製されたトラフィックを前記記憶部から破棄するように構成されている
請求項2に記載の通信システム。
【請求項9】
中継装置(12,13)が有する複数のポート(P1,P2,P3)のうちの少なくとも1つを通って複製されたトラフィックを、他の中継装置を経由せずに受けて記憶部(211)へ記憶し、
前記記憶部から前記複製されたトラフィックに関するトラフィック情報を取得し、
取得された前記トラフィック情報を、所定のタイミングで、前記中継装置を含むデータネットワーク(150)のトラフィックを監視するように構成されたネットワークコントローラ(90)へ送信する、
トラフィック情報の収集方法。
発明の詳細な説明
【技術分野】
【0001】
本開示は、ネットワークを流れるトラフィックの情報を収集する技術に関する。
続きを表示(約 2,000 文字)
【背景技術】
【0002】
特許文献1に記載の即時トラフィック・分析システムは、複数のプログラム化可能なネットワークスイッチと、複数のプログラム化可能なネットワークスイッチを管理及び監視制御するネットワークコントローラと、即時トラフィック収集モジュールと、分析モジュールと、を備える。
【先行技術文献】
【特許文献】
【0003】
特許第6764313号公報
【発明の概要】
【発明が解決しようとする課題】
【0004】
上記即時トラフィック・分析システムでは、ネットワークスイッチで収集されたトラフィック情報が即時にネットワークコントローラへ送信される。そのため、収集されたトラフィック情報によりネットワークの帯域が常時逼迫するという問題がある。
【0005】
本開示の1つの局面は、ネットワークの帯域の逼迫を抑制しつつ、トラフィック情報を収集可能な技術を提供する。
【課題を解決するための手段】
【0006】
本開示の1つの局面の通信システムは、中継装置(12,13)と、ネットワークコントローラ(90)と、トラフィック処理装置(21,22,13)と、を備える。中継装置は、複数のポート(P1,P2,P3)を有し、複数のポートのうち少なくとも1つを通るトラフィックを複製する。ネットワークコントローラは、中継装置を含むデータネットワーク(150)のトラフィックを監視する。トラフィック処理装置は、記憶部(211)と、送信部(212)と、を有する。記憶部は、中継装置により複製されたトラフィックを、他の中継装置を経由せずに受けて記憶する。送信部は、記憶部から取得した複製されたトラフィックに関するトラフィック情報を、所定のタイミングでネットワークコントローラへ送信する。
【0007】
本開示の1つの局面の通信システムによれば、中継装置により複製されたトラフィックが他の中継装置を経由せずに記憶部に保存される。すなわち、データネットワークの帯域を使用することなく、複製されたトラフィックが記憶部に保存される。そのため、送信部は、所定のタイミングで、複製されたトラフィックに関するトラフィック情報を、ネットワークコントローラへ送信できる。したがって、ネットワークコントローラは、データネットワークの逼迫を抑制しつつ、トラフィック情報を収集することができる。
【0008】
本開示の別の1つの局面のトラフィック情報の収集方法は、中継装置(12,13)が有する複数のポート(P1,P2,P3)のうちの少なくとも1つを通って複製されたトラフィックを、他の中継装置を経由せずに受けて記憶部(211)へ記憶し、記憶部から複製されたトラフィックに関するトラフィック情報を取得し、取得された前記トラフィック情報を、所定のタイミングで、中継装置を含むデータネットワーク(150)のトラフィックを監視するように構成されたネットワークコントローラ(90)へ送信する。
【0009】
上記方法によれば、上述の通信システムと同様の効果を奏する。
【図面の簡単な説明】
【0010】
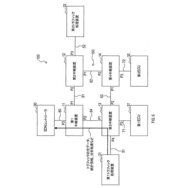
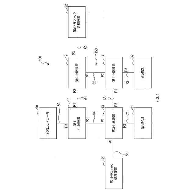
本実施形態に係る通信システムの概略構成を示すブロック図である。
本実施形態に係るトラフィック処理装置の構成を示す図である。
本実施形態に係る通信システムにおける、ECU間での通信開始を示す図である。
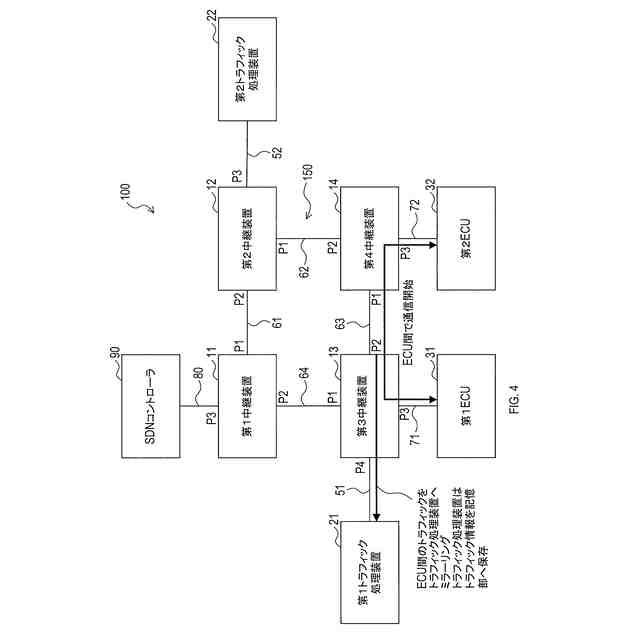
本実施形態に係る通信システムにおける、ECU間のトラフィックのミラーリングを示す図である。
本実施形態に係る通信システムにおける、SDNコントローラによるトラフィック情報の要求を示す図である。
本実施形態に係る通信システムにおける、SDNコントローラへのトラフック情報の送信を示す図である。
本実施形態に係る通信システムにおける、複数ポートでのトラフィックのミラーリングを示す図である。
参考例に係る通信システムにおける、ECU間の通信開始を示す図である。
参考例に係る通信システムにおける、ECU間のトラフィックのミラーリングを示す図である。
本実施形態に係るトラフィック情報の送信処理の第1例を示す図である。
本実施形態に係るトラフィック情報の送信処理の第2例を示す図である。
本実施形態に係るトラフィック情報の送信処理の第3例を示す図である。
本実施形態に係るネットワークの最適化処理を示す図である。
他の実施形態に係るトラフィック処理装置を内蔵した中継装置の構成を示す図である。
【発明を実施するための形態】
(【0011】以降は省略されています)
この特許をJ-PlatPat(特許庁公式サイト)で参照する
関連特許
株式会社デンソー
分離体
14日前
株式会社デンソー
電動機
6日前
株式会社デンソー
端子台
8日前
株式会社デンソー
ロータ
1日前
株式会社デンソー
ロータ
1日前
株式会社デンソー
摺動機構
27日前
株式会社デンソー
光学部材
14日前
株式会社デンソー
光学部材
14日前
株式会社デンソー
撮像装置
27日前
株式会社デンソー
トランス
6日前
株式会社デンソー
光学部材
6日前
株式会社デンソー
熱交換器
27日前
株式会社デンソー
電子装置
6日前
株式会社デンソー
撮像装置
27日前
株式会社デンソー
電子装置
28日前
株式会社デンソー
電気回路
22日前
株式会社デンソー
摺動機構
27日前
株式会社デンソー
半導体装置
14日前
株式会社デンソー
電磁継電器
6日前
株式会社デンソーエレクトロニクス
電磁継電器
今日
株式会社デンソー
半導体装置
27日前
株式会社デンソー
レーダ装置
今日
株式会社デンソー
電気化学セル
27日前
株式会社デンソー
電力変換装置
6日前
株式会社デンソー
電気化学セル
27日前
株式会社デンソー
電子制御装置
27日前
株式会社デンソー
燃料噴射装置
7日前
株式会社デンソー
表面加工方法
7日前
株式会社デンソー
形状検査方法
8日前
株式会社デンソー
電気化学セル
7日前
株式会社デンソー
給電システム
14日前
株式会社デンソー
電子制御装置
6日前
株式会社デンソーテン
車載表示装置
27日前
株式会社デンソー
ワーク投入装置
27日前
株式会社デンソー
端末及び基地局
15日前
株式会社デンソー
電波透過カバー
27日前
続きを見る
他の特許を見る