TOP
|
特許
|
意匠
|
商標
特許ウォッチ
Twitter
他の特許を見る
公開番号
2025176181
公報種別
公開特許公報(A)
公開日
2025-12-03
出願番号
2025155188,2024542598
出願日
2025-09-18,2023-06-07
発明の名称
電界効果トランジスタ
出願人
株式会社デンソー
代理人
弁理士法人 快友国際特許事務所
主分類
H10D
30/66 20250101AFI20251126BHJP()
要約
【課題】 電流拡散n層を設ける場合にゲート絶縁膜の絶縁破壊を抑制する。
【解決手段】 電界効果トランジスタであって、上面にトレンチを有する半導体基板と、ゲート絶縁膜と、ゲート電極を有する。前記半導体基板が、p型のボディ層と、前記ボディ層の下側に配置されている下部n層を有する。前記下部n層が、前記ボディ層に対して下側から接している電流拡散n層と、前記電流拡散n層に対して下側から接しているとともに前記電流拡散n層よりも低いn型不純物濃度を有する低濃度n層を有する。前記トレンチの内面が、曲率半径が0.7μm以上の表面によって構成された側面と、前記側面と前記トレンチの下端とを接続しているとともに曲率半径が0.7μm未満の凹状の曲面によって構成された底部接続面を有する。前記電流拡散n層のピーク値を有する部分が、前記側面において前記ゲート絶縁膜に接している。
【選択図】図2
特許請求の範囲
【請求項1】
電界効果トランジスタであって、
上面にトレンチを有する半導体基板と、
前記トレンチの内面を覆うゲート絶縁膜と、
前記トレンチ内に配置されており、前記ゲート絶縁膜によって前記半導体基板から絶縁されているゲート電極、
を有し、
前記半導体基板が、
前記ゲート絶縁膜に接するn型のソース層と、
前記ソース層の下側で前記ゲート絶縁膜に接するp型のボディ層と、
前記ボディ層の下側に配置されている下部n層、
を有し、
前記下部n層が、
前記ボディ層に対して下側から接している電流拡散n層と、
前記電流拡散n層に対して下側から接しており、前記電流拡散n層よりも低いn型不純物濃度を有する低濃度n層、
を有し、
前記半導体基板の深さ方向における前記電流拡散n層内のn型不純物濃度分布が、ピーク値を有するように分布しており、
前記トレンチの前記内面が、
曲率半径が0.7μm以上の表面によって構成された側面と、
前記側面と前記トレンチの下端とを接続しており、曲率半径が0.7μm未満の凹状の曲面によって構成された底部接続面、
を有し、
前記電流拡散n層の前記ピーク値を有する部分が、前記側面において前記ゲート絶縁膜に接している、
電界効果トランジスタ。
続きを表示(約 270 文字)
【請求項2】
前記電流拡散n層が、前記底部接続面において前記ゲート絶縁膜に接していない、請求項1に記載の電界効果トランジスタ。
【請求項3】
前記トレンチの前記下端において前記ゲート絶縁膜に接する底部p層をさらに有する、請求項1または2に記載の電界効果トランジスタ。
【請求項4】
前記底部p層が、前記ゲート絶縁膜に接する範囲で前記電流拡散n層に接しており、
前記ボディ層と前記底部p層の間の前記電流拡散n層の厚さが0.1μm以上である、
請求項3に記載の電界効果トランジスタ。
発明の詳細な説明
【技術分野】
【0001】
本明細書に開示の技術は、電界効果トランジスタに関する。
続きを表示(約 1,900 文字)
【0002】
特許文献1に開示の電界効果トランジスタは、トレンチ型のゲート電極を有する。また、この電界効果トランジスタは、ゲート絶縁膜に接する範囲に、n型のソース層と、p型のボディ層と、ボディ層の下側に配置された下部n層を有する。ゲート電極に所定の電位を印加すると、ボディ層にチャネルが形成され、チャネルにおってソース層と下部n層が接続される。これによって、電界効果トランジスタがオンする。
【先行技術文献】
【特許文献】
【0003】
特開2008-235546号公報
【発明の概要】
【発明が解決しようとする課題】
【0004】
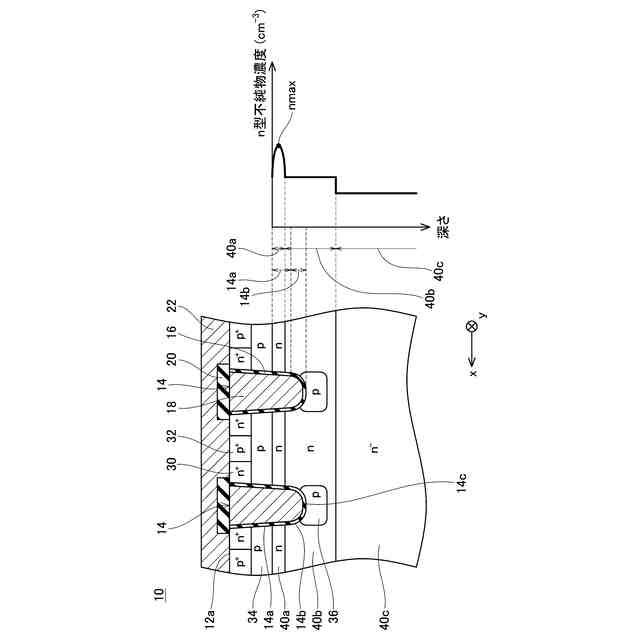
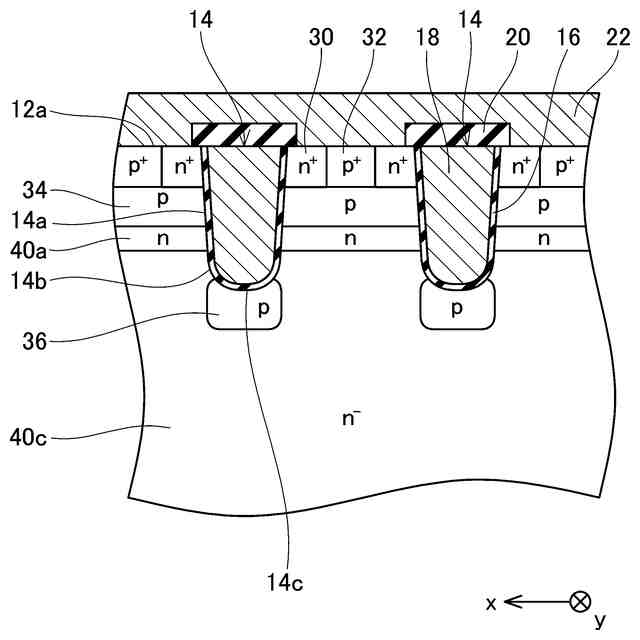
下部n層内のボディ層に隣接する範囲に、n型不純物濃度が高い電流拡散n層が設けられる場合がある。この構成によれば、チャネルから下部n層内に流入した電子が電流拡散n層内で横方向に拡散する。したがって、下部n層のうちの電流拡散n層よりも下側の領域(いわゆる、ドリフト層)で電流が拡散して流れやすくなり、電界効果トランジスタのオン抵抗が低減される。しかしながら、電流拡散n層を設けると、電流拡散n層に隣接する範囲でゲート絶縁膜に高い電界が生じやすくなる。本明細書では、電流拡散n層を設ける場合にゲート絶縁膜の絶縁破壊を抑制する技術を提案する。
【課題を解決するための手段】
【0005】
本明細書が開示する電界効果トランジスタは、上面にトレンチを有する半導体基板と、前記トレンチの内面を覆うゲート絶縁膜と、前記トレンチ内に配置されているとともに前記ゲート絶縁膜によって前記半導体基板から絶縁されているゲート電極を有する。前記半導体基板が、前記ゲート絶縁膜に接するn型のソース層と、前記ソース層の下側で前記ゲート絶縁膜に接するp型のボディ層と、前記ボディ層の下側に配置されている下部n層、を有する。前記下部n層が、前記ボディ層に対して下側から接している電流拡散n層と、前記電流拡散n層に対して下側から接しているとともに前記電流拡散n層よりも低いn型不純物濃度を有する低濃度n層、を有する。前記半導体基板の深さ方向における前記電流拡散n層内のn型不純物濃度分布が、ピーク値を有するように分布している。前記トレンチの前記内面が、曲率半径が0.7μm以上の表面によって構成された側面と、前記側面と前記トレンチの下端とを接続しているとともに曲率半径が0.7μm未満の凹状の曲面によって構成された底部接続面、を有する。前記電流拡散n層の前記ピーク値を有する部分が、前記側面において前記ゲート絶縁膜に接している。
【0006】
底部接続面を覆っている範囲のゲート絶縁膜には、高い電界が印加され易い。したがって、底部接続面を覆っている範囲のゲート絶縁膜に高濃度のn層が接していると、その範囲のゲート絶縁膜に過度に高い電界が印加され易くなり、ゲート絶縁膜が絶縁破壊し易い。これに対し、本明細書が開示する電界効果トランジスタでは、電流拡散n層のピーク値を有する部分が、トレンチの側面においてゲート絶縁膜に接している。トレンチの側面は曲率半径が0.7μm以上の比較的フラットな表面によって構成されている。このため、トレンチの側面において電流拡散n層のピーク値を有する部分がゲート絶縁膜に接していても、ゲート絶縁膜に印加される電界が過度に高くなることを防止できる。したがって、この電界効果トランジスタでは、ゲート絶縁膜が絶縁破壊し難い。
【図面の簡単な説明】
【0007】
実施例1のMOSFETの断面斜視図。
実施例1のMOSFETの上部の拡大断面図。
実施例2のMOSFETの上部の拡大断面図。
実施例3のMOSFETの上部の拡大断面図。
実施例4のMOSFETの上部の拡大断面図。
実施例5のMOSFETの上部の拡大断面図。
【発明を実施するための形態】
【0008】
上述した電界効果トランジスタにおいては、前記電流拡散n層が、前記底部接続面において前記ゲート絶縁膜に接していなくてもよい。
【0009】
この構成によれば、ゲート絶縁膜の絶縁破壊をより効果的に抑制することができる。
【0010】
上述した電界効果トランジスタは、前記トレンチの前記下端において前記ゲート絶縁膜に接する底部p層をさらに有していてもよい。
(【0011】以降は省略されています)
この特許をJ-PlatPat(特許庁公式サイト)で参照する
関連特許
個人
積和演算用集積回路
1か月前
サンケン電気株式会社
半導体装置
1か月前
エイブリック株式会社
縦型ホール素子
1か月前
日機装株式会社
半導体発光装置
26日前
旭化成株式会社
発光素子
1か月前
エイブリック株式会社
縦型ホール素子
1か月前
ローム株式会社
抵抗チップ
1か月前
ローム株式会社
半導体装置
10日前
三菱電機株式会社
半導体装置
5日前
三菱電機株式会社
半導体装置
1か月前
株式会社半導体エネルギー研究所
表示装置
1か月前
株式会社東芝
半導体装置
18日前
株式会社半導体エネルギー研究所
表示装置
10日前
三菱電機株式会社
半導体装置
18日前
富士電機株式会社
半導体装置
1か月前
ローム株式会社
半導体集積回路
1か月前
日亜化学工業株式会社
発光装置
1か月前
株式会社半導体エネルギー研究所
発光デバイス
1か月前
サンケン電気株式会社
半導体装置
18日前
富士電機株式会社
半導体装置の製造方法
1か月前
ローム株式会社
半導体装置
1か月前
ローム株式会社
窒化物半導体装置
1か月前
株式会社半導体エネルギー研究所
発光デバイス
26日前
ローム株式会社
半導体装置
1か月前
ローム株式会社
半導体装置
3日前
ローム株式会社
半導体装置
1か月前
ローム株式会社
窒化物半導体装置
1か月前
大日本印刷株式会社
太陽電池
1か月前
日亜化学工業株式会社
発光素子
1か月前
新電元工業株式会社
半導体素子
3日前
新電元工業株式会社
半導体素子
3日前
新電元工業株式会社
半導体素子
3日前
日亜化学工業株式会社
発光装置
1か月前
日亜化学工業株式会社
発光装置
3日前
ローム株式会社
半導体装置
18日前
ローム株式会社
光センサ
1か月前
続きを見る
他の特許を見る