TOP
|
特許
|
意匠
|
商標
特許ウォッチ
Twitter
他の特許を見る
10個以上の画像は省略されています。
公開番号
2025177570
公報種別
公開特許公報(A)
公開日
2025-12-05
出願番号
2024084528
出願日
2024-05-24
発明の名称
通知装置、情報処理装置およびプログラム
出願人
株式会社デンソーテン
代理人
弁理士法人酒井国際特許事務所
主分類
G08G
1/16 20060101AFI20251128BHJP(信号)
要約
【課題】運転者の運転に対する集中力の低下を精度良く検知して注意喚起を通知することができる通知装置、情報処理装置およびプログラムを提供する。
【解決手段】実施形態の一態様に係る通知装置においては、コントローラを備える。コントローラは、車両に搭載されるマイクによって収集された車室内の音声を取得する。コントローラは、取得した音声に、問いかけを示す問いかけ情報が含まれる場合、車両の運転者に対して注意喚起を通知する。
【選択図】図1
特許請求の範囲
【請求項1】
車両に搭載されるマイクによって収集された車室内の音声を取得し、
取得した前記音声に、問いかけを示す問いかけ情報が含まれる場合、前記車両の運転者に対して注意喚起を通知するコントローラ
を備える通知装置。
続きを表示(約 620 文字)
【請求項2】
前記問いかけ情報は、
前記運転者から同乗者への問いかけを示す情報、および、前記同乗者から前記運転者への問いかけを示す情報の少なくともいずれかを含む、
請求項1に記載の通知装置。
【請求項3】
前記コントローラは、
前記車両が予め設定された場所を走行する場合に前記注意喚起を通知する、
請求項1に記載の通知装置。
【請求項4】
前記コントローラは、
前記音声に、予め設定され前記運転者の感情に影響を与えるキーワードが含まれる場合、前記注意喚起を通知する、
請求項1に記載の通知装置。
【請求項5】
前記コントローラは、
前記運転者の口の動きに、予め設定された動きが含まれる場合、前記注意喚起を通知する、
請求項1に記載の通知装置。
【請求項6】
車両に搭載されるマイクによって収集された車室内の音声に、問いかけを示す問いかけ情報が含まれる場合、前記車両の運転者に対して注意喚起を通知する処理を実行させる、
情報処理装置。
【請求項7】
車両に搭載されるマイクによって収集された車室内の音声を取得し、
取得した前記音声に、問いかけを示す問いかけ情報が含まれる場合、前記車両の運転者に対して注意喚起を通知すること、
をコンピュータに実行させるプログラム。
発明の詳細な説明
【技術分野】
【0001】
開示の実施形態は、通知装置、情報処理装置およびプログラムに関する。
続きを表示(約 2,100 文字)
【背景技術】
【0002】
従来、車両の運転者の運転状態を検知し、運転状態に応じて注意喚起を通知する技術が種々提案されている。具体的には、車両が交差点を通過する際の運転行動パターンと、交差点ごとに設定される基準運転行動パターンとを比較し、比較結果により運転者が低安全運転状態であることを検知して通知する技術が知られている(例えば、特許文献1参照)。また、車室内の音声、車両周辺の状況から、運転者の安全運転に対する支障の度合いを算出して通知する技術も知られている(例えば、特許文献2参照)。
【先行技術文献】
【特許文献】
【0003】
特開2023-061084号公報
特開2020-064553号公報
【発明の概要】
【発明が解決しようとする課題】
【0004】
しかしながら、従来技術にあっては、運転者の運転に対する集中力の低下を精度良く検知して注意喚起を通知するものではなかった。特許文献1に記載される従来技術では、車両の挙動を用いて運転者の運転状態を検知しているが、車両の挙動以外の要因によって運転に対する集中力が低下することは考慮されていなかった。また、特許文献2に記載される従来技術では、車室内の音声に含まれる会話によって安全運転に対する支障の度合いを算出し、運転者の運転状態を検知しているが、会話の内容によって運転に対する集中力が比較的大きく低下することは考慮されていなかった。
【0005】
実施形態の一態様は、上記に鑑みてなされたものであって、運転者の運転に対する集中力の低下を精度良く検知して注意喚起を通知することができる通知装置、情報処理装置およびプログラムを提供することを目的とする。
【課題を解決するための手段】
【0006】
上記課題を解決し、目的を達成するために、実施形態の一態様に係る通知装置は、コントローラを備える。コントローラは、車両に搭載されるマイクによって収集された車室内の音声を取得する。コントローラは、取得した前記音声に、問いかけを示す問いかけ情報が含まれる場合、前記車両の運転者に対して注意喚起を通知する。
【発明の効果】
【0007】
実施形態の一態様において、車室内の音声を取得し、取得した音声に、問いかけを示す問いかけ情報が含まれる場合、車両の運転者に対して注意喚起を通知するようにした。このように、運転に対する集中力を低下させる要因になりうる問いかけを検知することで、運転者の運転に対する集中力の低下を精度良く検知し、注意喚起を通知することができる。
【図面の簡単な説明】
【0008】
図1は、第1実施形態に係る通知装置を含む通知システムが行う通知方法の概要を説明するための図である。
図2は、第1実施形態に係る通知システムの構成例を示すブロック図である。
図3は、第1実施形態に係る車載装置の構成例を示すブロック図である。
図4は、第1実施形態に係る情報処理装置の構成例を示すブロック図である。
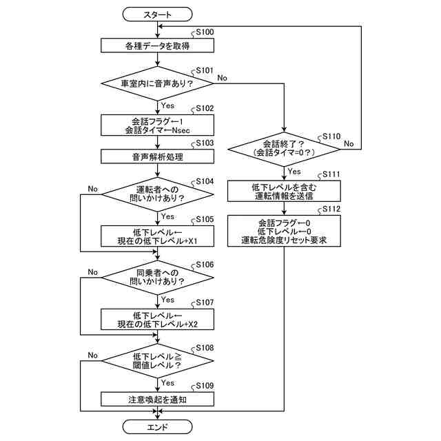
図5は、第1実施形態に係る車載装置のコントローラが実行する処理の一例を示すフローチャートである。
図6は、注意喚起の通知が行われた出力部の一例を示す図である。
図7は、第1実施形態に係る情報処理装置の処理装置コントローラが実行する処理の一例を示すフローチャートである。
図8は、第1実施形態に係る車載装置のコントローラが実行する処理の一例を示すフローチャートである。
図9は、運転危険度に応じた注意喚起の通知が行われた出力部の一例を示す図である。
図10は、第2実施形態に係る車載装置の構成例を示すブロック図である。
図11は、第2実施形態に係る車載装置のコントローラが実行する処理の一例を示すフローチャートである。
図12は、第2実施形態において、運転危険度に応じた注意喚起の通知が行われた出力部の一例を示す図である。
【発明を実施するための形態】
【0009】
以下、添付図面を参照して、本願の開示する通知装置、情報処理装置およびプログラムの実施形態を詳細に説明する。なお、以下に示す実施形態によりこの発明が限定されるものではない。
【0010】
(第1実施形態)
以下では先ず、第1実施形態に係る通知装置を含む通知システムが行う通知方法の概要について図1を参照して説明する。図1は、第1実施形態に係る通知装置を含む通知システムが行う通知方法の概要を説明するための図である。なお、図1の例では、車両Aに前席C1と、後席C2とが設けられる。車両Aの前席C1に運転者(ドライバ)Dが着座し、後席C2に同乗者Eが着座している。なお、同乗者Eは、後席C2に限らず、車両Aの助手席などその他の座席に着座していてもよい。
(【0011】以降は省略されています)
この特許をJ-PlatPat(特許庁公式サイト)で参照する
関連特許
株式会社デンソーテン
車載表示装置
1か月前
株式会社デンソーテン
アンテナアンプ及びアンテナ装置
25日前
株式会社デンソーテン
貼り合わせ装置および貼り合わせ方法
9日前
株式会社デンソーテン
車両制御装置、車両制御方法および車両
1か月前
株式会社デンソーテン
電源制御装置および電源制御プログラム
23日前
株式会社デンソーテン
電源制御装置および電源制御プログラム
17日前
株式会社デンソーテン
画像処理装置および画像処理プログラム
3日前
株式会社デンソーテン
通知装置、情報処理装置およびプログラム
2日前
株式会社デンソーテン
通信装置、通信方法、及び通信プログラム
23日前
株式会社デンソーテン
車両制御装置、車両、および、異常検知方法
9日前
株式会社デンソーテン
受信機、受信システム、受信方法およびプログラム
23日前
株式会社デンソーテン
検知装置、検知方法、プログラム及び検知システム
9日前
株式会社デンソーテン
電池監視システム、電池監視装置および電圧計測装置
17日前
株式会社ABAL
画像投影システム及び画像投影方法
17日前
株式会社デンソーテン
車両検知装置、車両検知方法、及び車両検知プログラム
9日前
株式会社デンソーテン
車載器、車載器の取り付け機構、および車載器の取り付け方法
1か月前
株式会社デンソーテン
学習方法、学習装置、学習プログラム、および、学習データ生成方法
9日前
株式会社デンソーテン
画像処理装置、情報処理システム、情報処理方法、および、プログラム
2日前
株式会社デンソーテン
感情推定装置、感情推定方法、感情推定プログラムおよび感情推定システム
9日前
株式会社デンソーテン
情報通知装置、情報通知プログラム、情報通知方法、および情報通知システム
23日前
株式会社デンソーテン
車両運転支援装置、車両運転支援方法、車両運転支援プログラム及び車両運転支援システム
17日前
株式会社デンソーテン
情報処理装置、情報処理方法、情報処理プログラム、感情推定装置、及び運転支援システム
9日前
株式会社デンソーテン
スマートキーシステム、車載装置、スマートキー、および、スマートキーシステムの制御方法
3日前
個人
安全支援装置
1か月前
日本精機株式会社
警報システム
3か月前
個人
自動電動車椅子
2か月前
株式会社SUBARU
車両
1か月前
エムケー精工株式会社
車両誘導装置
3か月前
スズキ株式会社
運転支援装置
3か月前
ニッタン株式会社
発信機
4か月前
日本無線株式会社
船舶システム
1か月前
株式会社国際電気
防災システム
3か月前
ニッタン株式会社
検知器
2か月前
ニッタン株式会社
発信機
4か月前
ニッタン株式会社
検知器
2か月前
日本信号株式会社
車両検知装置
2日前
続きを見る
他の特許を見る