TOP
|
特許
|
意匠
|
商標
特許ウォッチ
Twitter
他の特許を見る
公開番号
2025169876
公報種別
公開特許公報(A)
公開日
2025-11-14
出願番号
2025017690
出願日
2025-02-05
発明の名称
車両のガラスの透過率を制御する方法、方法を実装するためのシステム及び車両
出願人
トヨタ自動車株式会社
代理人
個人
,
個人
,
個人
,
個人
,
個人
,
個人
,
個人
主分類
B60J
3/04 20060101AFI20251107BHJP(車両一般)
要約
【課題】車内温度が不快な温度になることを抑制する。
【解決手段】車両は第1の調光ガラスを備える。車両は、車両の内部の状態を検出するように構成された第1のセンサをさらに備える。車両は、第1の調光ガラス及び第1のセンサに接続されたプロセッサをさらに備える。プロセッサは、少なくとも第1のセンサからのデータ及び追加データに基づいて、第1の調光ガラスの透過率を調整するか否かを決定するように構成され、追加データは、第1の状態以外の車両の内部の状態又は第1の調光ガラスに関連する情報の少なくとも一方に関する。プロセッサは、さらに、第1の調光ガラスの透過率を変更するとの決定に応じて、第1の調光ガラスの透過率を変更するための信号を第1の調光ガラスに送信するように構成される。
【選択図】図1
特許請求の範囲
【請求項1】
車両であって、
第1の調光ガラスと、
前記車両の内部の第1の状態を検出するように構成された第1のセンサと、
前記第1の調光ガラス及び前記第1のセンサに接続されたプロセッサであって、
少なくとも前記第1の状態及び追加データに基づいて前記第1の調光ガラスの透過率を調整するか否かを決定するステップであって、前記追加データは、前記第1の状態以外の前記車両の内部の状態又は前記第1の調光ガラスに関連する情報の少なくとも一方に関する、ステップと、
前記第1の調光ガラスの透過率を変更するとの決定に応じて、前記第1の調光ガラスの透過率を変更するための信号を前記第1の調光ガラスに送信するステップと、
を実施するように構成されたプロセッサと、
を具備する、車両。
続きを表示(約 890 文字)
【請求項2】
前記センサは、前記車両の内部に入る太陽光の量を検出するように構成される、請求項1に記載の車両。
【請求項3】
前記センサは、前記車両の内部の温度を検出するように構成される、請求項1又は2に記載の車両。
【請求項4】
前記プロセッサは、車両位置情報、前記車両の現在の状態、予測情報、所定時間内に透過率が変化した回数、又は前記車両の内部に入る太陽光の検出された角度のうちの少なくとも1つにさらに基づいて、前記第1の調光ガラスの透過率を調整するか否かを決定するように構成される、請求項1又は2に記載の車両。
【請求項5】
前記第1の調光ガラスとは別の第2の調光ガラスをさらに具備する、請求項1又は2に記載の車両。
【請求項6】
プロセッサは、前記センサからのデータに基づいて前記第2の調光ガラスの透過率を調整するか否かを決定するように構成され、前記第2の調光ガラスに関する前記決定は、前記第1の調光ガラスに関する前記決定とは独立している、請求項5に記載の車両。
【請求項7】
前記プロセッサは、前記第1の調光ガラスの透過率を第1の大きさで調整するための信号を前記第1の調光ガラスに送信し、前記第2の調光ガラスの透過率を前記第1の大きさとは異なる第2の大きさで調整するための第2の信号を前記第2の調光ガラスに送信するように構成される、請求項5に記載の車両。
【請求項8】
前記第1の調光ガラスは、フロントガラス、サンルーフ、リアウィンドウ又はサイドウィンドウのうちの1つである、請求項1又は2に記載の車両。
【請求項9】
前記第1の調光ガラスの初期設定の透過率が前記第1の調光ガラスの最大透過率である、請求項1又は2に記載の車両。
【請求項10】
前記プロセッサは、さらに、前記車両の現在の状態に基づいて、前記第1の調光ガラスの透過率の調整を禁止又は制限するように構成される、請求項1又は2に記載の車両。
(【請求項11】以降は省略されています)
発明の詳細な説明
【背景技術】
【0001】
高強度の太陽光に暴露された車両では、車両の1つ又は複数の窓から太陽光が伝わるため、車内温度が上昇する。車両が駐車されているいくつかの例では、車両の窓から伝わる太陽光に長時間暴露されると、車内温度が不快なレベルまで上昇する。車両が移動しているいくつかの例では、車両のサイドウィンドウを透過する太陽光がまぶしさを生じさせ、運転者の注意をそらす可能性がある。
続きを表示(約 2,300 文字)
【0002】
車両に入る太陽光を調整する方法には、車両の乗員が車両の窓の透過率を能動的に調整することが含まれることがある。場合によっては、乗員によるこの能動的な関与は、車両の内部システムを操作し又は車両に接続可能なデバイスを操作することを含む。車両に入る光を調整する方法には、車両に当たる外部光源の強度に基づいてガラスの透過率を調整することが含まれる。
【発明の概要】
【0003】
この説明の一態様は車両に関する。車両は第1の調光ガラスを備える。車両は、車両の内部の第1の状態を検出するように構成された第1のセンサをさらに備える。車両は、第1の調光ガラス及び第1のセンサに接続されたプロセッサをさらに備える。プロセッサは、少なくとも第1のセンサからのデータ及び追加データに基づいて、第1の調光ガラスの透過率を調整するか否かを決定するように構成され、追加データは、第1の状態以外の車両の内部の状態又は第1の調光ガラスに関連する情報の少なくとも一方に関する。プロセッサは、さらに、第1の調光ガラスの透過率を変更するとの決定に応じて、第1の調光ガラスの透過率を変更するための信号を第1の調光ガラスに送信するように構成される。
【0004】
この説明の一態様は車両に関する。車両は第1の調光ガラスを備える。車両は、車両の車室内の光量を検出するように構成されたセンサをさらに備える。車両は、第1の調光ガラス及びセンサに接続されたプロセッサをさらに備える。プロセッサは、車両の車室内の光量を決定するように構成される。プロセッサは、さらに、光量及び車両の車室内の少なくとも1つの追加の状態に基づいて、第1の調光ガラスの透過率を調整するか否かを決定するように構成される。プロセッサは、さらに、第1の調光ガラスの透過率を変更するとの決定に応じて、第1の調光ガラスの透過率を変更するための信号を第1の調光ガラスに送信するように構成される。
【0005】
この説明の一態様は方法に関する。本方法は、少なくとも2つの異なるセンサからのセンサデータに基づいて車両内部の状態を決定するステップを含む。本方法は、センサデータに基づいて第1の調光ガラスの透過率を調整するか否かを決定するステップをさらに含む。本方法は、第1の調光ガラスの透過率を変更するとの決定に応じて、第1の調光ガラスの透過率を変更するための信号を第1の調光ガラスに送信するステップをさらに含む。
【図面の簡単な説明】
【0006】
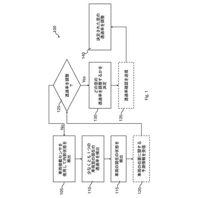
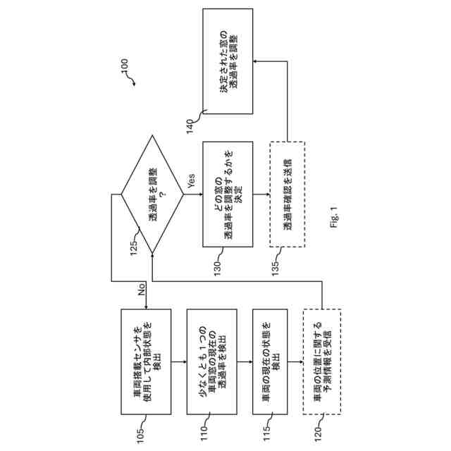
図1は、いくつかの実施形態に従った、車両のガラスの透過率を制御する方法のフローチャートである。
図2は、いくつかの実施形態に従った、車両の斜視図である。
図3は、いくつかの実施形態に従った、車両のガラスの透過率を制御するシステムのブロック図である。
【発明を実施するための形態】
【0007】
添付の図面と併せて以下の詳細な説明を読むことから本開示の態様が最もよく理解される。業界の標準的な慣行に従い、様々な特徴を縮尺通りに描写していないことに留意されたい。実際、様々な特徴の寸法は、考察の明確化のために任意に拡大される場合も縮小される場合もある。
【0008】
以下の開示は、提供された主題の様々な特徴を実施するための多くの異なる実施形態又は例を提供する。構成要素、値、操作、材料、配置などの特定の例を、本開示を簡略化するために以下に記載する。ここに挙げたものはもちろん単なる例であり、限定することを意図するものではない。他の構成要素、値、操作、材料、配置なども考えられる。例えば、以下の説明での第1の特徴を第2の特徴の上方又は第2の特徴上に形成することは、第1の特徴と第2の特徴とが直接接触して形成される実施形態を含む場合があるほか、第1の特徴と第2の特徴との間に追加の特徴を形成し、その結果、第1の特徴と第2の特徴とが直接接触しなくなる実施形態も含む。さらに、本開示は、様々な例において参照番号及び/又は文字を繰り返す場合がある。この繰り返しは、簡潔さと明確さを目的としており、それ自体が、考察される様々な実施形態間及び/又は構成間の関係を規定するものではない。
【0009】
さらに、図に示しているように、ある要素又は特徴と別の要素又は特徴との関係を説明するために、「~の下」、「下方」、「下側」、「~の上」、「上側」などの空間的に相対的な用語を本明細書で使用する場合がある。空間的に相対的な用語は、図に示している向きに加えて、使用中又は操作中のデバイスの様々な向きを包含することを意図している。装置は他の方向に向いている場合があり(90度回転された向き又は他の向き)、本明細書で使用する空間的に相対的な記述子も同じようにそれに応じて解釈されうる。
【0010】
調光ガラスは、調光ガラスに印加された電圧に基づいて、ほぼ透明からほぼ完全に不透明に変化することができる。調光ガラスの分子の構造が、ガラスに印加された電圧に基づいて変化する。ほとんどの調光ガラスの透過率が、例えば、1ボルト(V)程度の小さな電圧に応じて顕著に変化する。小さな電圧に応じて透過率を大幅に変化させることができるため、車両の窓の調光ガラスの透過率を、車両のバッテリなどの車両の電源を消耗するリスクを最小限に抑えながら調整することができる。
(【0011】以降は省略されています)
この特許をJ-PlatPat(特許庁公式サイト)で参照する
関連特許
トヨタ自動車株式会社
方法
26日前
トヨタ自動車株式会社
車両
26日前
トヨタ自動車株式会社
方法
1か月前
トヨタ自動車株式会社
車両
12日前
トヨタ自動車株式会社
車両
21日前
トヨタ自動車株式会社
車両
19日前
トヨタ自動車株式会社
車体
12日前
トヨタ自動車株式会社
電池
1か月前
トヨタ自動車株式会社
車体
28日前
トヨタ自動車株式会社
電池
4日前
トヨタ自動車株式会社
方法
25日前
トヨタ自動車株式会社
電池
1か月前
トヨタ自動車株式会社
車両
1か月前
トヨタ自動車株式会社
方法
26日前
トヨタ自動車株式会社
電池
1か月前
トヨタ自動車株式会社
車両
12日前
トヨタ自動車株式会社
車両
19日前
トヨタ自動車株式会社
方法
1か月前
トヨタ自動車株式会社
電池
25日前
トヨタ自動車株式会社
方法
12日前
トヨタ自動車株式会社
車両
13日前
トヨタ自動車株式会社
車両
27日前
トヨタ自動車株式会社
車両
1か月前
トヨタ自動車株式会社
方法
27日前
トヨタ自動車株式会社
電池
13日前
トヨタ自動車株式会社
車両
25日前
トヨタ自動車株式会社
椅子
1か月前
トヨタ自動車株式会社
車両
1か月前
トヨタ自動車株式会社
治具
20日前
トヨタ自動車株式会社
車両
1か月前
トヨタ自動車株式会社
加熱器
1か月前
トヨタ自動車株式会社
蓄電池
12日前
トヨタ自動車株式会社
モータ
1か月前
トヨタ自動車株式会社
モータ
27日前
トヨタ自動車株式会社
飛行体
1か月前
トヨタ自動車株式会社
自動車
26日前
続きを見る
他の特許を見る