TOP
|
特許
|
意匠
|
商標
特許ウォッチ
Twitter
他の特許を見る
公開番号
2025169877
公報種別
公開特許公報(A)
公開日
2025-11-14
出願番号
2025018241
出願日
2025-02-06
発明の名称
車両内に表示されたコンテンツの管理
出願人
トヨタ自動車株式会社
代理人
個人
,
個人
,
個人
,
個人
,
個人
,
個人
,
個人
主分類
B60R
11/02 20060101AFI20251107BHJP(車両一般)
要約
【課題】車両内でのコンテンツの視聴に関するユーザビリティを高める。
【解決手段】車両内の少なくとも1人の乗員がコンテンツを消費していることが判定される。少なくとも1人の乗員を識別する識別情報が取得される。少なくとも1人の乗員が車両から出たことが検出される。少なくとも1人の乗員を識別する識別情報、少なくとも1人の乗員によって消費されたコンテンツのコンテンツ識別子、及び少なくとも1人の乗員が車両から出た時点におけるコンテンツの最終位置が保存される。少なくとも1人の乗員が車両に再乗車したことが検出される。少なくとも1人の乗員を識別する識別情報、コンテンツID、及び少なくとも1人の乗員を識別する識別情報に関連付けられたコンテンツの最終位置が読み出される。コンテンツIDによって識別されたコンテンツが、識別情報に関連付けられた少なくとも1人の乗員についてのコンテンツの最終位置において再開される。
【選択図】図4
特許請求の範囲
【請求項1】
車両内に表示されたコンテンツを管理するためにプロセッサによって実行される方法であって、
車両内の少なくとも1人の乗員がコンテンツを消費していると判定するステップと、
前記少なくとも1人の乗員を識別する識別情報を取得するステップと、
前記少なくとも1人の乗員が前記車両から出たことを検出するステップと、
前記少なくとも1人の乗員を識別する識別情報、前記少なくとも1人の乗員によって消費された前記コンテンツのコンテンツ識別子(ID)、及び前記少なくとも1人の乗員が前記車両から出た時点における前記コンテンツの最終位置を保存するステップと、
前記少なくとも1人の乗員が前記車両に再乗車したことを検出するステップと、
前記少なくとも1人の乗員を識別する前記識別情報、前記コンテンツのコンテンツID、及び前記少なくとも1人の乗員を識別する前記識別情報に関連付けられた前記コンテンツの最終位置を読み出すステップと、
前記識別情報に関連付けられた前記少なくとも1人の乗員についての前記コンテンツの最終位置において、前記コンテンツIDによって識別された前記コンテンツを再開するステップと、
を含む、方法。
続きを表示(約 1,500 文字)
【請求項2】
前記少なくとも1人の乗員を識別する前記識別情報を取得する前記ステップは、カメラによって撮影された顔画像に対する画像分析を実施して前記少なくとも1人の乗員を識別することを含む、請求項1に記載の方法。
【請求項3】
前記少なくとも1人の乗員を識別する前記識別情報を取得する前記ステップは、前記少なくとも1人の乗員のデバイスのデバイス識別子を取得することを含む、請求項1に記載の方法。
【請求項4】
前記少なくとも1人の乗員を識別する前記識別情報に関連付けられた前記コンテンツの最終位置を読み出すステップは、前記コンテンツの最終位置の位置インジケータに関連付けられた最終状態を読み出すことを含む、請求項1から3のいずれか1項に記載の方法。
【請求項5】
前記少なくとも1人の乗員を識別する前記識別情報、前記コンテンツのコンテンツID、及び前記少なくとも1人の乗員を識別する前記識別情報に関連付けられた前記コンテンツの最終位置を読み出す前記ステップは、前記少なくとも1人の乗員に通知を送信することを含む、請求項1から3のいずれか1項に記載の方法。
【請求項6】
前記通知を送信することは、テキストメッセージ、電子メール、アプリケーションへのプッシュ通知、又は前記少なくとも1人の乗員へのボイスメールメッセージのうちの少なくとも1つを送信することを含む、請求項5に記載の方法。
【請求項7】
前記少なくとも1人の乗員を識別する前記識別情報を取得する前記ステップは、登録されたユーザに関連付けられた前記識別情報を読み出すことを含む、請求項1に記載の方法。
【請求項8】
車両内に表示されたコンテンツを管理するための装置であって、
コンピュータ可読命令を記憶するメモリと、
前記メモリに接続されたプロセッサであって、前記コンピュータ可読命令を実行して、
車両内の少なくとも1人の乗員がコンテンツを消費していると判定し、
前記少なくとも1人の乗員を識別する識別情報を取得し、
前記少なくとも1人の乗員が前記車両から出たことを検出し、
少なくとも1人の乗員を識別する識別情報、前記少なくとも1人の乗員によって消費された前記コンテンツのコンテンツ識別子(ID)、及び前記少なくとも1人の乗員が前記車両から出た時点における前記コンテンツの最終位置を保存し、
前記少なくとも1人の乗員が前記車両に再乗車したことを検出し、
前記少なくとも1人の乗員を識別する前記識別情報、前記コンテンツのコンテンツID、及び前記少なくとも1人の乗員を識別する前記識別情報に関連付けられた前記コンテンツの最終位置を読み出し、
前記識別情報に関連付けられた前記少なくとも1人の乗員についての前記コンテンツの最終位置において、前記コンテンツIDによって識別された前記コンテンツを再開するための動作を実施するように構成される、プロセッサと、を具備する、装置。
【請求項9】
前記プロセッサは、カメラによって撮影された顔画像に対して画像分析を実施して前記少なくとも1人の乗員を識別することによって、前記少なくとも1人の乗員を識別する前記識別情報を取得するようにさらに構成される、請求項8に記載の装置。
【請求項10】
前記プロセッサは、前記少なくとも1人の乗員のデバイスのデバイス識別子を取得することによって、前記少なくとも1人の乗員を識別する前記識別情報を取得するようにさらに構成される、請求項8に記載の装置。
(【請求項11】以降は省略されています)
発明の詳細な説明
【技術分野】
【0001】
この説明は、車両内に表示されたコンテンツの管理に関する。
続きを表示(約 2,900 文字)
【背景技術】
【0002】
車両内での音声コンテンツ及び/又は動画コンテンツの提示は、多くの移動体験でよくみられるものになっている。例えば、車両の運転者が運転中に音声コンテンツ(例えば、音楽及び/又は音声テキスト)を聞くことがよくあり、乗客が目的地に到着するまで車両内で動画を見ることがよくある。追加のコンテンツには、ウェブ閲覧、ストリーミングコンテンツなどが含まれる。車載インフォテインメント(IVI)システム(単にインフォテインメントシステムとも呼ばれる)などのモバイルデバイス又は他のメディア再生デバイスを使用すると、コンテンツにアクセスすることができる。
【0003】
しかし、ユーザが、燃料補給、食事、買い物など、さまざまな理由で車両から出ることがよくある。ユーザが車両から出たとしても、コンテンツは引き続き提示される。車両内のユーザがコンテンツの視聴の途中で車両から出たことに応じて、ユーザが車両から出て車両に戻った時点からコンテンツの視聴を再開する方法がない。
【発明の概要】
【0004】
少なくとも実施形態では、車両内に表示されたコンテンツを管理する方法には、車両内の少なくとも1人の乗員がコンテンツを消費していると判定するステップと、少なくとも1人の乗員を識別する識別情報を取得するステップと、少なくとも1人の乗員が車両から出たことを検出するステップと、少なくとも1人の乗員を識別する識別情報、少なくとも1人の乗員が消費したコンテンツのコンテンツ識別子(ID)、及び少なくとも1人の乗員が車両から出た時点におけるコンテンツの最終位置を保存するステップと、少なくとも1人の乗員が車両に再乗車したことを検出するステップと、少なくとも1人の乗員を識別する識別情報、コンテンツのコンテンツID、及び少なくとも1人の乗員を識別する識別情報に関連付けられたコンテンツの最終位置を読み出すステップと、識別情報に関連付けられた少なくとも1人の乗員についてのコンテンツの最終位置において、コンテンツIDによって識別されたコンテンツを再開するステップと、が含まれる。
【0005】
少なくとも1つの実施形態では、車両内に表示されたコンテンツを管理するための装置が、コンピュータ可読命令を記憶するメモリと、メモリに接続されたプロセッサとを備える。プロセッサは、コンピュータ可読命令を実行して、車両内の少なくとも1人の乗員がコンテンツを消費していると判定し、少なくとも1人の乗員を識別する識別情報を取得し、少なくとも1人の乗員が車両から出たことを検出し、少なくとも1人の乗員を識別する識別情報、少なくとも1人の乗員によって消費されたコンテンツのコンテンツ識別子(ID)、及び少なくとも1人の乗員が車両から出た時点におけるコンテンツの最終位置を保存し、少なくとも1人の乗員が車両に再乗車したことを検出し、少なくとも1人の乗員を識別する識別情報、コンテンツのコンテンツID、及び少なくとも1人の乗員を識別する識別情報に関連付けられたコンテンツの最終位置を読み出し、識別情報に関連付けられた少なくとも1人の乗員についてのコンテンツの最終位置において、コンテンツIDによって識別されたコンテンツを再開するための動作と、を実施するように構成される。
【0006】
少なくとも1つの実施形態では、非一時的なコンピュータ可読媒体にコンピュータ可読命令が記憶される。コンピュータ可読命令は、プロセッサによって実行されると、プロセッサに、車両内の少なくとも1人の乗員がコンテンツを消費していると判定するステップと、少なくとも1人の乗員を識別する識別情報を取得するステップと、少なくとも1人の乗員が車両から出たことを検出するステップと、少なくとも1人の乗員を識別する識別情報、少なくとも1人の乗員によって消費されたコンテンツのコンテンツ識別子(ID)、及び少なくとも1人の乗員が車両から出た時点におけるコンテンツの最終位置を保存するステップと、少なくとも1人の乗員が車両に再乗車したことを検出するステップと、少なくとも1人の乗員を識別する識別情報、コンテンツのコンテンツID、及び少なくとも1人の乗員を識別する識別情報に関連付けられたコンテンツの最終位置を読み出すステップと、識別情報に関連付けられた少なくとも1人の乗員についてのコンテンツの最終位置において、コンテンツIDによって識別されたコンテンツを再開するステップと、を含む動作を実施させる。
【図面の簡単な説明】
【0007】
図1は、少なくとも1つの実施形態による車両のコックピットを示す。
図2は、少なくとも1つの実施形態による車両の内部の図である。
図3は、少なくとも1つの実施形態によるシステムアーキテクチャである。
図4は、少なくとも1つの実施形態による車両内に表示されたコンテンツを管理する方法のフローチャートである。
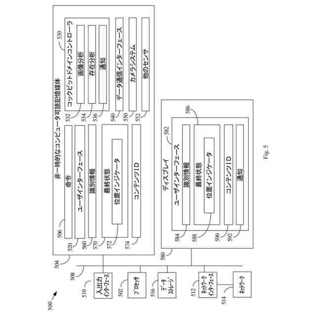
図5は、少なくとも1つの実施形態によるプロセッサベースのシステムの高レベル機能ブロック図である。
【発明を実施するための形態】
【0008】
本開示の特定の例示的な実施形態の特徴、態様及び利点を、添付の図面を参照して以下に説明する。添付の図面では、類似の参照番号が類似の要素を示す。
【0009】
以下の例示的な実施形態の詳細な説明は、添付の図面を参照する。前述の開示は、例示及び説明を提供するが、網羅的であることを意図するものでも、開示した正確な形態に実装例を限定することを意図するものでもない。上記の開示に照らして修正及び変更が可能であるか、実装例の実践から取得され得る。さらに、1つの実施形態の1つ又は複数の特徴又は構成要素を、別の実施形態(又は別の実施形態の1つ又は複数の特徴)に組み込むか、組み合わせることができる。さらに、以下に示すフローチャート及び動作の説明では、1つ又は複数の動作を省略し、1つ又は複数の動作を追加し、1つ又は複数の動作を同時に(少なくとも部分的に)実施し、1つ又は複数の動作の順序を入れ替えることを、このような修正が本発明の範囲に影響を及ぼさない限り、実施し得ることが理解される。
【0010】
本明細書で説明するシステム及び/又は方法を、ハードウェア、ソフトウェア又はハードウェアとソフトウェアの組み合わせのさまざまな形態で実装することができることが明らかであろう。このようなシステム及び/又は方法を実装するために使用された実際の特殊な制御ハードウェア又はソフトウェアコードは、実装例を限定するものではない。このため、システム及び/又は方法の動作及び挙動は、特定のソフトウェアコードを参照することなく本明細書において説明された。ソフトウェア及びハードウェアが、本明細書での説明に基づいて、システム及び/又は方法を実装するように設計され得ることが理解される。
(【0011】以降は省略されています)
この特許をJ-PlatPat(特許庁公式サイト)で参照する
関連特許
トヨタ自動車株式会社
車体
1か月前
トヨタ自動車株式会社
車両
1か月前
トヨタ自動車株式会社
方法
3日前
トヨタ自動車株式会社
配管
19日前
トヨタ自動車株式会社
車両
1か月前
トヨタ自動車株式会社
車体
1か月前
トヨタ自動車株式会社
車両
18日前
トヨタ自動車株式会社
方法
1か月前
トヨタ自動車株式会社
電池
1か月前
トヨタ自動車株式会社
車両
1か月前
トヨタ自動車株式会社
車両
1か月前
トヨタ自動車株式会社
車両
1か月前
トヨタ自動車株式会社
車両
19日前
トヨタ自動車株式会社
車両
4日前
トヨタ自動車株式会社
車両
1か月前
トヨタ自動車株式会社
方法
1か月前
トヨタ自動車株式会社
車両
1か月前
トヨタ自動車株式会社
方法
1か月前
トヨタ自動車株式会社
車両
1か月前
トヨタ自動車株式会社
車両
1か月前
トヨタ自動車株式会社
電池
10日前
トヨタ自動車株式会社
電池
10日前
トヨタ自動車株式会社
方法
1か月前
トヨタ自動車株式会社
電池
24日前
トヨタ自動車株式会社
電池
1か月前
トヨタ自動車株式会社
方法
1か月前
トヨタ自動車株式会社
電池
1か月前
トヨタ自動車株式会社
治具
1か月前
トヨタ自動車株式会社
電池
18日前
トヨタ自動車株式会社
電動車
19日前
トヨタ自動車株式会社
蓄電池
1か月前
トヨタ自動車株式会社
モータ
1か月前
トヨタ自動車株式会社
電動機
1か月前
トヨタ自動車株式会社
タンク
3日前
トヨタ自動車株式会社
モータ
1か月前
トヨタ自動車株式会社
電動車
18日前
続きを見る
他の特許を見る