TOP
|
特許
|
意匠
|
商標
特許ウォッチ
Twitter
他の特許を見る
10個以上の画像は省略されています。
公開番号
2025169880
公報種別
公開特許公報(A)
公開日
2025-11-14
出願番号
2025022443
出願日
2025-02-14
発明の名称
インシデント回避のための運転システムの連続的な更新
出願人
トヨタ自動車株式会社
代理人
個人
,
個人
,
個人
,
個人
,
個人
,
個人
,
個人
主分類
B60W
30/08 20120101AFI20251107BHJP(車両一般)
要約
【課題】インターネットから収集される情報から車両アプリケーションのコンプライアンス要件を自動的に生成する。
【解決手段】インシデント回避のための運転システムの連続的な更新は、複数のインシデントサンプルをインターネットから収集するステップであって、複数のインシデントサンプルは一つ以上の車両に関連するように識別機械学習モデルによって識別される、ステップと、クラスタリング機械学習モデルによって複数のインシデントサンプルを複数のインシデントクラスタにクラスタリングするステップと、要件定義機械学習モデルによって、複数のインシデントクラスタのうちのインシデントクラスタに従って車両アプリケーションのコンプライアンス要件を定義するステップとによって実行される。
【選択図】図6
特許請求の範囲
【請求項1】
複数のインシデントサンプルをインターネットから収集するステップであって、前記複数のインシデントサンプルは一つ以上の車両に関連するように識別機械学習モデルによって識別される、ステップと、
クラスタリング機械学習モデルによって前記複数のインシデントサンプルを複数のインシデントクラスタにクラスタリングするステップと、
要件定義機械学習モデルによって、前記複数のインシデントクラスタのうちのインシデントクラスタに従って車両アプリケーションのコンプライアンス要件を定義するステップと
を一つ以上のプロセッサに実行させる、コンピュータプログラム。
続きを表示(約 1,300 文字)
【請求項2】
前記車両アプリケーションのコンプライアンス要件を定義するステップは、メトリクスのタイプ、メトリクスの基準及びメトリクスの評価条件を定義することを含む、請求項1に記載のコンピュータプログラム。
【請求項3】
前記車両アプリケーションのコンプライアンス要件に従って複数の訓練サンプルを用意するステップを前記一つ以上のプロセッサに更に実行させる、請求項1又は2に記載のコンピュータプログラム。
【請求項4】
前記用意するステップは、
前記車両アプリケーションのコンプライアンス要件に従ってアノテーションルールを定義することと、
前記アノテーションルールに従って複数のセンササンプルをラベル付けすることと、
前記ラベル付けされた複数のセンササンプルの中から前記複数の訓練サンプルを選択することと
を含む、請求項3に記載のコンピュータプログラム。
【請求項5】
前記複数の訓練サンプルの第1の部分を用いて車両アプリケーション機械学習モデルを訓練するステップを前記一つ以上のプロセッサに更に実行させる、請求項4に記載のコンピュータプログラム。
【請求項6】
前記車両アプリケーションのコンプライアンス要件に従って、前記複数の訓練サンプルの第2の部分を用いて前記車両アプリケーション機械学習モデルをテストするステップを前記一つ以上のプロセッサに更に実行させる、請求項5に記載のコンピュータプログラム。
【請求項7】
前記車両アプリケーション機械学習モデルが前記車両アプリケーションのコンプライアンス要件を満たすか否かを判定するステップを前記一つ以上のプロセッサに更に実行させる、請求項6に記載のコンピュータプログラム。
【請求項8】
前記車両アプリケーション機械学習モデルが前記車両アプリケーションのコンプライアンス要件を満たすとの判定に応じて前記車両アプリケーション機械学習モデルを車両システムにデプロイするステップを前記一つ以上のプロセッサに更に実行させる、請求項7に記載のコンピュータプログラム。
【請求項9】
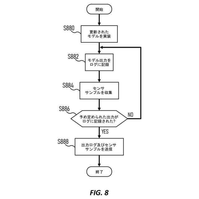
前記車両アプリケーション機械学習モデルの出力ログを前記車両システムから受信するステップと、
前記出力ログを分析して前記車両アプリケーション機械学習モデルを検証するステップと、
前記分析の結果に従って前記車両アプリケーションのコンプライアンス要件を更新するステップと
を前記一つ以上のプロセッサに更に実行させる、請求項8に記載のコンピュータプログラム。
【請求項10】
前記車両アプリケーション機械学習モデルはシーン分類のために構成され、
前記出力ログは複数のシーン分類結果を含み、
前記出力ログを受信するステップは、前記車両アプリケーション機械学習モデルがシーンを予め定められたクラスに分類したことに応じて行われる、請求項9に記載のコンピュータプログラム。
(【請求項11】以降は省略されています)
発明の詳細な説明
【背景技術】
【0001】
コードとしての要件(RaC)が車両アプリケーションの要件を定義するために利用される。RaCは、車両アプリケーションの特徴及び挙動と、要件が満たされているかを確認するために使用されるメトリクス及びその基準と、これらメトリクス及び基準が評価される条件と、斯かる評価のために使用されるデータ又はテストシナリオとを定義する要件を含む様々なタイプの情報を包含する。
続きを表示(約 2,100 文字)
【0002】
RaCファイルを作成することは、車両アプリケーション及び適用可能な車両の機能的及び非機能的な要件と、ユーザにとって価値のある特徴、テスト中に考慮すべきエッジケース、及び回帰テストで追跡するために特定された問題を含む車両アプリケーションの仕様とを考慮することを必要とする。
【0003】
RaCファイルは、車両アプリケーション及び車両アプリケーションが採用する機械学習モデルをテストして、要件が満たされているか否かを判定し且つテスト基準が満たされているか否かを判断するために使用される。
【図面の簡単な説明】
【0004】
図1は、本開示の少なくともいくつかの実施形態に係る、インシデント回避のための運転システムの連続的な更新のためのシステムの概略図である。
図2は、本開示の少なくともいくつかの実施形態に係る生成器の概略図である。
図3は、本開示の少なくともいくつかの実施形態に係るモデル更新器の概略図である。
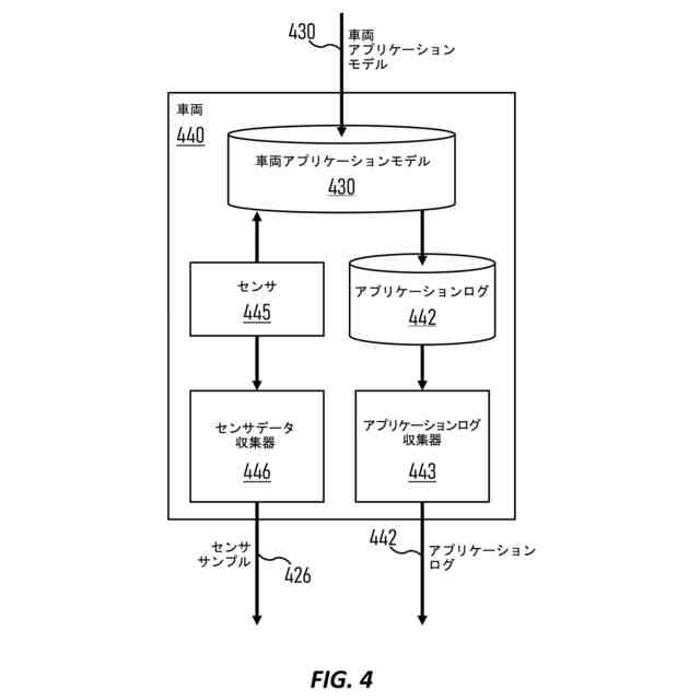
図4は、本開示の少なくともいくつかの実施形態に係る車両の概略図である。
図5は、本開示の少なくともいくつかの実施形態に係る、インシデント回避のための運転システムの連続的な更新のための操作フローである。
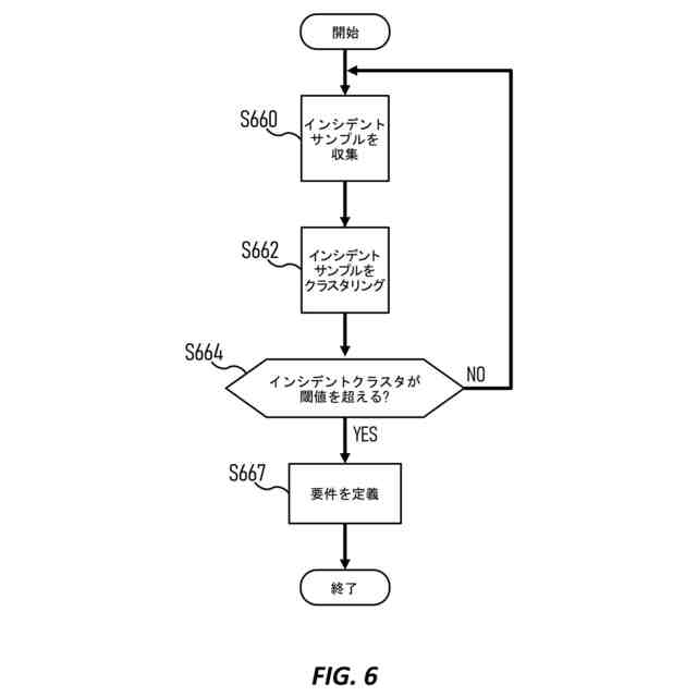
図6は、本開示の少なくともいくつかの実施形態に係る要件生成のための操作フローである。
図7は、本開示の少なくともいくつかの実施形態に係るモデル訓練のための操作フローである。
図8は、本開示の少なくともいくつかの実施形態に係る車両操作のための操作フローである。
図9は、本開示の少なくともいくつかの実施形態に係る要件ファイルの概略図である。
図10は、本開示の少なくともいくつかの実施形態に係る、インシデント回避のための運転システムの連続的な更新のためのハードウェア構成のブロック図である。
【発明を実施するための形態】
【0005】
本開示の態様は、添付の図面と共に読まれたときに以下の詳細な説明から最もよく理解される。当該業界における標準的な慣行に従って、様々な特徴が縮尺通りに描かれていないことに留意されたい。実際、様々な特徴の寸法は議論の明確化のために任意に増減されうる。
【0006】
以下の開示は、提供される主題の種々の特徴を実装するための種々の実施形態又は例を提供する。構成要素、値、操作、材料、配置又はこれらと均等のものの具体例が、本開示を単純化するために以下に記載される。当然のことながら、これらは、単なる例であり、限定することを意図するものではない。他の構成要素、値、操作、材料、配置又はこれらと均等のものが企図される。加えて、本開示は様々な例において参照数字及び/又は文字を繰り返すことがある。この繰り返しは、単純化及び明確化のためであり、それ自体、議論される様々な実施形態及び/又は構成間の関係を指示するものではない。
【0007】
車両アプリケーション及びその機械学習モデルは、課題、弱み又はエッジケースの形態でありうる新たな問題を解決するために常にタイムリーに更新されるとは限らない。なぜならば、更新することは、開発者に新たな問題を通知し、開発者が各問題を解決するために要件を手作業で記述して要件に応じてテストを設計することを必要とするからである。
【0008】
本開示の少なくともいくつかの実施形態では、車両アプリケーション及びその機械学習モデルを更新するために、インシデントサンプルが、識別機械学習モデルを使用してインターネットから収集され、クラスタリング機械学習モデルによってクラスタリングされ、要件定義機械学習モデルによって車両アプリケーションのコンプライアンス要件を定義するための基礎として使用される。少なくともいくつかの実施形態では、要件定義機械学習モデルは、訓練サンプルとして使用されるセンササンプルをアノテーションするためのルールを定義する。
【0009】
少なくともいくつかの実施形態では、収集機械学習(ML)モデルを使用してインシデントサンプルがインターネットから収集される。少なくともいくつかの実施形態では、インシデントサンプルはクラスタリングMLモデルによってクラスタリングされる。少なくともいくつかの実施形態では、要件定義MLモデルを使用してインシデントクラスタのための要件が定義される。
【0010】
インターネットから収集される情報から要件を自動的に生成することによって、少なくともいくつかの実施形態は、開発者への通知又は手作業の入力無しに、インシデント回避のために車両アプリケーション及びその機械学習モデルを連続的に更新する。要件に従ってアノテーションルールを自動的に定義することによって、少なくともいくつかの実施形態は訓練サンプルを自動的に用意する。
(【0011】以降は省略されています)
この特許をJ-PlatPat(特許庁公式サイト)で参照する
関連特許
個人
前輪キャスター
3か月前
個人
上部一体型自動車
2か月前
個人
ルーフ付きトライク
4か月前
個人
空間形成装置
1か月前
個人
タイヤ脱落防止構造
3か月前
日本精機株式会社
表示装置
3か月前
日本精機株式会社
照明装置
1か月前
個人
マスタシリンダ
2か月前
個人
常設収納型サンバイザー
1か月前
日本精機株式会社
車室演出装置
3か月前
株式会社ニフコ
照明装置
3か月前
株式会社ニフコ
収納装置
3か月前
日本精機株式会社
車載表示装置
1か月前
日本精機株式会社
車載表示装置
1か月前
日本精機株式会社
車載表示装置
1か月前
株式会社豊田自動織機
産業車両
1か月前
日本精機株式会社
画像投映装置
2か月前
個人
回転窓ワイパー装置
1か月前
日本精機株式会社
車載表示装置
2か月前
日本精機株式会社
車両用投射装置
2か月前
日本精機株式会社
車両用投影装置
2か月前
井関農機株式会社
作業車両
2か月前
個人
聴覚と触覚を利用する速度計
3日前
日本精機株式会社
車両用表示装置
2か月前
個人
音による速度計とプログラム
1か月前
日本精機株式会社
車両用報知装置
1か月前
日本精機株式会社
車両用表示装置
4か月前
株式会社SUBARU
車両
2か月前
エムケー精工株式会社
車両処理装置
2か月前
帝人株式会社
衝撃吸収構造体
3か月前
ダイハツ工業株式会社
変速機
3か月前
ダイハツ工業株式会社
変速機
3か月前
日本化薬株式会社
ガス発生器
2か月前
ダイハツ工業株式会社
変速機
3か月前
ダイハツ工業株式会社
変速機
3か月前
日本化薬株式会社
ガス発生器
12日前
続きを見る
他の特許を見る