TOP
|
特許
|
意匠
|
商標
特許ウォッチ
Twitter
他の特許を見る
公開番号
2025169865
公報種別
公開特許公報(A)
公開日
2025-11-14
出願番号
2024208104
出願日
2024-11-29
発明の名称
携帯電話検知装置
出願人
點子行動科技股分有限公司
,
iMT Co., Ltd.
代理人
個人
主分類
G01N
21/84 20060101AFI20251107BHJP(測定;試験)
要約
【課題】携帯電話検知装置を提供する。
【解決手段】本体であって、本体の一端に形成されている第1傾斜面と、本体の内部に形成され、第1傾斜面に連通されている検出スペースと、を含み、検出スペースは、第1傾斜面に隣接する第2傾斜面と、第1傾斜面に対応するように設置され、第2傾斜面に隣接する第3傾斜面と、を具備している本体と、第1傾斜面上に設置され、検出スペースを選択可能に遮蔽するカバーと、本体中に移動可能に設置され、且つ第2傾斜面に対応するように設置され、携帯電話を第1位置から第2位置まで選択可能に押動する押し棒と、検出スペース中に設置され、且つカバーに対応するように設置され、携帯電話の検知画像を選択可能に取得するカメラ組み立て部材と、を備えている。
【選択図】図1
特許請求の範囲
【請求項1】
高さ方向に沿って延伸されている本体であって、
前記本体の一端に形成されている第1傾斜面と、
前記本体の内部に形成され、前記第1傾斜面に連通されている検出スペースであって、前記検出スペースは、前記第1傾斜面に隣接し、携帯電話の第1表面に選択可能に接触する第2傾斜面と、前記第1傾斜面に対応するように設置され、前記第2傾斜面に隣接し、前記携帯電話の第2表面に選択可能に接触する第3傾斜面と、を含む検出スペースと、を具備する本体と、
前記第1傾斜面上に設置され、前記検出スペースを選択可能に遮蔽するカバーと、
本体中に移動可能に設置され、且つ前記第2傾斜面に対応するように設置され、前記携帯電話を第1位置から第2位置まで選択可能に押動し、前記第1位置にある場合、前記携帯電話の前記第1表面は前記第2傾斜面に接触し、前記第2位置にある場合、前記携帯電話の前記第2表面は前記第3傾斜面に接触する押し棒と、
前記検出スペース中に設置され、且つ前記カバーに対応するように設置され、前記カバーが前記検出スペースを選択可能に遮蔽する際に、前記携帯電話の前記第1表面及び前記第2表面の検知画像を取得するカメラ組み立て部材と、を備えていることを特徴とする携帯電話検知装置。
続きを表示(約 1,900 文字)
【請求項2】
前記検出スペースは、前記斜第1傾斜面及び前記第3傾斜面にそれぞれ連接され、前記第2傾斜面に対応するように設置されている第4傾斜面を更に備え、
前記カメラ組み立て部材は、前記第4傾斜面の前記検出スペースに接触する一側に設置され、前記第2傾斜面上に載置される前記携帯電話の前記第2表面の画像を選択可能に取得する第1カメラと、前記カバーの前記検出スペースに接触する一側に設置され、前記第3傾斜面上に載置されている前記携帯電話の前記第1表面の画像を選択可能に取得する第2カメラと、を備えていることを特徴とする請求項1に記載の携帯電話検知装置。
【請求項3】
前記第1傾斜面は前記第3傾斜面に相互に平行し、前記第2傾斜面は前記第4傾斜面に相互に平行していることを特徴とする請求項2に記載の携帯電話検知装置。
【請求項4】
前記検出スペース中に設置され、前記携帯電話に対して照明を選択可能に供給する照明器具を更に備えていることを特徴とする請求項1に記載の携帯電話検知装置。
【請求項5】
前記第2傾斜面と前記第3傾斜面との境界位置に回転可能に設置されている円弧部を更に備え、前記携帯電話の一端は前記円弧部に選択可能に連接され、前記押し棒が前記携帯電話を押動する際に、前記携帯電話が前記第2傾斜面と前記第3傾斜面との境界位置を枢動軸として前記円弧部を駆動し、前記本体進行に対して枢動させ、前記携帯電話の前記第2表面を前記第3傾斜面に接触させることを特徴とする請求項1に記載の携帯電話検知装置。
【請求項6】
前記円弧部上に設置され、前記携帯電話に選択可能に接続され、前記携帯電話が少なくとも1つのアプリケーションプログラムを実行するように制御し、前記携帯電話の端末データ及び前記アプリケーションプログラム実行時の端末負荷を記録し、前記端末データは、携帯電話の型番、携帯電話のブランド、製造年月日、または保証期限を含み、前記端末負荷は、電池消費量、端末温度、処理能力、スピーカー音量、スピーカーのノイズ、またはボタンフィードバックを含むデータコネクタと、
前記本体に設置され、前記データコネクタ及び前記カメラ組み立て部材にそれぞれ接続されているプロセッサと、を更に備え、
前記プロセッサは、選択可能に、
前記端末データを受信すると共に、減価償却指数を取得し、
前記端末負荷を受信すると共に、これを基準値と比較し、比較した差に基づいて第1パフォーマンス評価を生成し、
前記検知画像を受信し、前記検知画像中の前記携帯電話の欠陥部位を標記し、標記位置に対して損害程度評価を行って第2パフォーマンス評価を生成し、或いは、
前記減価償却指数、前記第1パフォーマンス評価、及び前記第2パフォーマンス評価の重み演算を行い、鑑定指数を取得し、前記携帯電話の元の販売価格と前記鑑定指数とを乗算し、前記携帯電話のリサイクル価値を計算することを特徴とする請求項5に記載の携帯電話検知装置。
【請求項7】
前記第1傾斜面上に設置され、前記減価償却指数、前記第1パフォーマンス評価、前記第2パフォーマンス評価、及び前記リサイクル価値を選択可能に表示する表示パネルを更に備えていることを特徴とする請求項6に記載の携帯電話検知装置。
【請求項8】
前記第2傾斜面の前記検出スペースに接触する一側に設置され、或いは、前記第3傾斜面の前記検出スペースに接触する一側に設置されているクッションパッドを更に備えていることを特徴とする請求項1に記載の携帯電話検知装置。
【請求項9】
前記検出スペースと相互に間隔を置いて前記本体の内部に形成され、前記検出スペースに連通され、前記携帯電話を選択可能に受容する収納スペースと、
前記収納スペース中に設置され、前記携帯電話を置く過程で受ける縦方向衝撃力を選択可能に緩和するバッファバッフルと、
前記収納スペースの前記本体に接触する一側に設置され、前記携帯電話を置く過程で受ける横方向衝撃力を選択可能に緩和するバッファ接着材と、を更に備えていることを特徴とする請求項1に記載の携帯電話検知装置。
【請求項10】
前記第2傾斜面の前記第3傾斜面に接触する位置に穿設され、前記収納スペース及び前記検出スペースにそれぞれ連通されている開口部と、
前記第2傾斜面に移動可能に設置され、前記開口部を選択可能に開閉し、前記携帯電話を前記検出スペースから前記収納スペース中までスライドさせるドアパネルと、を更に備えていることを特徴とする請求項9に記載の携帯電話検知装置。
発明の詳細な説明
【技術分野】
【0001】
本発明は、検知装置に関し、より詳しくは、携帯電話を検知する検知装置に関するものである。
続きを表示(約 2,200 文字)
【背景技術】
【0002】
従来の携帯電話の検知は、通常は携帯電話を実店舗に持ち込み、現場で人力で欠陥の検知を行う。
【発明の概要】
【発明が解決しようとする課題】
【0003】
しかしながら、従来の検知ステップが複雑であり、待ち時間が長く、人力で判定するため、検知作業員の主観の影響を免れず、異なる検知作業員が同じ携帯電話の検知を行った場合、多様な検知結果が得られる可能性があり、携帯電話の所有者が情報に混乱することになった。以上を総合すると、人力で判別する必要のない検知装置を提供し、携帯電話の検知基準を明確に確立し、検知結果を迅速に提供することが現在求められている。
【0004】
そこで、本発明者は上記の欠点が改善可能と考え、鋭意検討を重ねた結果、合理的設計で上記の課題を効果的に改善する本発明の提案に至った。
【0005】
本発明は、かかる事情に鑑みてなされたものであり、その目的とするところは、携帯電話検知装置を提供することにある。
【課題を解決するための手段】
【0006】
上記目的を達成するために、本発明の携帯電話検知装置は以下の手段を採用する。
すなわち、高さ方向に沿って延伸されている本体であって、前記本体の一端に形成されている第1傾斜面と、前記本体の内部に形成され、前記第1傾斜面に連通されている検出スペースであって、前記検出スペースは、前記第1傾斜面に隣接し、携帯電話の第1表面に選択可能に接触する第2傾斜面と、前記第1傾斜面に対応するように設置され、前記第2傾斜面に隣接し、前記携帯電話の第2表面に選択可能に接触する第3傾斜面と、を含む検出スペースと、を具備する本体と、前記第1傾斜面上に設置され、前記検出スペースを選択可能に遮蔽するカバーと、本体中に移動可能に設置され、且つ前記第2傾斜面に対応するように設置され、前記携帯電話を第1位置から第2位置まで選択可能に押動し、前記第1位置にある場合、前記携帯電話の前記第1表面は前記第2傾斜面に接触し、前記第2位置にある場合、前記携帯電話の前記第2表面は前記第3傾斜面に接触する押し棒と、前記検出スペース中に設置され、且つ前記カバーに対応するように設置され、前記カバーが前記検出スペースを選択可能に遮蔽する際に、前記携帯電話の前記第1表面及び前記第2表面の検知画像を取得するカメラ組み立て部材と、を備えている。
【発明の効果】
【0007】
このように、本発明によれば、次のような効果がある。
本発明は、携帯電話の表裏両側の画像を順次獲得し、携帯電話の外観に対して完全な欠陥検査を行う。前記カバーはカメラ組み立て部材に対応するように設置され、カバーが密封状態であり、且つ検出スペースが封止状態にある場合に、前記カメラ組み立て部材が携帯電話の撮影を開始し、検知過程で携帯電話が完全に干渉を受けないようにし、検知精度に影響が出ないようにしている。また、前記第1カメラ及び前記第2カメラは携帯電話の第2表面及び第1表面の正面方向にそれぞれアライメント調整することで、検知画像の精度を確保し、検知された欠陥部位のサイズ及び位置を携帯電話の実際の状態に適合させ、角度の偏差による不規則な偏移を発生させず、試験結果が歪まないようにしている。具体的には、本発明は同じ試験基準により携帯電話の欠陥を迅速に判別し、携帯電話の価値を確実に評価し、携帯電話の所有者が携帯電話の全体的な状態を明確に理解可能にし、リサイクルする際に適切なフィードバックを獲得できるようにしている。
【0008】
後述する明細書及び図面の記載から、少なくとも以下の事項が明らかとなる。
【図面の簡単な説明】
【0009】
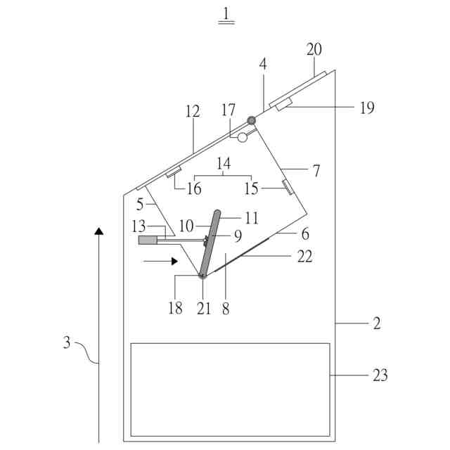
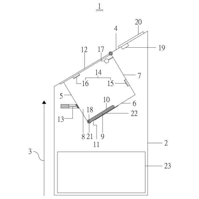
本発明の一実施例に係る携帯電話検知装置の構造特徴と携帯電話が第2傾斜面に置かれている状態を説明するための断面斜視図である。
本発明の一実施例に係る携帯電話検知装置の構造特徴と携帯電話を押し棒で押した状態を説明するための断面斜視図である。
本発明の一実施例に係る携帯電話検知装置の構造特徴と携帯電話が第 3傾斜面に置かれている状態を説明するための断面斜視図である。
本発明の一実施例に係るθ1からθ4までの相対関係を説明するための断面斜視図である。
本発明の一実施例に係る携帯電話の収集とバッファリング構造を説明するため一連の断面斜視図である。
本発明の一実施例に係る携帯電話の収集とバッファリング構造を説明するための一連の断面斜視図である。
本発明の一実施例に係る携帯電話のテストステップを説明するための一連の断面斜視図である。
本発明の一実施例に係る携帯電話のテストステップを説明するための一連の断面斜視図である。
【発明を実施するための形態】
【0010】
以下、発明の実施の形態を通じて本発明を説明するが、以下の実施形態は特許請求の範囲にかかる発明を限定するものではない。また、実施形態の中で説明されている特徴の組み合わせの全てが発明の解決手段に必須であるとは限らない。
(【0011】以降は省略されています)
この特許をJ-PlatPat(特許庁公式サイト)で参照する
関連特許
點子行動科技股分有限公司
携帯電話検知装置
6日前
個人
採尿及び採便具
21日前
日本精機株式会社
検出装置
15日前
個人
計量機能付き容器
10日前
個人
高精度同時多点測定装置
1か月前
個人
アクセサリー型テスター
1か月前
甲神電機株式会社
電流検出装置
15日前
株式会社ミツトヨ
測定器
27日前
株式会社カクマル
境界杭
今日
アズビル株式会社
電磁流量計
1か月前
大成建設株式会社
風洞実験装置
10日前
ダイキン工業株式会社
監視装置
1か月前
株式会社ヨコオ
ソケット
1か月前
株式会社ヨコオ
ソケット
1か月前
トヨタ自動車株式会社
監視装置
1か月前
TDK株式会社
ガスセンサ
1か月前
大和製衡株式会社
組合せ計量装置
24日前
大和製衡株式会社
組合せ計量装置
24日前
愛知電機株式会社
軸部材の外観検査装置
24日前
TDK株式会社
磁気センサ
1か月前
個人
非接触による電磁パルスの測定方法
13日前
愛知時計電機株式会社
ガスメータ
27日前
日本信号株式会社
距離画像センサ
13日前
長崎県
形状計測方法
1か月前
双庸電子株式会社
誤配線検査装置
16日前
個人
計量具及び計量機能付き容器
10日前
日本特殊陶業株式会社
ガスセンサ
8日前
ローム株式会社
半導体装置
1か月前
ローム株式会社
半導体装置
1か月前
個人
システム、装置及び実験方法
1か月前
中国電力株式会社
電柱管理システム
1か月前
日東精工株式会社
振動波形検査装置
16日前
株式会社デンソー
電流センサ
1か月前
キーコム株式会社
画像作成システム
今日
ダイハツ工業株式会社
移動支援装置
1か月前
株式会社不二越
X線測定装置
13日前
続きを見る
他の特許を見る