TOP
|
特許
|
意匠
|
商標
特許ウォッチ
Twitter
他の特許を見る
公開番号
2025164931
公報種別
公開特許公報(A)
公開日
2025-10-30
出願番号
2025144331,2024574522
出願日
2025-09-01,2024-07-26
発明の名称
光学積層体および該光学積層体を用いた画像表示装置
出願人
日東電工株式会社
代理人
弁理士法人籾井特許事務所
主分類
G02B
5/30 20060101AFI20251023BHJP(光学)
要約
【課題】液晶配向固化層を含み、かつ、画像表示装置に適用された場合に特定の表示ムラを抑制し得る光学積層体を提供すること。
【解決手段】本発明の実施形態による光学積層体は、偏光子を含む偏光板と、偏光板に第1接着剤層を介して積層された位相差層と、を有する。位相差層は、偏光板側から順に、第1液晶配向固化層と、第1液晶配向固化層に第2接着剤層を介して積層された第2液晶配向固化層と、を含む。位相差層は、全体として、円偏光機能または楕円偏光機能を有し、かつ、Re(450)<Re(550)<Re(650)の関係を有する。第1接着剤層および第2接着剤層の少なくとも一方の厚みは300nm以下である。
【選択図】図1
特許請求の範囲
【請求項1】
偏光子を含む偏光板と、該偏光板に第1接着剤層を介して積層された位相差層と、を有し、
該位相差層が、該偏光板側から順に、第1液晶配向固化層と、該第1液晶配向固化層に第2接着剤層を介して積層された第2液晶配向固化層と、を含み、
該位相差層が、全体として、円偏光機能または楕円偏光機能を有し、かつ、Re(450)<Re(550)<Re(650)の関係を有し、
該第1接着剤層および該第2接着剤層の少なくとも一方の厚みが300nm以下である、
光学積層体。
続きを表示(約 320 文字)
【請求項2】
前記第1接着剤層および前記第2接着剤層の厚みがそれぞれ200nm以下である、請求項1に記載の光学積層体。
【請求項3】
前記第1接着剤層および前記第2接着剤層の少なくとも一方の厚みが100nm以下である、請求項1に記載の光学積層体。
【請求項4】
前記第1接着剤層および前記第2接着剤層の少なくとも一方の厚みが50nm以下である、請求項3に記載の光学積層体。
【請求項5】
前記厚みが300nm以下である接着剤層が水系接着剤で構成されている、請求項1に記載の光学積層体。
【請求項6】
請求項1から5のいずれかに記載の光学積層体を含む、画像表示装置。
発明の詳細な説明
【技術分野】
【0001】
本発明は、光学積層体および該光学積層体を用いた画像表示装置に関する。
続きを表示(約 2,500 文字)
【背景技術】
【0002】
近年、液晶表示装置およびエレクトロルミネセンス(EL)表示装置(例えば、有機EL表示装置、無機EL表示装置)に代表される画像表示装置が急速に普及している。画像表示装置には、多くの場合、位相差フィルムを含む光学積層体(例えば、偏光板と位相差フィルムとを一体化した反射防止フィルム)が用いられている。近年、画像表示装置の薄型化への要望が強くなるに伴って、光学積層体についても薄型化の要望が強まっている。光学積層体の薄型化を目的として、厚みに対する寄与の大きい位相差層(位相差フィルム)の薄型化が進んでいる。薄型の位相差フィルムの代表例としては、液晶化合物を配向させてその配向状態を固定したフィルム(以下、液晶フィルムと称する)が挙げられる。液晶化合物は樹脂に比べて複屈折(Δn)が格段に大きいので、液晶フィルムは、所望の面内位相差を得るための厚みを樹脂フィルムの延伸フィルムに比べて格段に小さくすることができる。しかし、液晶フィルムを含む光学積層体を用いた画像表示装置は、視認環境によっては、表示ムラ(具体的には、偏光子の吸収軸方向にピンクの色が特に目立つ細い線が視認される現象)が生じる場合がある。
【先行技術文献】
【特許文献】
【0003】
特開2014-222282号公報
【発明の概要】
【発明が解決しようとする課題】
【0004】
本発明は上記従来の課題を解決するためになされたものであり、その主たる目的は、液晶配向固化層を含み、かつ、画像表示装置に適用された場合に特定の表示ムラを抑制し得る光学積層体を提供することにある。
【課題を解決するための手段】
【0005】
[1]本発明の実施形態による光学積層体は、偏光子を含む偏光板と、該偏光板に第1接着剤層を介して積層された位相差層と、を有し;該位相差層は、該偏光板側から順に、第1液晶配向固化層と、該第1液晶配向固化層に第2接着剤層を介して積層された第2液晶配向固化層と、を含み;該位相差層は、全体として、円偏光機能または楕円偏光機能を有し、かつ、Re(450)<Re(550)<Re(650)の関係を有し;該第1接着剤層および該第2接着剤層の少なくとも一方の厚みは300nm以下である。
[2]上記[1]において、上記第1接着剤層および上記第2接着剤層の厚みはそれぞれ200nm以下である。
[3]上記[1]または[2]において、上記第1接着剤層および上記第2接着剤層の少なくとも一方の厚みは100nm以下である。
[4]上記[3]において、上記第1接着剤層および上記第2接着剤層の少なくとも一方の厚みは50nm以下である。
[5]上記[1]から[4]のいずれかにおいて、上記厚みが300nm以下である接着剤層は水系接着剤で構成されている。
[6]本発明の別の局面によれば、画像表示装置が提供される。該画像表示装置は、上記[1]から[5]の光学積層体を含む。
【発明の効果】
【0006】
本発明の実施形態によれば、液晶配向固化層を含み、かつ、画像表示装置に適用された場合に特定の表示ムラを抑制し得る光学積層体を実現することができる。
【図面の簡単な説明】
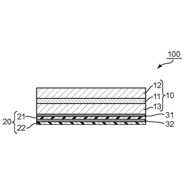
【0007】
本発明の1つの実施形態による光学積層体の概略断面図である。
【発明を実施するための形態】
【0008】
以下、本発明の代表的な実施形態について説明するが、本発明はこれらの実施形態には限定されない。
【0009】
(用語および記号の定義)
本明細書における用語および記号の定義は下記の通りである。
(1)屈折率(nx、ny、nz)
「nx」は面内の屈折率が最大になる方向(すなわち、遅相軸方向)の屈折率であり、「ny」は面内で遅相軸と直交する方向(すなわち、進相軸方向)の屈折率であり、「nz」は厚み方向の屈折率である。
(2)面内位相差(Re)
「Re(λ)」は、23℃における波長λnmの光で測定したフィルムの面内位相差である。例えば、「Re(550)」は、23℃における波長550nmの光で測定したフィルムの面内位相差である。Re(λ)は、フィルムの厚みをd(nm)としたとき、式:Re=(nx-ny)×dによって求められる。
(3)厚み方向の位相差(Rth)
「Rth(λ)」は、23℃における波長λnmの光で測定したフィルムの厚み方向の位相差である。例えば、「Rth(550)」は、23℃における波長550nmの光で測定したフィルムの厚み方向の位相差である。Rth(λ)は、フィルムの厚みをd(nm)としたとき、式:Rth=(nx-nz)×dによって求められる。
(4)Nz係数
Nz係数は、Nz=Rth/Reによって求められる。
(5)角度
本明細書において角度に言及するときは、特に明記しない限り、当該角度は時計回りおよび反時計回りの両方の方向の角度を包含する。
【0010】
A.光学積層体
図1は、本発明の1つの実施形態による光学積層体の概略断面図である。図示例の光学積層体100は、偏光板10と、偏光板10に第1接着剤層31を介して積層された位相差層20と、を有する。偏光板10は、代表的には、偏光子11と、偏光子11の両側に配置された保護層12、13とを含む。目的に応じて、保護層12、13の少なくとも一方は省略されてもよい。したがって、偏光板は、いわゆる両保護偏光板であってもよく、いわゆる片保護偏光板であってもよく、偏光子単独で構成されていてもよい。1つの実施形態においては、偏光板は、保護層13が省略された片保護偏光板であり得る。
(【0011】以降は省略されています)
この特許をJ-PlatPat(特許庁公式サイト)で参照する
関連特許
日東電工株式会社
積層体
1か月前
日東電工株式会社
導光部材
13日前
日東電工株式会社
照明装置
1か月前
日東電工株式会社
シート体
1か月前
日東電工株式会社
光ファイバ
1か月前
日東電工株式会社
粘着シート
1か月前
日東電工株式会社
粘着シート
1か月前
日東電工株式会社
粘着シート
27日前
日東電工株式会社
光学積層体
15日前
日東電工株式会社
粘着シート
1か月前
日東電工株式会社
粘着シート
今日
日東電工株式会社
調光フィルム
1か月前
日東電工株式会社
配線回路基板
1か月前
日東電工株式会社
配線回路基板
13日前
日東電工株式会社
スイッチ装置
1か月前
日東電工株式会社
表面保護シート
1か月前
日東電工株式会社
ロール体の製造方法
今日
日東電工株式会社
導光体、及び照明装置
1か月前
日東電工株式会社
多孔質ポリマーシート
今日
日東電工株式会社
配線回路基板の製造方法
1か月前
日東電工株式会社
積層フィルムの製造方法
1か月前
日東電工株式会社
積層フィルムの製造方法
1か月前
日東電工株式会社
分離機能層、及び分離膜
1か月前
日東電工株式会社
分離機能層、及び分離膜
1か月前
日東電工株式会社
レンズ及び内視鏡用部材
1か月前
日東電工株式会社
光半導体素子封止用シート
24日前
日東電工株式会社
フレキシブル多層回路基板
今日
日東電工株式会社
積層光学部材及び光学装置
1か月前
日東電工株式会社
高分子分散型液晶フィルム
1か月前
日東電工株式会社
ポリマー粒子およびその利用
1か月前
日東電工株式会社
粘着シートおよび光半導体装置
今日
日東電工株式会社
情報カードおよびその製造方法
13日前
日東電工株式会社
反射防止フィルム及びその製造方法
8日前
日東電工株式会社
積層光学フィルムおよび画像表示装置
29日前
日東電工株式会社
積層光学フィルムおよび画像表示装置
29日前
日東電工株式会社
粘着シートおよびフレキシブルデバイス
1か月前
続きを見る
他の特許を見る