TOP
|
特許
|
意匠
|
商標
特許ウォッチ
Twitter
他の特許を見る
公開番号
2025164598
公報種別
公開特許公報(A)
公開日
2025-10-30
出願番号
2024068688
出願日
2024-04-19
発明の名称
クランプ式電流計及び電流測定方法
出願人
横河電機株式会社
,
横河計測株式会社
代理人
個人
,
個人
,
個人
主分類
G01R
1/22 20060101AFI20251023BHJP(測定;試験)
要約
【課題】狭所での作業性に優れるクランプ式電流計及び電流測定方法を提供する。
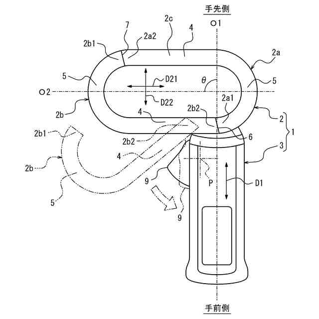
【解決手段】クランプ部と前記クランプ部に連なる細長い把持部とを有し、前記クランプ部は、前記把持部と一体の基部と、前記基部に対する移動が可能な可動部とを有し、前記可動部の上記移動により、正面視で細長いループ状をなす閉状態と、前記正面視で非ループ状をなす開状態との間で動作し、前記正面視において、前記閉状態の前記クランプ部の長手方向は、前記把持部の長手方向に対して45°を越え直角以下の角度をなし、前記基部は、前記把持部から前記閉状態の前記クランプ部の短手方向での前記クランプ部の手先側端部まで延び、前記可動部は、前記把持部から前記クランプ部の前記手先側端部まで延び、手前側への上記移動によって前記クランプ部を前記閉状態から前記開状態にする、クランプ式電流計。
【選択図】図1
特許請求の範囲
【請求項1】
クランプ部と前記クランプ部に連なる細長い把持部とを有し、
前記クランプ部は、前記把持部と一体の基部と、前記基部に対する移動が可能な可動部とを有し、前記可動部の上記移動により、正面視で細長いループ状をなす閉状態と、前記正面視で非ループ状をなす開状態との間で動作し、
前記正面視において、前記閉状態の前記クランプ部の長手方向は、前記把持部の長手方向に対して45°を越え直角以下の角度をなし、
前記基部は、前記把持部から前記閉状態の前記クランプ部の短手方向での前記クランプ部の手先側端部まで延び、
前記可動部は、前記把持部から前記クランプ部の前記手先側端部まで延び、手前側への上記移動によって前記クランプ部を前記閉状態から前記開状態にする、クランプ式電流計。
続きを表示(約 1,000 文字)
【請求項2】
前記正面視において、前記閉状態の前記クランプ部の前記長手方向が前記把持部の前記長手方向に対してなす前記角度は、直角である、請求項1に記載のクランプ式電流計。
【請求項3】
前記クランプ部は、前記クランプ部の前記短手方向に互いに対向しそれぞれ前記クランプ部の前記長手方向に直線状に延びる一対の直線部と、前記クランプ部の前記長手方向に互いに対向しそれぞれ前記クランプ部の径方向外側に突出するように湾曲する一対の湾曲部とを有する、請求項1に記載のクランプ式電流計。
【請求項4】
各々の前記湾曲部は、半円弧状に湾曲する、請求項3に記載のクランプ式電流計。
【請求項5】
前記クランプ部の前記基部は、前記把持部に一体に連なり一方の前記湾曲部と一方の前記直線部との把持部側境界部に位置する把持部側端部から、他方の前記湾曲部と他方の前記直線部との非把持部側境界部に位置する非把持部側端部まで延び、
前記クランプ部の前記可動部は、前記把持部側境界部に位置する非開閉側端部から、前記非把持部側境界部に位置する開閉側端部まで延び、前記正面視において前記基部に対して上記移動としての回動ができるように前記把持部に連なり、
前記クランプ部は、前記開状態において前記基部の前記非把持部側端部と前記可動部の前記開閉側端部との間に測定対象を通すことができる、請求項3に記載のクランプ式電流計。
【請求項6】
前記把持部を把持して押し込み操作されることで前記クランプ部の前記可動部の上記移動としての前記回動を生じさせるトリガを有する、請求項5に記載のクランプ式電流計。
【請求項7】
前記クランプ部は、前記閉状態において、測定対象である3本のワイヤを前記クランプ部の前記長手方向に並べて収容する、請求項1に記載のクランプ式電流計。
【請求項8】
前記クランプ部の前記短手方向の外径は64mm以下である、請求項1に記載のクランプ式電流計。
【請求項9】
交流電源設備の漏れ電流を測定する、請求項1に記載のクランプ式電流計。
【請求項10】
請求項1~9の何れか1項に記載のクランプ式電流計による電流測定方法であって、
主幹配線と分岐配線とが配置される分電盤内で、測定対象である前記主幹配線を前記クランプ式電流計の前記クランプ部内に配置して電流を測定する、電流測定方法。
(【請求項11】以降は省略されています)
発明の詳細な説明
【技術分野】
【0001】
本開示はクランプ式電流計及び電流測定方法に関する。
続きを表示(約 1,100 文字)
【背景技術】
【0002】
クランプ部とクランプ部に連なる細長い把持部とを有するクランプ式電流計が知られている(例えば特許文献1~3参照)。
【先行技術文献】
【特許文献】
【0003】
意匠登録第1434290号公報
特開2020-8567号公報
【非特許文献】
【0004】
クランプメータDCM600DR(三和電機計器)カタログ(https://www.sanwa-meter.co.jp/japan/products/clamp/dcm600dr.html)
【発明の概要】
【発明が解決しようとする課題】
【0005】
本開示の目的は、狭所での作業性に優れるクランプ式電流計及び電流測定方法を提供することにある。
【課題を解決するための手段】
【0006】
本開示の一態様は以下のとおりである。
【0007】
[1]
クランプ部と前記クランプ部に連なる細長い把持部とを有し、
前記クランプ部は、前記把持部と一体の基部と、前記基部に対する移動が可能な可動部とを有し、前記可動部の上記移動により、正面視で細長いループ状をなす閉状態と、前記正面視で非ループ状をなす開状態との間で動作し、
前記正面視において、前記閉状態の前記クランプ部の長手方向は、前記把持部の長手方向に対して45°を越え直角以下の角度をなし、
前記基部は、前記把持部から前記閉状態の前記クランプ部の短手方向での前記クランプ部の手先側端部まで延び、
前記可動部は、前記把持部から前記クランプ部の前記手先側端部まで延び、手前側への上記移動によって前記クランプ部を前記閉状態から前記開状態にする、クランプ式電流計。
【0008】
[2]
前記正面視において、前記閉状態の前記クランプ部の前記長手方向が前記把持部の前記長手方向に対してなす前記角度は、直角である、[1]に記載のクランプ式電流計。
【0009】
[3]
前記クランプ部は、前記クランプ部の前記短手方向に互いに対向しそれぞれ前記クランプ部の前記長手方向に直線状に延びる一対の直線部と、前記クランプ部の前記長手方向に互いに対向しそれぞれ前記クランプ部の径方向外側に突出するように湾曲する一対の湾曲部とを有する、[1]又は[2]に記載のクランプ式電流計。
【0010】
[4]
各々の前記湾曲部は、半円弧状に湾曲する、[3]に記載のクランプ式電流計。
(【0011】以降は省略されています)
この特許をJ-PlatPat(特許庁公式サイト)で参照する
関連特許
横河電機株式会社
磁気コア
29日前
横河電機株式会社
クランプ式電流計及び電流測定方法
23日前
横河電機株式会社
測定装置、測定方法、及び、プログラム
16日前
横河電機株式会社
更新されたエイリアス情報のフィルタ処理
4日前
横河電機株式会社
センタリングデバイスおよび流量計ユニット
15日前
横河電機株式会社
情報処理装置、表示方法および表示プログラム
15日前
横河電機株式会社
情報生成装置、情報生成システムおよび情報生成方法
23日前
横河電機株式会社
記録計、バックアップ方法及びバックアッププログラム
15日前
横河電機株式会社
液体サンプルバルブ、ガスクロマトグラフ装置、洗浄方法、および洗浄プログラム
18日前
横河電機株式会社
設備を保守するための装置、方法、およびプログラム
25日前
個人
採尿及び採便具
23日前
日本精機株式会社
検出装置
17日前
個人
計量機能付き容器
12日前
個人
高精度同時多点測定装置
1か月前
個人
アクセサリー型テスター
1か月前
株式会社ミツトヨ
測定器
29日前
甲神電機株式会社
電流検出装置
17日前
株式会社カクマル
境界杭
2日前
アズビル株式会社
電磁流量計
1か月前
大成建設株式会社
風洞実験装置
12日前
愛知電機株式会社
軸部材の外観検査装置
26日前
個人
システム、装置及び実験方法
1か月前
ローム株式会社
半導体装置
1か月前
ローム株式会社
半導体装置
1か月前
個人
非接触による電磁パルスの測定方法
15日前
愛知時計電機株式会社
ガスメータ
29日前
日本信号株式会社
距離画像センサ
15日前
大和製衡株式会社
組合せ計量装置
26日前
大和製衡株式会社
組合せ計量装置
26日前
双庸電子株式会社
誤配線検査装置
18日前
長崎県
形状計測方法
1か月前
日本特殊陶業株式会社
ガスセンサ
10日前
個人
計量具及び計量機能付き容器
12日前
トヨタ自動車株式会社
測定システム
1か月前
キーコム株式会社
画像作成システム
2日前
個人
液位検視及び品質監視システム
10日前
続きを見る
他の特許を見る