TOP
|
特許
|
意匠
|
商標
特許ウォッチ
Twitter
他の特許を見る
公開番号
2025170223
公報種別
公開特許公報(A)
公開日
2025-11-18
出願番号
2025076934
出願日
2025-05-02
発明の名称
更新されたエイリアス情報のフィルタ処理
出願人
横河電機株式会社
代理人
個人
,
個人
,
個人
,
個人
主分類
H04L
41/085 20220101AFI20251111BHJP(電気通信技術)
要約
【課題】エイリアスに関連付けられたフィルタ処理された更新されたリソースの要求を実行するための方法、システム、および装置を提供する。
【解決手段】CPCは、1つまたは複数のリソースに関連付けられた登録済みエイリアスの、フィルタ処理された更新されたリストを要求するよう構成され得る。更新されたリストは、CPCがホストされているDCNの状態に基づいてフィルタ処理され得る。たとえば、更新されたリストは、以前のリストの受信に関連付けられたタイムスタンプ、DCNが関連付けられたグループ、製造元、ならびに/または(DCNおよび/もしくは更新に関連付けられた)セキュリティレベルに基づいてフィルタ処理され得る。
【選択図】図5
特許請求の範囲
【請求項1】
プロセスオートメーション施設における分散制御ノード(DCN)上にホストされるクロスプラットフォームクライアントによって実施される方法であって、前記方法が、1つまたは複数のプロセッサを使用して実施され、
登録済みエイリアスのリストを、1つまたは複数のプロセスオートメーションネットワークを介してエイリアスサーバから受信するステップであって、登録済みエイリアスの前記リストが、
前記プロセスオートメーションネットワーク上の他のDCNによってホストされるリソースと、
前記リソースに割り当てられた人間可読エイリアスと
を含む、ステップと、
前記DCNが登録済みエイリアスの前記リストを受信したときの前記DCNの状態の1つまたは複数の態様をメモリに記録するステップと、
登録済みエイリアスの更新されたリストの要求を策定するステップであって、前記要求が、前記エイリアスサーバに、すべての登録済みエイリアスよりも少ない数のエイリアスを返すようにさせる、前記DCNの前記状態の前記1つまたは複数の態様のうちの1つまたは複数の指示を含む、ステップと、
登録済みエイリアスの更新されたリストの前記要求を、前記プロセスオートメーションネットワークのうちの1つまたは複数を介して前記エイリアスサーバに送信するステップと、
登録済みエイリアスの前記更新されたリストを、前記プロセスオートメーションネットワークのうちの1つまたは複数を介して前記エイリアスサーバから受信するステップであって、登録済みエイリアスの前記更新されたリストが、前記DCNの前記状態に関連付けられた1つまたは複数の基準を満たす対応するエイリアスを有する1つまたは複数のリソースを除外する、ステップと
を含む、方法。
続きを表示(約 1,600 文字)
【請求項2】
前記DCNの前記状態の前記1つまたは複数の態様は、前記DCNが登録済みエイリアスの前記リストを受信した時刻を含み、前記1つまたは複数の基準が、前記時刻以降変更されていない対応するエイリアスを有するリソースを含む、請求項1に記載の方法。
【請求項3】
登録済みエイリアスの前記更新されたリストが、登録済みエイリアスの前記リストの受信に関連付けられた前記時刻以降に修正された登録済みエイリアスを含む、請求項2に記載の方法。
【請求項4】
登録済みエイリアスの前記更新されたリストが、登録済みエイリアスの前記リストの受信に関連付けられた前記時刻以降に追加された登録済みエイリアスを含む、請求項2に記載の方法。
【請求項5】
登録済みエイリアスの前記更新されたリストが、登録済みエイリアスの前記リストの受信に関連付けられた前記時刻以降に削除された登録済みエイリアスを含む、請求項2に記載の方法。
【請求項6】
登録済みエイリアスの前記リストを受信した後に、1つまたは複数の選択された登録済みエイリアスが、前記プロセスオートメーションネットワーク上の別のDCNによってホストされるリソースに割り当てられる、請求項1に記載の方法。
【請求項7】
前記1つまたは複数の選択された登録済みエイリアスが、前記更新されたリストに含まれる、請求項6に記載の方法。
【請求項8】
登録済みエイリアスの前記リストを受信した後に、前記登録済みエイリアスのうちの1つまたは複数が、前記他のDCNによってホストされる前記リソースのうちの1つまたは複数から割当て解除される、請求項1に記載の方法。
【請求項9】
前記1つまたは複数の割当て解除された登録済みエイリアスが、前記更新されたリストに含まれる、請求項8に記載の方法。
【請求項10】
命令を記憶する1つまたは複数の記憶デバイスと、
1つまたは複数のプロセッサであって、前記命令を実行して、前記1つまたは複数のプロセッサに、
登録済みエイリアスのリストを、分散制御ノード(DCN)上にホストされるクロスプラットフォームクライアントを含む1つまたは複数のプロセスオートメーションネットワークを介してエイリアスサーバから受信することであって、登録済みエイリアスの前記リストが、
前記プロセスオートメーションネットワーク上の他のDCNによってホストされるリソースと、
前記リソースに割り当てられた人間可読エイリアスと
を含む、受信することと、
前記DCNが登録済みエイリアスの前記リストを受信したときの前記DCNの状態の1つまたは複数の態様をメモリに記録することと、
登録済みエイリアスの更新されたリストの要求を策定することであって、前記要求が、前記エイリアスサーバに、すべての登録済みエイリアスよりも少ない数のエイリアスを返すようにさせる、前記DCNの前記状態の前記1つまたは複数の態様のうちの1つまたは複数の指示を含む、策定することと、
登録済みエイリアスの更新されたリストの前記要求を、前記プロセスオートメーションネットワークのうちの1つまたは複数を介して前記エイリアスサーバに送信することと、
登録済みエイリアスの前記更新されたリストを、前記プロセスオートメーションネットワークのうちの1つまたは複数を介して前記エイリアスサーバから受信することであって、登録済みエイリアスの前記更新されたリストが、前記DCNの前記状態に関連付けられた1つまたは複数の基準を満たす対応するエイリアスを有する1つまたは複数のリソースを除外する、受信することと
を含む動作を実行させるように動作可能である、1つまたは複数のプロセッサと
を備える、システム。
(【請求項11】以降は省略されています)
発明の詳細な説明
【技術分野】
【0001】
本開示は、更新されたエイリアス情報のフィルタ処理に関する。
続きを表示(約 3,600 文字)
【背景技術】
【0002】
プロセスオートメーション施設には、プロセス制御ループの管理を含む様々な異なるタスクを実行するように連携する多数のセンサー、アクチュエータ、および分散制御ノード(DCN)が含まれ得る。これらの様々な構成要素の追跡は煩雑になる場合がある。人間が多くの構成要素を直感的によりよく管理できるように、たとえばグローバルディスカバリサーバ(GDS)などのエイリアスサーバを使用して、ヒューマンフレンドリーなエイリアスを個々の構成要素に割り当てることができる。
【発明の概要】
【発明が解決しようとする課題】
【0003】
本明細書では、DCNによってホストされたクロスプラットフォームクライアント(CPC)およびGDSなどのプロセスオートメーションノード間のネットワークトラフィックおよび/またはボリュームを削減するための実施態様について説明する。より詳細には、限定はしないが、本明細書では、プロセスオートメーションノード間で交換されるデータのサイズを低減するために、エイリアス情報のフィルタリング検索に関する技法について説明する。いくつかの実施態様では、このフィルタ処理は時間に基づいていてもよい。たとえば、GDSは、エイリアスが登録された時刻を記録してもよい。GDSにエイリアスの更新を求めるクライアントは、たとえばエイリアスの更新を最後に受信した時刻を指定することができ、GDSは、指定された時刻以降に修正(たとえば追加、削除)されたエイリアスのみを返してもよい。結果として、GDSによって返されるデータには、クライアントがすでに所有しているエイリアス情報が含まれず、転送されるデータの量が減少する。プロセスオートメーション施設に典型的なノードの数が非常に多いこと、ならびにエイリアスの変更頻度を考慮すると、送信されるデータサイズのこの減少によって、プロセスオートメーションネットワークの負担が大幅に減る可能性がある。
【課題を解決するための手段】
【0004】
様々な実施態様では、プロセスオートメーション施設におけるDCN上にホストされるCPCは、登録済みエイリアス(registered alias)のリストを、1つまたは複数のプロセスオートメーションネットワークを介してエイリアスサーバから受信するように構成される。様々な実施態様では、登録済みエイリアスのリストは、プロセスオートメーションネットワーク上の他のDCNによってホストされるリソースと、リソースに割り当てられた人間可読エイリアスとを含む。様々な実施態様では、CPCは、DCNが登録済みエイリアスのリストを受信したときのDCNの状態の1つまたは複数の態様をメモリに記録するように構成される。様々な実施態様では、CPCは、登録済みエイリアスの更新されたリストの要求を策定するように構成される。様々な実施態様では、要求は、エイリアスサーバに、すべての登録済みエイリアスよりも少ない数のエイリアスを返すようにさせる、DCNの状態の態様のうちの1つまたは複数の指示を含む。様々な実施態様では、CPCは、登録済みエイリアスの更新されたリストの要求を、ネットワークのうちの1つまたは複数を介してエイリアスサーバに送信するように構成される。様々な実施態様では、CPCは、登録済みエイリアスの更新されたリストを、ネットワークのうちの1つまたは複数を介してエイリアスサーバから受信するように構成される。様々な実施態様では、登録済みエイリアスの更新されたリストは、DCNの状態に関連付けられた1つまたは複数の基準を満たす対応するエイリアスを有する1つまたは複数のリソースを除外する。
【0005】
様々な実施態様では、DCNの状態の1つまたは複数の態様は、DCNが登録済みエイリアスのリストを受信した時刻を含み、1つまたは複数の基準が、時刻以降変更されていない対応するエイリアスを有するリソースを含む。様々な実施態様では、登録済みエイリアスの更新されたリストは、登録済みエイリアスのリストの受信に関連付けられた時刻以降に修正された登録済みエイリアスを含む。様々な実施態様では、登録済みエイリアスの更新されたリストは、登録済みエイリアスのリストの受信に関連付けられた時刻以降に追加された登録済みエイリアスを含む。様々な実施態様では、登録済みエイリアスの更新されたリストは、登録済みエイリアスのリストの受信に関連付けられた時刻以降に削除された登録済みエイリアスを含む。様々な実施態様では、登録済みエイリアスのリストを受信した後に、1つまたは複数の選択された登録済みエイリアスが、プロセスオートメーションネットワーク上の別のDCNによってホストされるリソースに割り当てられる。様々な実施態様では、1つまたは複数の選択された登録済みエイリアスが、更新されたリストに含まれる。様々な実施態様では、登録済みエイリアスのリストを受信した後に、登録済みエイリアスのうちの1つまたは複数が、他のDCNによってホストされる1つまたは複数のリソースから割当て解除される。様々な実施態様では、1つまたは複数の割当て解除された登録済みエイリアスが、更新されたリストに含まれる。
【0006】
様々な実施態様では、本明細書に開示される特徴は、1つまたは複数のプロセッサを使用して実施され得る。様々な実施形態では、本明細書に開示される特徴は、命令を記憶する1つまたは複数の記憶デバイスと、1つまたは複数のプロセッサであって、1つまたは複数のプロセッサに、本明細書の開示に関連付けられた動作を実行させる命令を実行するように動作可能である1つまたは複数のプロセッサとを備えるシステムを使用して実施され得る。いくつかの実施態様では、本明細書に開示される特徴は、1つまたは複数のコンピュータによって実行可能な命令を含むソフトウェアを記憶する非一時的なコンピュータ可読媒体であって、命令は、そのような実行時に、1つまたは複数のコンピュータに、本明細書の開示に関連付けられた動作を実行させる、非一時的なコンピュータ可読媒体を使用して実施され得る。
【0007】
本明細書においてより詳細に説明される前述の概念および追加の概念のすべての組合せは、本明細書において開示される主題の一部として想定されることを諒解されたい。たとえば、本開示の最後に現れる特許請求される主題のすべての組合せは、本明細書において開示される主題の一部であると想定される。
【図面の簡単な説明】
【0008】
本開示の選択された態様が実施され得る例示的な環境を概略的に示す図である。
DCN上にホストされるCPCによってGDSからエイリアスリストが受信される例示的な環境を概略的に示す図である。
フィルタ処理された情報の要求がCPCからGDSに送信される例示的な環境を概略的に示す図である。
DCN上にホストされるCPCによってGDSから更新されたエイリアスリストが受信される例示的な環境を概略的に示す図である。
本開示の態様を実行するための例示的な方法を概略的に示す図である。
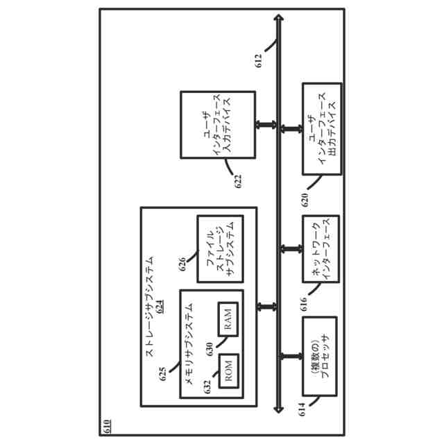
本開示の選択された態様が実施され得る例示的なコンピュータアーキテクチャを概略的に示す図である。
【発明を実施するための形態】
【0009】
本明細書では、(DCNによってホストされた)CPCおよびGDSなどのプロセスオートメーションノード間のネットワークトラフィックおよび/またはボリュームを削減するための実施形態について説明する。より詳細には、限定はしないが、プロセスオートメーションノード間で交換されるデータのサイズを低減するために、エイリアス情報のフィルタリング検索を可能にする技法について説明する。いくつかの実施形態では、このフィルタ処理は時間に基づいていてもよい。
【0010】
DCNは、プロセスオートメーション施設内の様々なタイプの機器に関連付けられた1つまたは複数の入出力(I/O)チャネルを含み得る。出力チャネルは、アクチュエータ、バルブ、ダンパなどの出力デバイスに関連付けられていてもよい。入力チャネルは、様々なタイプのセンサー、流量計、コンピュートノードなどの入力デバイスに関連付けられていてもよい。DCNは、DCNがサブスクライブしている1つまたは複数のリモートDCN(またはその構成要素)など1つまたは複数のデータソースから受信されたデータに基づいて、出力デバイスを制御する出力チャネルを駆動してもよい。
(【0011】以降は省略されています)
この特許をJ-PlatPat(特許庁公式サイト)で参照する
関連特許
横河電機株式会社
更新されたエイリアス情報のフィルタ処理
3日前
横河電機株式会社
情報処理装置、表示方法および表示プログラム
14日前
横河電機株式会社
記録計、バックアップ方法及びバックアッププログラム
14日前
個人
イヤーピース
14日前
個人
イヤーマフ
28日前
個人
監視カメラシステム
1か月前
個人
スイッチシステム
22日前
キーコム株式会社
光伝送線路
1か月前
WHISMR合同会社
収音装置
2か月前
サクサ株式会社
中継装置
1か月前
個人
スキャン式車載用撮像装置
1か月前
サクサ株式会社
中継装置
1か月前
アイホン株式会社
電気機器
2か月前
キヤノン電子株式会社
画像読取装置
2か月前
キヤノン電子株式会社
画像読取装置
14日前
個人
映像表示装置、及びARグラス
23日前
キヤノン電子株式会社
画像読取装置
22日前
サクサ株式会社
無線通信装置
1か月前
サクサ株式会社
無線通信装置
1か月前
個人
ワイヤレスイヤホン対応耳掛け
2か月前
ヤマハ株式会社
放音制御装置
22日前
キヤノン電子株式会社
画像読取装置
1か月前
サクサ株式会社
無線システム
1か月前
株式会社リコー
画像形成装置
1か月前
キヤノン電子株式会社
シート搬送装置
14日前
キヤノン株式会社
撮像システム
2か月前
日本電気株式会社
海底分岐装置
1か月前
個人
発信機及び発信方法
1か月前
キヤノン株式会社
情報処理装置
1日前
キヤノン株式会社
画像処理装置
17日前
キヤノン電子株式会社
画像処理システム
1か月前
株式会社JVCケンウッド
通信システム
1か月前
シャープ株式会社
端末装置
1か月前
株式会社NTTドコモ
端末
1か月前
有限会社フィデリックス
マイクロフォン
1か月前
株式会社NTTドコモ
端末
1か月前
続きを見る
他の特許を見る