TOP
|
特許
|
意匠
|
商標
特許ウォッチ
Twitter
他の特許を見る
10個以上の画像は省略されています。
公開番号
2025167982
公報種別
公開特許公報(A)
公開日
2025-11-07
出願番号
2024073046
出願日
2024-04-26
発明の名称
記録計、バックアップ方法及びバックアッププログラム
出願人
横河電機株式会社
代理人
弁理士法人酒井国際特許事務所
主分類
G06F
11/30 20060101AFI20251030BHJP(計算;計数)
要約
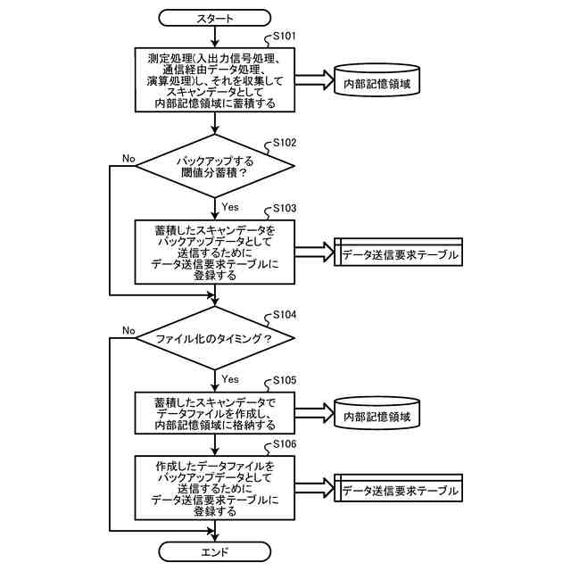
【課題】バックアップ機能の導入の容易化を実現することを課題とする。
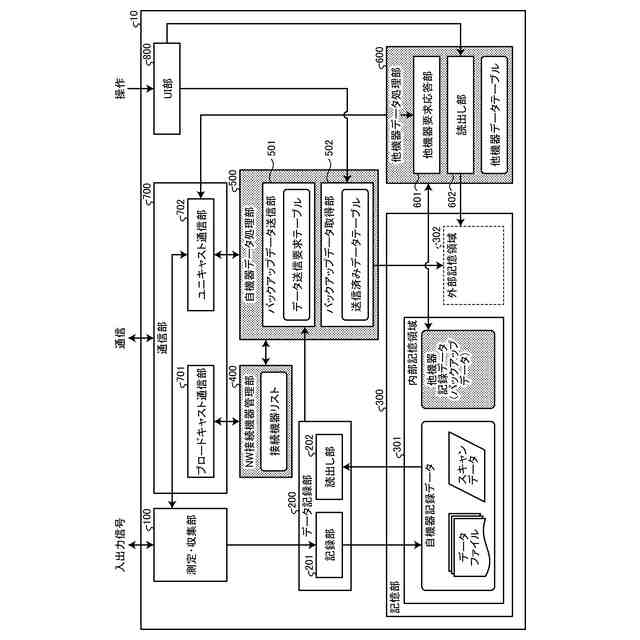
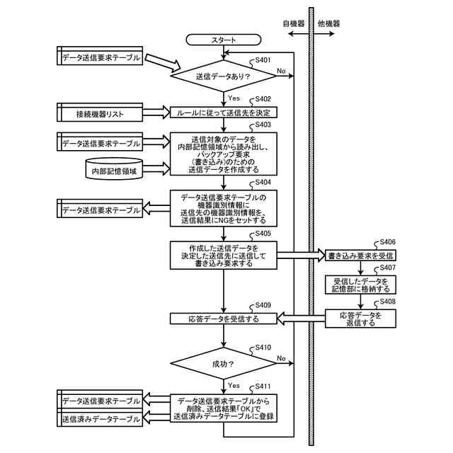
【解決手段】記録計は、測定データを収集する収集部と、測定データを記録する記録部と、測定データが複製されたバックアップデータを記録計とネットワークを介して接続された他の記録計に送信する送信部と、を有する。
【選択図】図1
特許請求の範囲
【請求項1】
記録計であって、
測定データを収集する収集部と、
前記測定データを記録する記録部と、
前記測定データが複製されたバックアップデータを前記記録計とネットワークを介して接続された他の記録計に送信する送信部と、
を有することを特徴とする記録計。
続きを表示(約 1,100 文字)
【請求項2】
前記記録部は、前記測定データの時系列から作成されたデータファイルを記録し、
前記送信部は、前記データファイルが複製されたバックアップデータを前記他の記録計に送信することを特徴とする請求項1に記載の記録計。
【請求項3】
前記送信部は、前記データファイルが複製されたバックアップデータの送信時に前記データファイルの作成に用いられた測定データに対応するバックアップデータの削除を指示することを特徴とする請求項2に記載の記録計。
【請求項4】
前記他の記録計が前記ネットワークに接続されているか否かの疎通を確認する疎通確認部をさらに有し、
前記送信部は、前記他の記録計のうち前記疎通が確認された他の記録計にバックアップデータを送信することを特徴とする請求項1に記載の記録計。
【請求項5】
前記収集部は、チャネルごとに測定データを収集し、
前記送信部は、前記チャネルに設定された重要度に応じてバックアップの送信先とする記録計の数を変更することを特徴とする請求項1に記載の記録計。
【請求項6】
前記送信部は、前記チャネルに設定された重要度が高くなるに従って前記バックアップデータの送信先とする記録計の数を増加させることを特徴とする請求項5に記載の記録計。
【請求項7】
前記バックアップデータが前記ネットワークを介して接続された他の記録計のうちいずれの他の記録計にバックアップされているかを表示部に表示させる表示制御部をさらに有することを特徴とする請求項1~6のいずれか1つに記載の記録計。
【請求項8】
記録計であって、
測定データを収集する収集部と、
前記測定データを記録する記憶部と、
ネットワークを介して接続された他の記録計に記録された測定データを複製したバックアップデータを取得する他機器データ処理部とを有し、
前記記憶部は、前記バックアップデータを記憶する
ことを特徴とする記録計。
【請求項9】
前記ネットワークを介して接続された他の記録計のうちいずれの他の記録計の測定データが前記記録計の記憶部にバックアップされているかを表示部に表示させる表示制御部をさらに有することを特徴とする請求項8に記載の記録計。
【請求項10】
記録計が、
測定データを収集し、
前記測定データを記録し、
前記測定データが複製されたバックアップデータを前記記録計とネットワークを介して接続された他の記録計に送信する、
処理を実行することを特徴とするバックアップ方法。
(【請求項11】以降は省略されています)
発明の詳細な説明
【技術分野】
【0001】
本発明は、記録計、バックアップ方法及びバックアッププログラムに関する。
続きを表示(約 1,200 文字)
【背景技術】
【0002】
工業計測分野では、センサやトランスデューサを通じて得られる温度、圧力、流量、レベル、歪み、加速度、pH、湿度などの各種の計測が実施される。これらの測定データを記録する側面から、レコーダやペーパレスレコーダ、データロガーなどの様々なタイプの記録計が提供されている。
【0003】
このような記録計では、停電や故障、デジタルデータの破損などのリスクに備えて記録データをバックアップするバックアップ機能が提供される。例えば、記録計は、入出力や通信、演算などのチャネルを介して収集される測定データを蓄積してデータファイルを作成し、その複製データをサーバ装置に送信してバックアップさせる。
【先行技術文献】
【特許文献】
【0004】
特開2016-62298号公報
特開2022-125741号公報
【発明の概要】
【発明が解決しようとする課題】
【0005】
しかしながら、上記のバックアップ機能には、バックエンドにサーバ装置が不可欠であるので、バックアップ機能の導入の妨げとなる側面がある。
【0006】
すなわち、サーバ装置の導入には、サーバおよびクライアントとなる記録計の両サイドでファイル転送等に関する各種の設定を行う必要があるので、経済面のみならず、時間や労力の面でもコストが掛かる。
【0007】
あくまで1つの事例として、ファイルの授受をFTP(File Transfer Protocol)に従って行う場合を例に挙げれば、FTPサーバおよびFTPクライアントの各々で次のような設定が必要となる。例えば、サーバ装置のサイドでは、FTPサーバソフトのインストール、ユーザ登録、ディレクトリ等を設定する作業が必要となる。他方、クライアントとなる記録計のサイドにおいても、接続先のサーバ、ポート番号、ユーザ、パスワード、パス等を設定する作業が必要となる。
【0008】
本発明は、バックアップ機能の導入の容易化を実現することを目的とする。
【課題を解決するための手段】
【0009】
1つの側面にかかる記録計は、記録計であって、測定データを収集する収集部と、前記測定データを記録する記録部と、前記測定データが複製されたバックアップデータを前記記録計とネットワークを介して接続された他の記録計に送信する送信部と、を有する。
【0010】
1つの側面にかかるバックアップ方法では、記録計が、測定データを収集し、前記測定データを記録し、前記測定データが複製されたバックアップデータを前記記録計とネットワークを介して接続された他の記録計に送信する、処理を実行する。
(【0011】以降は省略されています)
この特許をJ-PlatPat(特許庁公式サイト)で参照する
関連特許
横河電機株式会社
磁気コア
1か月前
横河電機株式会社
適応方法及び情報処理装置
1か月前
横河電機株式会社
装置、方法およびプログラム
3日前
横河電機株式会社
細胞穿刺装置及び顕微鏡システム
1か月前
横河電機株式会社
クランプ式電流計及び電流測定方法
1か月前
横河電機株式会社
設備状態検出装置及び設備状態検出方法
1日前
横河電機株式会社
測定装置、測定方法、及び、プログラム
23日前
横河電機株式会社
更新されたエイリアス情報のフィルタ処理
11日前
横河電機株式会社
センタリングデバイスおよび流量計ユニット
22日前
横河電機株式会社
情報処理装置、表示方法および表示プログラム
22日前
横河電機株式会社
情報生成装置、情報生成システムおよび情報生成方法
1か月前
横河電機株式会社
記録計、バックアップ方法及びバックアッププログラム
22日前
横河電機株式会社
固体電解質組成物、固体電解質膜、積層体、電池、固体電解質組成物の製造方法
1か月前
横河電機株式会社
液体サンプルバルブ、ガスクロマトグラフ装置、洗浄方法、および洗浄プログラム
25日前
横河電機株式会社
設備を保守するための装置、方法、およびプログラム
1か月前
個人
詐欺保険
1か月前
個人
縁伊達ポイン
1か月前
個人
職業自動販売機
15日前
個人
5掛けポイント
22日前
個人
RFタグシート
1か月前
個人
地球保全システム
1か月前
個人
ペルソナ認証方式
1か月前
個人
QRコードの彩色
1か月前
個人
自動調理装置
1か月前
個人
情報処理装置
25日前
個人
農作物用途分配システム
1か月前
個人
残土処理システム
1か月前
個人
知的財産出願支援システム
1か月前
個人
サービス情報提供システム
17日前
個人
インターネットの利用構造
29日前
個人
タッチパネル操作指代替具
1か月前
個人
携帯端末障害問合せシステム
1か月前
個人
スケジュール調整プログラム
1か月前
個人
エリアガイドナビAIシステム
1か月前
株式会社キーエンス
受発注システム
1か月前
個人
食品レシピ生成システム
1か月前
続きを見る
他の特許を見る