TOP
|
特許
|
意匠
|
商標
特許ウォッチ
Twitter
他の特許を見る
10個以上の画像は省略されています。
公開番号
2025165272
公報種別
公開特許公報(A)
公開日
2025-11-04
出願番号
2024069290
出願日
2024-04-22
発明の名称
液体サンプルバルブ、ガスクロマトグラフ装置、洗浄方法、および洗浄プログラム
出願人
横河電機株式会社
代理人
弁理士法人酒井国際特許事務所
主分類
G01N
30/12 20060101AFI20251027BHJP(測定;試験)
要約
【課題】流路への液体サンプルの残存を減らして、分析精度の低下を防ぐことができる液体サンプルバルブを得ること。
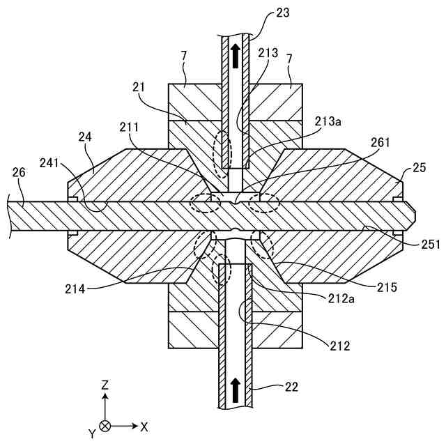
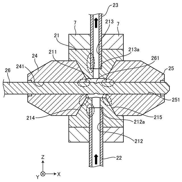
【解決手段】液体サンプルバルブは、内部に液体サンプルが通過するサンプル室211が形成され、流入口212と、流出口213と、互いに対向する位置に形成された第1の開口214および第2の開口215と、が形成された構造体21と、流入口212に接続された一次側流路22と、流出口213に接続された二次側流路23と、第1の開口214と第2の開口215とを貫通する棒状のステム26と、第1の開口214とステム26との間を塞ぐ第1のシール材24と、第2の開口215とステム26との間を塞ぐ第2のシール材25と、構造体21、一次側流路22、二次側流路23、およびステム26の少なくともいずれかに超音波振動を付与する超音波振動子7と、を備える。
【選択図】図5
特許請求の範囲
【請求項1】
内部に液体サンプルが通過するサンプル室が形成され、前記サンプル室に前記液体サンプルを流入させる流入口と、前記サンプル室から前記液体サンプルを流出させる流出口と、互いに対向する位置に形成されて前記サンプル室と外部とを連通させる第1の開口および第2の開口と、が形成された構造体と、
前記流入口に接続された一次側流路と、
前記流出口に接続された二次側流路と、
前記第1の開口と前記第2の開口とを貫通する棒状のステムと、
前記第1の開口と前記ステムとの間を塞ぐ第1のシール材と、
前記第2の開口と前記ステムとの間を塞ぐ第2のシール材と、
前記構造体、前記一次側流路、前記二次側流路、および前記ステムの少なくともいずれかに超音波振動を付与する超音波振動子と、を備える液体サンプルバルブ。
続きを表示(約 920 文字)
【請求項2】
前記超音波振動子は、環状に形成されており、前記構造体を内側に貫通させて設けられている請求項1に記載の液体サンプルバルブ。
【請求項3】
前記超音波振動子は、前記一次側流路および前記二次側流路の少なくとも一方に当接している請求項2に記載の液体サンプルバルブ。
【請求項4】
前記超音波振動子は、前記構造体に当接している請求項1または2に記載の液体サンプルバルブ。
【請求項5】
前記超音波振動子は、環状に形成されており、前記一次側流路を内側に貫通させて内周面が前記一次側流路に当接している請求項1に記載の液体サンプルバルブ。
【請求項6】
前記超音波振動子は、環状に形成されており、前記二次側流路を内側に貫通させて内周面が前記二次側流路に当接している請求項1に記載の液体サンプルバルブ。
【請求項7】
前記超音波振動子は、前記ステムの内部に内蔵されている請求項1に記載の液体サンプルバルブ。
【請求項8】
請求項1に記載の液体サンプルバルブと、
前記超音波振動子の駆動を制御する制御部と、をさらに備えるガスクロマトグラフ装置。
【請求項9】
前記ステムの外周面に凹部が形成されており、
前記ステムは、前記凹部が前記サンプル室にある第1の位置と、前記凹部が第2のシール材を通じて前記サンプル室の外側に移動した第2の位置とに移動可能とされ、
前記制御部は、前記一次側流路に流れる液体サンプルの切り替え後に、前記超音波振動子を所定時間駆動させ、
前記超音波振動子の駆動中に、前記ステムを前記第1の位置と前記第2の位置との間で往復移動させる、または、前記ステムを停止させる請求項8に記載のガスクロマトグラフ装置。
【請求項10】
請求項8に記載のガスクロマトグラフ装置における洗浄方法であって、
前記一次側流路に流れる液体サンプルの切り替え後に前記超音波振動子を所定時間駆動させるステップと、を備える洗浄方法。
(【請求項11】以降は省略されています)
発明の詳細な説明
【技術分野】
【0001】
本発明は、液体サンプルバルブ、ガスクロマトグラフ装置、洗浄方法、および洗浄プログラムに関する。
続きを表示(約 1,600 文字)
【背景技術】
【0002】
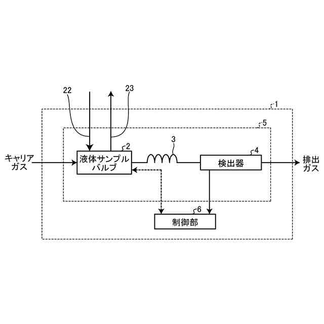
多成分混合サンプルの成分分析を行う検出器を備えるガスクロマトグラフ装置が知られている。検出器は気体の成分分析を行う。分析する多成分混合サンプルが液体である場合には、多成分混合サンプルを液体から気化させて検出器へと送る。なお、ガスクロマトグラフ装置で分析される多成分混合サンプルについて以下の説明では単にサンプルと称する。また、サンプルが液体である場合には液体サンプルと称する。
【0003】
液体サンプルを気化させて検出器へと送る装置として、例えば特許文献1に開示された液体サンプルバルブが用いられる。液体サンプルバルブでは、液体サンプルが通過する流路から、一部の液体サンプルを取り出して気化させている。
【先行技術文献】
【特許文献】
【0004】
特開平5-87705号公報
【発明の概要】
【発明が解決しようとする課題】
【0005】
ガスクロマトグラフ装置では、液体サンプルバルブに通過させる液体サンプルを切り替えることで分析対象となる液体サンプルが切り替えられる場合がある。切り替え前の液体サンプルが液体サンプルバルブの流路に残存していると、切り替え後の液体サンプルに混じり分析の精度が低下してしまう。
【0006】
例えば、流路への液体サンプルの残存を防ぐために、切り替え後の液体サンプルをある程度の時間流路に流すことで、切り替え前の液体サンプルの流路からの除去が図られる。しかしながら、わずかに残存した液体サンプルが、切り替え後の液体サンプルの分析精度の低下を招いてしまう場合があり、液体サンプルの残存をより減らすことが望まれている。
【0007】
本発明は、流路への液体サンプルの残存を減らして、分析精度の低下を防ぐことができる液体サンプルバルブを得ることを目的とする。
【課題を解決するための手段】
【0008】
本発明に係る液体サンプルバルブは、内部に液体サンプルが通過するサンプル室が形成され、サンプル室に液体サンプルを流入させる流入口と、サンプル室から液体サンプルを流出させる流出口と、互いに対向する位置に形成されてサンプル室と外部とを連通させる第1の開口および第2の開口と、が形成された構造体と、流入口に接続された一次側流路と、流出口に接続された二次側流路と、第1の開口と第2の開口とを貫通する棒状のステムと、第1の開口とステムとの間を塞ぐ第1のシール材と、第2の開口とステムとの間を塞ぐ第2のシール材と、構造体、一次側流路、二次側流路、およびステムの少なくともいずれかに超音波振動を付与する超音波振動子と、を備える。
【発明の効果】
【0009】
本発明によれば、流路への液体サンプルの残存を減らして、分析精度の低下を防ぐことができる液体サンプルバルブを得ることができるという効果がある。
【図面の簡単な説明】
【0010】
実施形態1に係るガスクロマトグラフ装置の概略構成を示す図である。
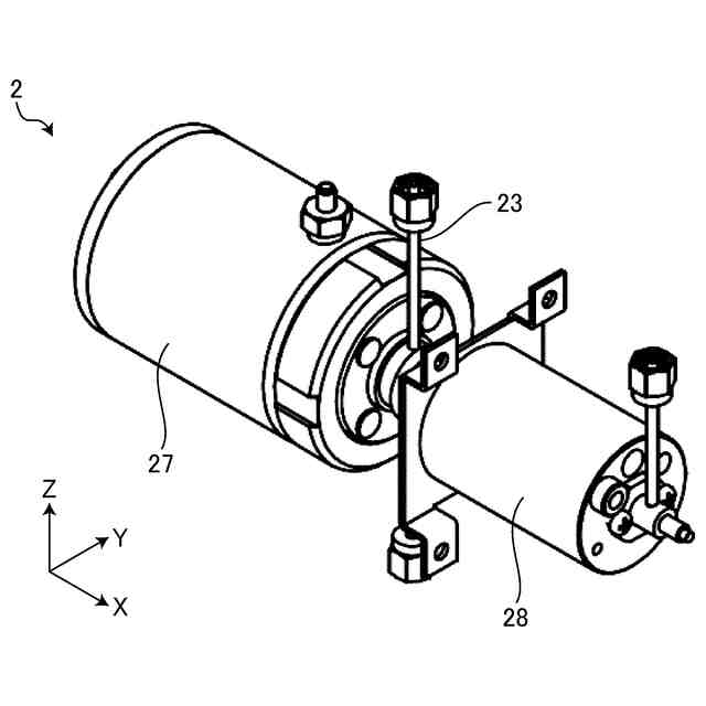
実施形態1に係る液体サンプルバルブの斜視図である。
実施形態1に係る液体サンプルバルブの側面図である。
図3に示すIV-IV線に沿って切断した液体サンプルバルブの断面図である。
図4に示したA部分を拡大した部分拡大断面図である。
図4に相当する液体サンプルバルブの断面図であって、ステムが第2の位置にある状態を示す図である。
制御部によって実行される超音波洗浄および成分分析の手順を示すフローチャートである。
超音波振動子を設置する位置の第1の変形例を示す断面図である。
超音波振動子を設置する位置の第2の変形例を示す断面図である。
【発明を実施するための形態】
(【0011】以降は省略されています)
この特許をJ-PlatPat(特許庁公式サイト)で参照する
関連特許
横河電機株式会社
磁気コア
1か月前
横河電機株式会社
コントローラ
1か月前
横河電機株式会社
情報プログラム
1か月前
横河電機株式会社
測定装置及び測定方法
1か月前
横河電機株式会社
装置、方法及びプログラム
2か月前
横河電機株式会社
適応方法及び情報処理装置
1か月前
横河電機株式会社
フィールド機器及び診断方法
1か月前
横河電機株式会社
装置、方法およびプログラム
3日前
横河電機株式会社
光パルス試験器及び測定方法
1か月前
横河電機株式会社
装置、方法およびプログラム
1か月前
横河電機株式会社
装置、方法、およびプログラム
1か月前
横河電機株式会社
菌体培養槽および菌体培養方法
1か月前
横河電機株式会社
装置、方法、およびプログラム
1か月前
横河電機株式会社
細胞穿刺装置及び顕微鏡システム
1か月前
横河電機株式会社
細胞穿刺装置及び顕微鏡システム
1か月前
横河電機株式会社
分散制御ノード(DCN)冗長性
1か月前
横河電機株式会社
蛍光読取装置および蛍光読取方法
1か月前
横河電機株式会社
制御プログラム及びコントローラ
1か月前
横河電機株式会社
クランプ式電流計及び電流測定方法
1か月前
横河電機株式会社
表面散乱型濁度計及び濁度測定方法
1か月前
横河電機株式会社
測定装置、測定方法、及びプログラム
1か月前
横河電機株式会社
測定装置、測定方法、及びプログラム
1か月前
横河電機株式会社
解析装置、訓練装置およびプログラム
1か月前
横河電機株式会社
測定装置、測定方法、及びプログラム
1か月前
横河電機株式会社
設備状態検出装置及び設備状態検出方法
1日前
横河電機株式会社
メタン製造システム及びメタン製造方法
1か月前
横河電機株式会社
測定装置、測定方法、及び、プログラム
23日前
横河電機株式会社
更新されたエイリアス情報のフィルタ処理
11日前
横河電機株式会社
データ管理支援装置及びデータ管理支援方法
1か月前
横河電機株式会社
情報処理装置、情報処理方法及びプログラム
1か月前
横河電機株式会社
情報処理装置、更新方法及び更新プログラム
1か月前
横河電機株式会社
センタリングデバイスおよび流量計ユニット
22日前
横河電機株式会社
一液型組成物、フラン樹脂硬化物及びキット
1か月前
横河電機株式会社
センサ装置、端末装置、及び、センサシステム
1か月前
横河電機株式会社
情報処理装置、表示方法および表示プログラム
22日前
横河電機株式会社
支援システム、支援方法および支援プログラム
1か月前
続きを見る
他の特許を見る