TOP
|
特許
|
意匠
|
商標
特許ウォッチ
Twitter
他の特許を見る
公開番号
2025163238
公報種別
公開特許公報(A)
公開日
2025-10-28
出願番号
2025132578,2022088456
出願日
2025-08-07,2022-05-31
発明の名称
設備を保守するための装置、方法、およびプログラム
出願人
横河電機株式会社
代理人
弁理士法人RYUKA国際特許事務所
主分類
G06Q
10/20 20230101AFI20251021BHJP(計算;計数)
要約
【課題】設備を保守するための装置、方法およびプログラムを提供する。
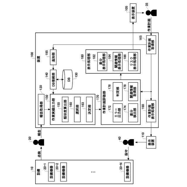
【解決手段】装置100は、設備に発生した異常についての異常情報および当該異常に対処した作業実績をそれぞれ含む複数の組を記憶するデータベース130に接続されるデータベース接続部140と、設備に発生した異常の報告を取得する報告取得部120と、設備に発生した異常に対処する作業計画を取得する作業計画取得部165と、報告中の異常情報および複数の組のそれぞれに含まれる異常情報の類似度を算出する類似度算出部155と、類似度算出部により算出された類似度に基づいて複数の組の中から少なくとも1つの組を選択する選択部160と、作業計画および少なくとも1つの組の作業実績の差分を検出する差分検出部174と、差分を表示する表示処理を行なう表示処理部180と、を備える。
【選択図】図1
特許請求の範囲
【請求項1】
設備に発生した異常についての異常情報および当該異常に対処した作業実績をそれぞれ含む複数の組を記憶するデータベースに接続されるデータベース接続部と、
前記設備に発生した異常の報告を取得する報告取得部と、
前記設備に発生した異常に対処する作業計画を取得する作業計画取得部と、
前記報告中の異常情報および前記複数の組のそれぞれに含まれる異常情報の類似度を算出する類似度算出部と、
前記類似度算出部により算出された類似度に基づいて前記複数の組の中から少なくとも1つの組を選択する選択部と、
前記作業計画、および前記少なくとも1つの組の作業実績の差分を検出する差分検出部と、
前記差分を表示する表示処理を行なう表示処理部と
を備える装置。
続きを表示(約 1,300 文字)
【請求項2】
前記選択部は、前記複数の組のうち、前記類似度がより高い異常情報を含む組をより優先して選択する請求項1に記載の装置。
【請求項3】
前記作業計画および前記少なくとも1つの組の作業実績の間での前記差分に関連する関連情報を取得する関連情報取得部を更に備え、
前記表示処理部は、前記関連情報を表示装置に表示させる処理を行なう関連情報表示処理部を有する
請求項1に記載の装置。
【請求項4】
前記差分検出部は、前記作業計画、および前記少なくとも1つの組の作業実績の間で、作業員の数、作業時間、または作業に使用するツールのうちの少なくとも1つを含む項目毎の差に基づいて、前記作業計画、および前記少なくとも1つの組の作業実績の前記差分を検出する請求項1に記載の装置。
【請求項5】
前記表示処理部は、前記作業計画、および前記少なくとも1つの組の作業実績の間における項目毎の差が予め定められた閾値を超える項目について、当該項目の差に起因して生じうるインシデントリスクを表示装置に表示させる処理を行なうリスク表示処理部を有する請求項4に記載の装置。
【請求項6】
前記選択部により選択された前記少なくとも1つの組を用いて前記作業計画の許容範囲を決定する決定部と、
前記作業計画が前記許容範囲内であるか否かを判定する判定部と
を更に備える請求項1に記載の装置。
【請求項7】
前記作業計画に含まれる各項目、および前記少なくとも1つの組の作業実績に含まれる各項目に不一致があったことに応じてエラーを出力するエラー出力部を更に備える請求項1に記載の装置。
【請求項8】
前記表示処理部は、前記作業計画、および前記少なくとも1つの組の作業実績の間における項目毎の差が予め定められた閾値を超える項目を他の項目と比較して強調して表示装置に表示させる処理を行なう差分表示処理部を有する請求項4に記載の装置。
【請求項9】
前記設備に発生した異常についての異常情報および当該異常の対処に用いた作業計画の組を、異常情報および作業実績の組として前記データベースに追加する追加部を更に備える請求項1から8のいずれか一項に記載の装置。
【請求項10】
コンピュータが、設備に発生した異常の報告を取得することと、
前記コンピュータが、前記設備に発生した異常に対処する作業計画を取得することと、
前記コンピュータが、前記設備に発生した異常についての異常情報および当該異常に対処した作業実績をそれぞれ含む複数の組を記憶するデータベースをアクセスすることと、
前記コンピュータが、前記報告中の異常情報および前記複数の組のそれぞれに含まれる異常情報の類似度を算出することと、
前記コンピュータが、算出された類似度に基づいて前記複数の組の中から少なくとも1つの組を選択することと、
前記コンピュータが、前記作業計画、および前記少なくとも1つの組の作業実績の差分を検出することと、
前記差分を表示する表示処理を行なうことと
を含む方法。
(【請求項11】以降は省略されています)
発明の詳細な説明
【技術分野】
【0001】
本発明は、設備を保守するための装置、方法、およびプログラムに関する。
続きを表示(約 1,500 文字)
【背景技術】
【0002】
特許文献1には、「本発明は、食品製造プラントのメンテナンス業務の支援を行うメンテナンス業務支援システムに係り、特にプラントの構成設備のメンテナンスを行う場合に、プラント使用者に対し適切なメンテナンス推奨時期を提示しうるメンテナンス業務支援システムに関する」(段落0001)こと、「上記食品製造プラントの構成設備の稼動可能期間と上記メンテナンス実績とが不一致であった場合に、上記実験結果データベースを参照して上記差異が許容しうる範囲であるか否かを判断する実験結果データ確認手段と、上記実験結果データ確認手段で判断を行った結果、上記差異が許容範囲を超える場合には、メンテナンス計画の是正措置を立案するメンテナンス計画是正措置立案手段と」(請求項3)を備えることが記載されている。
[先行技術文献]
[特許文献]
[特許文献1] 特開2010-128607号公報
【発明の概要】
【0003】
本発明の第1の態様においては、設備に発生した異常についての異常情報および当該異常に対処した作業実績をそれぞれ含む複数の組を記憶するデータベースに接続されるデータベース接続部と、設備に発生した異常の報告を取得する報告取得部と、設備に発生した異常に対処する作業計画を取得する作業計画取得部と、報告中の異常情報および複数の組のそれぞれに含まれる異常情報の類似度を算出する類似度算出部と、類似度算出部により算出された類似度に基づいて複数の組の中から少なくとも1つの組を選択する選択部と、作業計画、および少なくとも1つの組の作業実績の差分を検出する差分検出部と、差分を表示する表示処理を行なう表示処理部とを備える装置を提供する。
【0004】
上記の装置において、選択部は、複数の組のうち、類似度がより高い異常情報を含む組をより優先して選択してよい。
【0005】
上記のいずれかの装置は、作業計画および少なくとも1つの組の作業実績の間での差分に関連する関連情報を取得する関連情報取得部を備えてよい。表示処理部は、関連情報を表示装置に表示させる処理を行なう関連情報表示処理部を有してよい。
【0006】
上記のいずれかの装置において、差分検出部は、作業計画、および少なくとも1つの組の作業実績の間で、作業員の数、作業時間、または作業に使用するツールのうちの少なくとも1つを含む項目毎の差に基づいて、作業計画、および少なくとも1つの組の作業実績の差分を検出してよい。
【0007】
上記のいずれかの装置において、表示処理部は、作業計画、および少なくとも1つの組の作業実績の間における項目毎の差が予め定められた閾値を超える項目について、当該項目の差に起因して生じうるインシデントリスクを表示装置に表示させる処理を行なうリスク表示処理部を有してよい。
【0008】
上記のいずれかの装置は、選択部により選択された少なくとも1つの組を用いて作業計画の許容範囲を決定する決定部と、作業計画が許容範囲内であるか否かを判定する判定部とを備えてよい。
【0009】
上記のいずれかの装置は、作業計画に含まれる各項目、および少なくとも1つの組の作業実績に含まれる各項目に不一致があったことに応じてエラーを出力するエラー出力部を備えてよい。
【0010】
上記のいずれかの装置において、表示処理部は、作業計画、および少なくとも1つの組の作業実績の間における項目毎の差が予め定められた閾値を超える項目を他の項目と比較して強調して表示装置に表示させる処理を行なう差分表示処理部を有してよい。
(【0011】以降は省略されています)
この特許をJ-PlatPat(特許庁公式サイト)で参照する
関連特許
横河電機株式会社
測定器
1か月前
横河電機株式会社
磁気コア
5日前
横河電機株式会社
藻類培養装置
1か月前
横河電機株式会社
温度測定装置
1か月前
横河電機株式会社
コントローラ
19日前
横河電機株式会社
情報プログラム
19日前
横河電機株式会社
測定装置及び測定方法
27日前
横河電機株式会社
適応方法及び情報処理装置
12日前
横河電機株式会社
研磨用治具および研磨方法
1か月前
横河電機株式会社
測定方法及び測定システム
1か月前
横河電機株式会社
装置、方法及びプログラム
1か月前
横河電機株式会社
装置、方法およびプログラム
1か月前
横河電機株式会社
光パルス試験器及び測定方法
26日前
横河電機株式会社
装置、方法およびプログラム
20日前
横河電機株式会社
フィールド機器及び診断方法
26日前
横河電機株式会社
装置、方法およびプログラム
1か月前
横河電機株式会社
菌体培養槽および菌体培養方法
28日前
横河電機株式会社
装置、方法、およびプログラム
27日前
横河電機株式会社
装置、方法、およびプログラム
1か月前
横河電機株式会社
装置、方法、およびプログラム
20日前
横河電機株式会社
細胞穿刺装置及び顕微鏡システム
19日前
横河電機株式会社
制御プログラム及びコントローラ
19日前
横河電機株式会社
蛍光読取装置および蛍光読取方法
28日前
横河電機株式会社
分散制御ノード(DCN)冗長性
26日前
横河電機株式会社
細胞穿刺装置及び顕微鏡システム
19日前
横河電機株式会社
メタン生成装置及びメタン生成方法
1か月前
横河電機株式会社
表面散乱型濁度計及び濁度測定方法
28日前
横河電機株式会社
測定装置、測定方法、及びプログラム
19日前
横河電機株式会社
測定装置、測定方法、及びプログラム
1か月前
横河電機株式会社
測定装置、測定方法、及びプログラム
27日前
横河電機株式会社
解析装置、訓練装置およびプログラム
28日前
横河電機株式会社
測定装置、測定方法、及びプログラム
27日前
横河電機株式会社
診断システム、診断装置および診断方法
1か月前
横河電機株式会社
メタン製造システム及びメタン製造方法
20日前
横河電機株式会社
一液型組成物、フラン樹脂硬化物及びキット
27日前
横河電機株式会社
照射装置、照射方法、および照射プログラム
1か月前
続きを見る
他の特許を見る