TOP
|
特許
|
意匠
|
商標
特許ウォッチ
Twitter
他の特許を見る
公開番号
2025161112
公報種別
公開特許公報(A)
公開日
2025-10-24
出願番号
2024064029
出願日
2024-04-11
発明の名称
磁気コア
出願人
横河電機株式会社
,
横河計測株式会社
代理人
個人
,
個人
,
個人
主分類
H01F
27/26 20060101AFI20251017BHJP(基本的電気素子)
要約
【課題】積層方向のクリアランスを小さくできる磁気コアを提供する。
【解決手段】筐体、スペーサ部、第1磁性部、第2磁性部及び第3磁性部を有し、前記筐体は第1筐体壁及び第2筐体壁を有し、前記スペーサ部は第1スペーサ壁、第2スペーサ壁及びスペーサ荷重伝達部を有し、前記第1筐体壁、前記第1磁性部、前記第1スペーサ壁、前記第2磁性部、前記第2スペーサ壁、前記第3磁性部及び前記第2筐体壁はこの順に積層され、前記スペーサ荷重伝達部は、前記第1スペーサ壁及び前記第2スペーサ壁の相互間で荷重を伝達することで、前記第1スペーサ壁及び前記第2スペーサ壁の間に前記第2磁性部が形成する積層方向のクリアランスを確保する、磁気コア。
【選択図】図1
特許請求の範囲
【請求項1】
筐体、スペーサ部、第1磁性部、第2磁性部及び第3磁性部を有し、
前記筐体は第1筐体壁及び第2筐体壁を有し、
前記スペーサ部は第1スペーサ壁、第2スペーサ壁及びスペーサ荷重伝達部を有し、
前記第1筐体壁、前記第1磁性部、前記第1スペーサ壁、前記第2磁性部、前記第2スペーサ壁、前記第3磁性部及び前記第2筐体壁はこの順に積層され、
前記スペーサ荷重伝達部は、前記第1スペーサ壁及び前記第2スペーサ壁の相互間で荷重を伝達することで、前記第1スペーサ壁及び前記第2スペーサ壁の間に前記第2磁性部が形成する積層方向のクリアランスを確保する、磁気コア。
続きを表示(約 1,600 文字)
【請求項2】
前記スペーサ荷重伝達部は、第1スペーサ壁側部分及び第2スペーサ壁側部分を有し、前記第1スペーサ壁側部分及び前記第2スペーサ壁側部分の相互間の前記積層方向での突き当てによって前記第1スペーサ壁及び前記第2スペーサ壁の相互間で荷重を伝達する、請求項1に記載の磁気コア。
【請求項3】
前記スペーサ部は、第1スペーサ部材及び第2スペーサ部材を有し、
前記第1スペーサ部材は、前記第1スペーサ壁と、前記第1スペーサ壁の外周縁及び内周縁に連なる第1両側壁とを有し、
前記第2スペーサ部材は、前記第2スペーサ壁と、前記第2スペーサ壁の外周縁及び内周縁に連なる第2両側壁とを有し、
前記第1両側壁は、前記スペーサ荷重伝達部の前記第1スペーサ壁側部分を有し、
前記第2両側壁は、前記スペーサ荷重伝達部の前記第2スペーサ壁側部分を有する、請求項2に記載の磁気コア。
【請求項4】
前記第2磁性部は、前記積層方向に積層される複数層の磁性体であり、前記積層方向に垂直な分割方向において分割され、第2櫛歯部及び第2嵌合部を有し、
前記第2櫛歯部は、分割された一方側の前記複数層の磁性体が当該分割方向に互いにずれることで形成され、
前記第2嵌合部は、分割された他方側の前記複数層の磁性体が当該分割方向に互いにずれることで前記第2櫛歯部に対する相補形状に形成され前記第2櫛歯部に嵌合する、請求項1に記載の磁気コア。
【請求項5】
前記第1筐体壁及び前記第1スペーサ壁の相互間で荷重を伝達することで、前記第1筐体壁及び前記第1スペーサ壁の間に前記第1磁性部が形成する前記積層方向のクリアランスを確保する第1荷重伝達部を有する、請求項1に記載の磁気コア。
【請求項6】
前記第1荷重伝達部は、前記第1スペーサ壁に一体に形成され、前記第1筐体壁への前記積層方向での突き当てによって前記第1筐体壁及び前記第1スペーサ壁の相互間で荷重を伝達する、請求項5に記載の磁気コア。
【請求項7】
前記第1磁性部は、前記積層方向に積層される複数層の磁性体であり、前記積層方向に垂直な分割方向において分割され、第1櫛歯部及び第1嵌合部を有し、
前記第1櫛歯部は、分割された一方側の前記複数層の磁性体が当該分割方向に互いにずれることで形成され、
前記第1嵌合部は、分割された他方側の前記複数層の磁性体が当該分割方向に互いにずれることで前記第1櫛歯部に対する相補形状に形成され前記第1櫛歯部に嵌合する、請求項1に記載の磁気コア。
【請求項8】
前記第2筐体壁及び前記第2スペーサ壁の相互間で荷重を伝達することで、前記第2筐体壁及び前記第2スペーサ壁の間に前記第3磁性部が形成する前記積層方向のクリアランスを確保する第2荷重伝達部を有する、請求項1に記載の磁気コア。
【請求項9】
前記第2荷重伝達部は、前記第2スペーサ壁に一体に形成され、前記第2筐体壁への前記積層方向での突き当てによって前記第2筐体壁及び前記第2スペーサ壁の相互間で荷重を伝達する、請求項8に記載の磁気コア。
【請求項10】
前記第3磁性部は、前記積層方向に積層される複数層の磁性体であり、前記積層方向に垂直な分割方向において分割され、第3櫛歯部及び第3嵌合部を有し、
前記第3櫛歯部は、分割された一方側の前記複数層の磁性体が当該分割方向に互いにずれることで形成され、
前記第3嵌合部は、分割された他方側の前記複数層の磁性体が当該分割方向に互いにずれることで前記第3櫛歯部に対する相補形状に形成され前記第3櫛歯部に嵌合する、請求項1に記載の磁気コア。
(【請求項11】以降は省略されています)
発明の詳細な説明
【技術分野】
【0001】
本開示は磁気コアに関する。
続きを表示(約 1,400 文字)
【背景技術】
【0002】
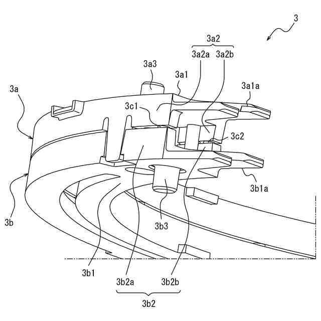
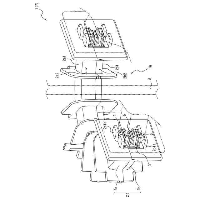
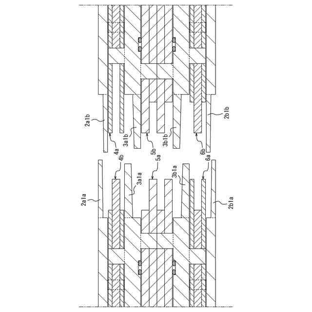
筐体及び磁性部を有し、筐体は第1筐体壁及び第2筐体壁を有し、第1筐体壁、磁性部及び第2筐体壁はこの順に積層される磁気コアが知られている(例えば特許文献1参照)。
【先行技術文献】
【特許文献】
【0003】
特開2013-179233号公報
特表2021-530683号公報
【発明の概要】
【発明が解決しようとする課題】
【0004】
上記のような磁気コアは、筐体内に磁性部を配置するために、磁性部が第1筐体壁及び第2筐体壁の間に積層方向の寸法ばらつきを吸収する積層方向のクリアランスを形成する構成とする必要があるが、磁気コアの電磁的特性のためには当該クリアランスはできるだけ小さいことが望ましい。
【0005】
そこで本開示の目的は、積層方向のクリアランスを小さくできる磁気コアを提供することにある。
【課題を解決するための手段】
【0006】
本開示の一態様は以下のとおりである。
【0007】
[1]
筐体、スペーサ部、第1磁性部、第2磁性部及び第3磁性部を有し、
前記筐体は第1筐体壁及び第2筐体壁を有し、
前記スペーサ部は第1スペーサ壁、第2スペーサ壁及びスペーサ荷重伝達部を有し、
前記第1筐体壁、前記第1磁性部、前記第1スペーサ壁、前記第2磁性部、前記第2スペーサ壁、前記第3磁性部及び前記第2筐体壁はこの順に積層され、
前記スペーサ荷重伝達部は、前記第1スペーサ壁及び前記第2スペーサ壁の相互間で荷重を伝達することで、前記第1スペーサ壁及び前記第2スペーサ壁の間に前記第2磁性部が形成する積層方向のクリアランスを確保する、磁気コア。
【0008】
[2]
前記スペーサ荷重伝達部は、第1スペーサ壁側部分及び第2スペーサ壁側部分を有し、前記第1スペーサ壁側部分及び前記第2スペーサ壁側部分の相互間の前記積層方向での突き当てによって前記第1スペーサ壁及び前記第2スペーサ壁の相互間で荷重を伝達する、[1]に記載の磁気コア。
【0009】
[3]
前記スペーサ部は、第1スペーサ部材及び第2スペーサ部材を有し、
前記第1スペーサ部材は、前記第1スペーサ壁と、前記第1スペーサ壁の外周縁及び内周縁に連なる第1両側壁とを有し、
前記第2スペーサ部材は、前記第2スペーサ壁と、前記第2スペーサ壁の外周縁及び内周縁に連なる第2両側壁とを有し、
前記第1両側壁は、前記スペーサ荷重伝達部の前記第1スペーサ壁側部分を有し、
前記第2両側壁は、前記スペーサ荷重伝達部の前記第2スペーサ壁側部分を有する、[2]に記載の磁気コア。
【0010】
[4]
前記第2磁性部は、前記積層方向に積層される複数層の磁性体であり、前記積層方向に垂直な分割方向において分割され、第2櫛歯部及び第2嵌合部を有し、
前記第2櫛歯部は、分割された一方側の前記複数層の磁性体が当該分割方向に互いにずれることで形成され、
前記第2嵌合部は、分割された他方側の前記複数層の磁性体が当該分割方向に互いにずれることで前記第2櫛歯部に対する相補形状に形成され前記第2櫛歯部に嵌合する、[1]~[3]の何れか1項に記載の磁気コア。
(【0011】以降は省略されています)
この特許をJ-PlatPat(特許庁公式サイト)で参照する
関連特許
横河電機株式会社
測定器
1か月前
横河電機株式会社
磁気コア
26日前
横河電機株式会社
コントローラ
1か月前
横河電機株式会社
温度測定装置
1か月前
横河電機株式会社
藻類培養装置
2か月前
横河電機株式会社
情報プログラム
1か月前
横河電機株式会社
測定装置及び測定方法
1か月前
横河電機株式会社
装置、方法及びプログラム
1か月前
横河電機株式会社
適応方法及び情報処理装置
1か月前
横河電機株式会社
研磨用治具および研磨方法
2か月前
横河電機株式会社
測定方法及び測定システム
1か月前
横河電機株式会社
光パルス試験器及び測定方法
1か月前
横河電機株式会社
フィールド機器及び診断方法
1か月前
横河電機株式会社
装置、方法およびプログラム
2か月前
横河電機株式会社
装置、方法およびプログラム
2か月前
横河電機株式会社
装置、方法およびプログラム
1か月前
横河電機株式会社
装置、方法、およびプログラム
1か月前
横河電機株式会社
菌体培養槽および菌体培養方法
1か月前
横河電機株式会社
装置、方法、およびプログラム
1か月前
横河電機株式会社
装置、方法、およびプログラム
2か月前
横河電機株式会社
情報処理装置及び情報処理方法
2か月前
横河電機株式会社
制御プログラム及びコントローラ
1か月前
横河電機株式会社
蛍光読取装置および蛍光読取方法
1か月前
横河電機株式会社
細胞穿刺装置及び顕微鏡システム
1か月前
横河電機株式会社
細胞穿刺装置及び顕微鏡システム
1か月前
横河電機株式会社
分散制御ノード(DCN)冗長性
1か月前
横河電機株式会社
表面散乱型濁度計及び濁度測定方法
1か月前
横河電機株式会社
クランプ式電流計及び電流測定方法
20日前
横河電機株式会社
メタン生成装置及びメタン生成方法
1か月前
横河電機株式会社
解析装置、訓練装置およびプログラム
1か月前
横河電機株式会社
測定装置、測定方法、及びプログラム
1か月前
横河電機株式会社
測定装置、測定方法、及びプログラム
1か月前
横河電機株式会社
測定装置、測定方法、及びプログラム
1か月前
横河電機株式会社
測定装置、測定方法、及びプログラム
1か月前
横河電機株式会社
メタン製造システム及びメタン製造方法
1か月前
横河電機株式会社
診断システム、診断装置および診断方法
2か月前
続きを見る
他の特許を見る