TOP
|
特許
|
意匠
|
商標
特許ウォッチ
Twitter
他の特許を見る
10個以上の画像は省略されています。
公開番号
2025137144
公報種別
公開特許公報(A)
公開日
2025-09-19
出願番号
2024036183
出願日
2024-03-08
発明の名称
研磨用治具および研磨方法
出願人
横河電機株式会社
代理人
弁理士法人酒井国際特許事務所
主分類
B24B
41/06 20120101AFI20250911BHJP(研削;研磨)
要約
【課題】センサとの間に十分な密封性を確保できる端面を研磨によってプローブに形成可能とする研磨用治具を得ること。
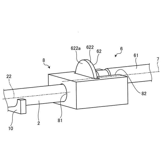
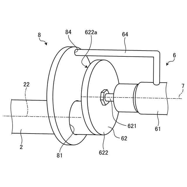
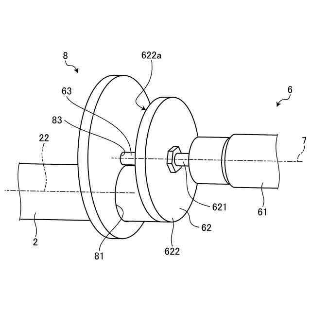
【解決手段】研磨用治具8は、プローブ型分析計に設けられた棒状のプローブの端面を研磨するための研磨用治具8であって、プローブの中心軸に沿ってプローブを差し込み可能とされた差込孔81と、回転軸を中心に回転して端面を研磨する研磨面を有する工具を端面に対向させて保持する保持部82と、が形成され、保持部82は、研磨面が中心軸と垂直となるように、かつ、回転軸を中心軸と偏心させて工具を保持する。
【選択図】図4
特許請求の範囲
【請求項1】
プローブ型分析計に設けられた棒状のプローブの端面を研磨するための研磨用治具であって、
前記プローブの中心軸に沿って前記プローブを差し込み可能とされた差込孔と、
回転軸を中心に回転して前記端面を研磨する研磨面を有する工具を前記端面に対向させて保持する保持部と、が形成され、
前記保持部は、前記研磨面が前記中心軸と垂直となるように、かつ、前記回転軸を前記中心軸と偏心させて前記工具を保持する研磨用治具。
続きを表示(約 530 文字)
【請求項2】
前記保持部は、前記工具を前記中心軸と垂直な方向に差し込み可能な溝である請求項1に記載の研磨用治具。
【請求項3】
前記保持部は、前記工具から前記回転軸と平行に突出した突出部が差し込み可能とされた保持孔である請求項1に記載の研磨用治具。
【請求項4】
前記突出部は、前記研磨面のうち前記回転軸と重なる位置に形成されている請求項3に記載の研磨用治具。
【請求項5】
前記突出部は、前記回転軸と偏心しており、かつ前記研磨面と重ならない位置に形成されている請求項3に記載の研磨用治具。
【請求項6】
請求項1から5のいずれか1つに記載の研磨用治具を用いて前記プローブの端面を研磨する研磨方法であって、
前記保持部に前記工具を保持させるステップと、
前記差込孔に前記プローブを差し込むステップと、
前記研磨面を回転させて前記端面を研磨するステップと、
前記端面を研磨するステップの後に前記中心軸を中心に前記プローブを回転させて姿勢を変化させるステップと、
前記プローブの姿勢を変化させるステップの後に前記端面を再度研磨するステップと、を備える研磨方法。
発明の詳細な説明
【技術分野】
【0001】
本発明は、研磨用治具および研磨方法に関する。
続きを表示(約 1,600 文字)
【背景技術】
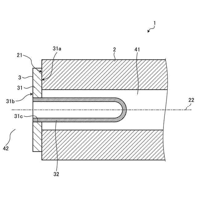
【0002】
棒状のプローブの端部にセンサが設けられたプローブ型分析計がある(例えば特許文献1を参照)。プローブの形状は筒状である。センサは、プローブの端部に取り付けられて、プローブの端部の開口を塞ぐ。センサによって、筒状であるプローブの内側となる内側空間と、プローブの外側となる外側空間とが区画される。例えば、プローブ型分析計がガス分析計であれば、外側空間には測定対象となる測定ガスが存在し、内側空間には比較対象となる比較ガスが存在する。このようなプローブ型分析計では、内側空間に測定ガスが侵入して比較ガスと混ざると測定精度が低下してしまう。そのため、プローブの端面とセンサとの間が密封されている必要がある。
【0003】
プローブの端面に付着した埃等の影響で、プローブの端面に凹凸が形成される場合がある。プローブの端面に凹凸が形成されていると、プローブの端面とセンサとの間に隙間ができ、密封性が損なわれてしまう場合がある。そのため、プローブの端面を研磨して平滑にする作業が行われる。
【0004】
プローブの端面の研磨では、例えば、端面を研磨する研磨面を有する電動工具が用いられる。研磨面にはプローブの内側に差し込まれる突部が設けられている。研磨面に設けられた突部をプローブの内側に差し込んで研磨面を端面に当接させた状態で、電動工具によって突部を中心に研磨面が回転されることで端面が研磨される。
【先行技術文献】
【特許文献】
【0005】
実開平5-84853号公報
【発明の概要】
【発明が解決しようとする課題】
【0006】
プローブの端面とセンサとが接する箇所の密封性を確保するためには、プローブの端面がプローブの中心軸と垂直な面である必要がある。電動工具を手で保持して研磨した場合には、電動工具がぶれてしまい、プローブの中心軸と垂直な面に対して研磨後の端面が傾いてしまう場合がある。研磨後の端面が傾くことで、センサとの間で密封性が十分に確保されず、内側空間に測定ガスが侵入してしまう場合があった。
【0007】
本発明は、センサとの間に十分な密封性を確保できる端面を研磨によってプローブに形成可能とする研磨用治具を得ることを目的とする。
【課題を解決するための手段】
【0008】
本発明に係る研磨用治具は、プローブ型分析計に設けられた棒状のプローブの端面を研磨するための研磨用治具であって、プローブの中心軸に沿ってプローブを差し込み可能とされた差込孔と、回転軸を中心に回転して端面を研磨する研磨面を有する工具を端面に対向させて保持する保持部と、が形成され、保持部は、研磨面が中心軸と垂直となるように、かつ、回転軸を中心軸と偏心させて工具を保持する。
【発明の効果】
【0009】
本発明によれば、センサとの間に十分な密封性を確保できる端面を研磨によってプローブに形成可能とする研磨用治具を得ることができるという効果がある。
【図面の簡単な説明】
【0010】
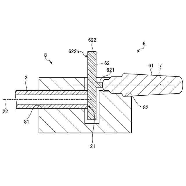
プローブ型分析計の概略構成を示す断面図である。
センサの斜視図である。
プローブの端面の研磨に用いられる工具の一例を示す斜視図である。
研磨用治具の斜視図である。
プローブが差込孔に差し込まれ、工具が保持部に保持された状態の研磨用治具を示す斜視図である。
プローブが差込孔に差し込まれ、工具が保持部に保持された状態の研磨用治具の断面図である。
研磨用治具を用いてプローブを研磨する手順を示したフローチャートである。
第1の変形例にかかる研磨用治具の斜視図である。
第2の変形例にかかる研磨用治具の斜視図である。
【発明を実施するための形態】
(【0011】以降は省略されています)
この特許をJ-PlatPat(特許庁公式サイト)で参照する
関連特許
横河電機株式会社
測定器
20日前
横河電機株式会社
温度測定装置
20日前
横河電機株式会社
コントローラ
9日前
横河電機株式会社
情報プログラム
9日前
横河電機株式会社
測定装置及び測定方法
17日前
横河電機株式会社
適応方法及び情報処理装置
2日前
横河電機株式会社
測定方法及び測定システム
20日前
横河電機株式会社
装置、方法及びプログラム
20日前
横河電機株式会社
研磨用治具および研磨方法
1か月前
横河電機株式会社
光パルス試験器及び測定方法
16日前
横河電機株式会社
フィールド機器及び診断方法
16日前
横河電機株式会社
装置、方法およびプログラム
10日前
横河電機株式会社
菌体培養槽および菌体培養方法
18日前
横河電機株式会社
装置、方法、およびプログラム
10日前
横河電機株式会社
装置、方法、およびプログラム
17日前
横河電機株式会社
制御プログラム及びコントローラ
9日前
横河電機株式会社
細胞穿刺装置及び顕微鏡システム
9日前
横河電機株式会社
分散制御ノード(DCN)冗長性
16日前
横河電機株式会社
蛍光読取装置および蛍光読取方法
18日前
横河電機株式会社
細胞穿刺装置及び顕微鏡システム
9日前
横河電機株式会社
メタン生成装置及びメタン生成方法
20日前
横河電機株式会社
表面散乱型濁度計及び濁度測定方法
18日前
横河電機株式会社
測定装置、測定方法、及びプログラム
23日前
横河電機株式会社
解析装置、訓練装置およびプログラム
18日前
横河電機株式会社
測定装置、測定方法、及びプログラム
9日前
横河電機株式会社
測定装置、測定方法、及びプログラム
17日前
横河電機株式会社
測定装置、測定方法、及びプログラム
17日前
横河電機株式会社
メタン製造システム及びメタン製造方法
10日前
横河電機株式会社
データ管理支援装置及びデータ管理支援方法
9日前
横河電機株式会社
一液型組成物、フラン樹脂硬化物及びキット
17日前
横河電機株式会社
情報処理装置、更新方法及び更新プログラム
17日前
横河電機株式会社
情報処理装置、情報処理方法及びプログラム
16日前
横河電機株式会社
支援システム、支援方法および支援プログラム
11日前
横河電機株式会社
センサ装置、端末装置、及び、センサシステム
12日前
横河電機株式会社
情報処理装置、情報処理方法、及び、プログラム
17日前
横河電機株式会社
取付具、光学素子組立体、及び共焦点光スキャナ
20日前
続きを見る
他の特許を見る