TOP
|
特許
|
意匠
|
商標
特許ウォッチ
Twitter
他の特許を見る
公開番号
2025149128
公報種別
公開特許公報(A)
公開日
2025-10-08
出願番号
2024049586
出願日
2024-03-26
発明の名称
支援システム、支援方法および支援プログラム
出願人
横河電機株式会社
代理人
弁理士法人RYUKA国際特許事務所
主分類
C02F
1/00 20230101AFI20251001BHJP(水,廃水,下水または汚泥の処理)
要約
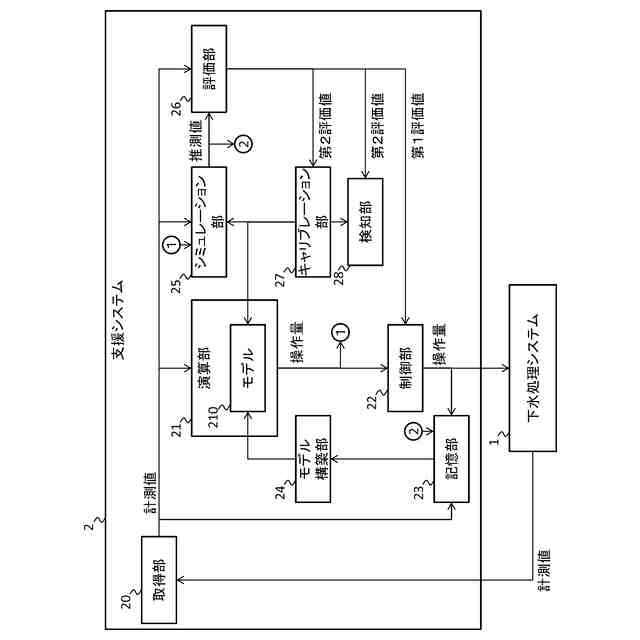
【解決手段】 下水処理システムにおける計測値を取得する取得部と、前記計測値と、前記下水処理システムに与えた操作量とに基づいて生成された、前記下水処理システムの制御に用いるモデルを用い、新たに取得された前記計測値に応じて前記下水処理システムに与えるべき操作量を算出する演算部と、前記演算部で算出された前記操作量に応じた前記下水処理システムの状態をシミュレーションにより算出するシミュレーション部と、を備える支援システムが提供される。
【選択図】図2
特許請求の範囲
【請求項1】
下水処理システムにおける計測値を取得する取得部と、
前記計測値と、前記下水処理システムに与えた操作量とに基づいて生成された、前記下水処理システムの制御に用いるモデルを用い、新たに取得された前記計測値に応じて前記下水処理システムに与えるべき操作量を算出する演算部と、
前記演算部で算出された前記操作量に応じた前記下水処理システムの状態をシミュレーションにより算出するシミュレーション部と、
を備える支援システム。
続きを表示(約 1,200 文字)
【請求項2】
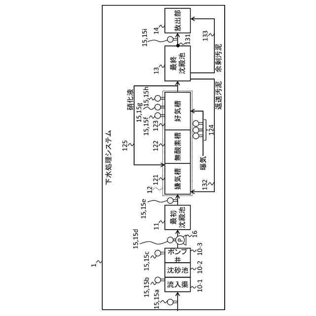
前記下水処理システムは、下水に対する処理を行うための反応槽を有し、
前記シミュレーション部は、前記反応槽の内部状態を算出する、請求項1に記載の支援システム。
【請求項3】
前記シミュレーション部により算出される、前記内部状態を示す値と、予め定められた基準値との比較結果に応じた第1評価値を算出する第1評価部をさらに備える、請求項2に記載の支援システム。
【請求項4】
前記演算部で算出された前記操作量に応じて前記下水処理システムを制御する制御部をさらに備え、
前記制御部は、前記第1評価値が第1基準条件を満たす場合に、前記下水処理システムに対して制御信号を出力する、請求項3に記載の支援システム。
【請求項5】
前記シミュレーション部は、複数種類の前記計測値のうち、少なくとも1種類の計測値を推定した推定値を算出し、
当該支援システムは、
前記少なくとも1種類の計測値のそれぞれと、当該計測値に対応する種類の前記推定値との誤差に応じた第2評価値を算出する第2評価部をさらに備える、請求項1に記載の支援システム。
【請求項6】
前記シミュレーション部をキャリブレーションするキャリブレーション部をさらに備え、
前記キャリブレーション部は、前記第2評価値が第2基準条件を満たす場合にキャリブレーションを実行する、請求項5に記載の支援システム。
【請求項7】
前記シミュレーション部のキャリブレーションの実行後に前記第2評価値が第3基準条件を満たす場合に前記下水処理システムを異常と検知する検知部をさらに備える、請求項6に記載の支援システム。
【請求項8】
下水処理システムにおける計測値を取得する計測値取得段階と、
前記計測値と、前記下水処理システムに与えた操作量とに基づいて生成された、前記下水処理システムの制御に用いるモデルを用い、新たに取得された前記計測値に応じて前記下水処理システムに与えるべき操作量を算出する演算段階と、
前記演算段階で算出された前記操作量に応じた前記下水処理システムの状態をシミュレーションにより算出するシミュレーション段階と、
を備える支援方法。
【請求項9】
コンピュータに実行されることにより、当該コンピュータを、
下水処理システムにおける計測値を取得する取得部と、
前記計測値と、前記下水処理システムに与えた操作量とに基づいて生成された、前記下水処理システムの制御に用いるモデルを用い、新たに取得された前記計測値に応じて前記下水処理システムに与えるべき操作量を算出する演算部と、
前記演算部で算出された前記操作量に応じた前記下水処理システムの状態をシミュレーションにより算出するシミュレーション部
として機能させる支援プログラム。
発明の詳細な説明
【技術分野】
【0001】
本発明は、支援システム、支援方法および支援プログラムに関する。
続きを表示(約 1,400 文字)
【背景技術】
【0002】
特許文献1等には「下水処理のプロセスでは…効率化を図るために、モデルを用いたプロセスの制御が提案されている」と記載されている(特許文献1の段落0002)。
[先行技術文献]
[特許文献]
[特許文献1]特開2021-26617号公報
[特許文献2]特開2017-91056号公報
【発明の概要】
【0003】
本発明の第1の態様においては、下水処理システムにおける計測値を取得する取得部と、前記計測値と、前記下水処理システムに与えた操作量とに基づいて生成された、前記下水処理システムの制御に用いるモデルを用い、新たに取得された前記計測値に応じて前記下水処理システムに与えるべき操作量を算出する演算部と、前記演算部で算出された前記操作量に応じた前記下水処理システムの状態をシミュレーションにより算出するシミュレーション部と、を備える支援システムが提供される。
【0004】
上記の支援システムにおいては、前記下水処理システムは、下水に対する処理を行うための反応槽を有し、前記シミュレーション部は、前記反応槽の内部状態を算出してよい。
【0005】
上記の支援システムは、前記シミュレーション部により算出される、前記内部状態を示す値と、予め定められた基準値との比較結果に応じた第1評価値を算出する第1評価部をさらに備えてよい。
【0006】
上記の支援システムは、前記演算部で算出された前記操作量に応じて前記下水処理システムを制御する制御部をさらに備え、前記制御部は、前記第1評価値が第1基準条件を満たす場合に、前記下水処理システムに対して制御信号を出力してよい。
【0007】
上記何れかの支援システムにおいては、前記シミュレーション部は、複数種類の前記計測値のうち、少なくとも1種類の計測値を推定した推定値を算出し、当該支援システムは、前記少なくとも1種類の計測値のそれぞれと、当該計測値に対応する種類の前記推定値との誤差に応じた第2評価値を算出する第2評価部をさらに備えてよい。
【0008】
上記の支援システムは、前記シミュレーション部をキャリブレーションするキャリブレーション部をさらに備え、前記キャリブレーション部は、前記第2評価値が第2基準条件を満たす場合にキャリブレーションを実行してよい。
【0009】
上記の支援システムは、前記シミュレーション部のキャリブレーションの実行後に前記第2評価値が第3基準条件を満たす場合に前記下水処理システムを異常と検知する検知部をさらに備えてよい。
【0010】
本発明の第2の態様においては、下水処理システムにおける計測値を取得する計測値取得段階と、前記計測値と、前記下水処理システムに与えた操作量とに基づいて生成された、前記下水処理システムの制御に用いるモデルを用い、新たに取得された前記計測値に応じて前記下水処理システムに与えるべき操作量を算出する演算段階と、前記演算段階で算出された前記操作量に応じた前記下水処理システムの状態をシミュレーションにより算出するシミュレーション段階と、を備える支援方法が提供される。
(【0011】以降は省略されています)
この特許をJ-PlatPat(特許庁公式サイト)で参照する
関連特許
横河電機株式会社
磁気コア
1か月前
横河電機株式会社
コントローラ
1か月前
横河電機株式会社
情報プログラム
1か月前
横河電機株式会社
適応方法及び情報処理装置
1か月前
横河電機株式会社
光パルス試験器及び測定方法
1か月前
横河電機株式会社
フィールド機器及び診断方法
1か月前
横河電機株式会社
装置、方法およびプログラム
1か月前
横河電機株式会社
装置、方法、およびプログラム
1か月前
横河電機株式会社
分散制御ノード(DCN)冗長性
1か月前
横河電機株式会社
細胞穿刺装置及び顕微鏡システム
1か月前
横河電機株式会社
細胞穿刺装置及び顕微鏡システム
1か月前
横河電機株式会社
制御プログラム及びコントローラ
1か月前
横河電機株式会社
クランプ式電流計及び電流測定方法
24日前
横河電機株式会社
測定装置、測定方法、及びプログラム
1か月前
横河電機株式会社
測定装置、測定方法、及び、プログラム
17日前
横河電機株式会社
メタン製造システム及びメタン製造方法
1か月前
横河電機株式会社
更新されたエイリアス情報のフィルタ処理
5日前
横河電機株式会社
情報処理装置、情報処理方法及びプログラム
1か月前
横河電機株式会社
データ管理支援装置及びデータ管理支援方法
1か月前
横河電機株式会社
センタリングデバイスおよび流量計ユニット
16日前
横河電機株式会社
情報処理装置、更新方法及び更新プログラム
1か月前
横河電機株式会社
センサ装置、端末装置、及び、センサシステム
1か月前
横河電機株式会社
支援システム、支援方法および支援プログラム
1か月前
横河電機株式会社
情報処理装置、表示方法および表示プログラム
16日前
横河電機株式会社
回路モジュール、細胞穿刺装置、及び顕微鏡システム
1か月前
横河電機株式会社
情報生成装置、情報生成システムおよび情報生成方法
24日前
横河電機株式会社
記録計、バックアップ方法及びバックアッププログラム
16日前
横河電機株式会社
固体電解質組成物、固体電解質膜、積層体、電池、固体電解質組成物の製造方法
1か月前
横河電機株式会社
液体サンプルバルブ、ガスクロマトグラフ装置、洗浄方法、および洗浄プログラム
19日前
横河電機株式会社
光スペクトル測定プログラム、光スペクトル測定方法、及び光スペクトラムアナライザ
1か月前
横河電機株式会社
設備を保守するための装置、方法、およびプログラム
26日前
株式会社げんき
液体活性化装置
19日前
三浦工業株式会社
汚泥乾燥加熱釜
1か月前
株式会社ライトアース
水循環式水質浄化システム
26日前
名古屋メッキ工業株式会社
溶存金属析出装置
1か月前
三浦工業株式会社
精製水供給システム
1か月前
続きを見る
他の特許を見る