TOP
|
特許
|
意匠
|
商標
特許ウォッチ
Twitter
他の特許を見る
公開番号
2025146010
公報種別
公開特許公報(A)
公開日
2025-10-03
出願番号
2024046573
出願日
2024-03-22
発明の名称
フィールド機器及び診断方法
出願人
横河電機株式会社
代理人
弁理士法人酒井国際特許事務所
主分類
G06F
11/22 20060101AFI20250926BHJP(計算;計数)
要約
【課題】フィールド機器が搭載するCPUの故障診断に要する処理時間を短縮すること。
【解決手段】フィールド機器10において、センサ101は、所定の物理量を測定し、測定した物理量を示す値であるセンサ測定値を出力し、第一CPU102は、センサ測定値に対する所定の演算と、所定の定周期処理とを行い、定周期処理の実行結果を含むシーケンス情報を自発的に送信し、第二CPU103は、シーケンス情報に基づいて、定周期処理が正常に実行されているか否かの判定を行うことにより第一CPU102が故障しているか否かを診断する。
【選択図】図1
特許請求の範囲
【請求項1】
所定の物理量を測定し、測定した前記物理量を示す値であるセンサ測定値を出力するセンサと、
前記センサ測定値に対する所定の演算と、所定の定周期処理とを行い、前記定周期処理の実行結果を含むシーケンス情報を自発的に送信する第一CPUと、
前記シーケンス情報に基づいて、前記定周期処理が正常に実行されているか否かの判定を行うことにより前記第一CPUが故障しているか否かを診断する第二CPUと、
を具備するフィールド機器。
続きを表示(約 1,100 文字)
【請求項2】
前記第二CPUは、前記定周期処理に含まれる複数の処理が順番通りに実行されているか否かを確認することにより前記定周期処理が正常に実行されているか否かを判定し、前記定周期処理が正常に実行されていないときに前記第一CPUが故障していると診断する、
請求項1に記載のフィールド機器。
【請求項3】
前記第二CPUは、前記定周期処理が複数回正常に実行されていないときに前記第一CPUが故障していると診断する、
請求項2に記載のフィールド機器。
【請求項4】
前記第一CPUは、前記第一CPUに対する自己診断処理を行い、
前記シーケンス情報は、前記自己診断処理の実行結果を含み、
前記第二CPUは、前記シーケンス情報に基づいて、前記自己診断処理が正常に実行されているか否かの判定を行うことにより前記第一CPUが故障しているか否かを診断する、
請求項1に記載のフィールド機器。
【請求項5】
前記第二CPUは、前記自己診断処理が一定時間以内に1回以上開始され、かつ、完了していることを確認することにより前記自己診断処理が正常に実行されているか否かを判定し、前記自己診断処理が正常に実行されていないときに前記第一CPUが故障していると診断する、
請求項4に記載のフィールド機器。
【請求項6】
前記第二CPUは、前記自己診断処理が複数回正常に実行されていないときに前記第一CPUが故障していると診断する、
請求項5に記載のフィールド機器。
【請求項7】
前記一定時間は、前記第一CPUにおいて前記自己診断処理を完了するのに要する時間と、前記第一CPUに異常が発生してから前記第二CPUが前記異常を通知するまでに要する時間と、前記定周期処理の周期と、前記定周期処理の処理時間とに基づいて設定される、
請求項5に記載のフィールド機器。
【請求項8】
前記シーケンス情報は、前記シーケンス情報の送信順序を示す識別子を含み、
前記第二CPUは、前記識別子を確認することにより前記第一CPUが故障しているか否かを診断する、
請求項1に記載のフィールド機器。
【請求項9】
前記第二CPUは、前記識別子の変化のパターンが所定のパターンと合致しないときに前記第一CPUが故障していると診断する、
請求項8に記載のフィールド機器。
【請求項10】
前記第二CPUは、前記識別子が「1」ずつインクリメントされていないときに前記第一CPUが故障していると診断する、
請求項9に記載のフィールド機器。
(【請求項11】以降は省略されています)
発明の詳細な説明
【技術分野】
【0001】
本開示は、フィールド機器及び診断方法に関する。
続きを表示(約 1,200 文字)
【背景技術】
【0002】
圧力計や流量計等のフィールド機器の中には、フィールド機器が搭載するCPU(Central Processing Unit)の故障診断機能を有するものがある。
【先行技術文献】
【特許文献】
【0003】
特開平08-234828号公報
【発明の概要】
【発明が解決しようとする課題】
【0004】
CPUの故障診断に要する時間は短いことが望ましい。
【0005】
そこで、本開示では、フィールド機器が搭載するCPUの故障診断に要する処理時間を短縮できる技術を提案する。
【課題を解決するための手段】
【0006】
本開示のフィールド機器は、センサと、第一CPUと、第二CPUとを有する。前記センサは、所定の物理量を測定し、測定した前記物理量を示す値であるセンサ測定値を出力する。前記第一CPUは、前記センサ測定値に対する所定の演算と、所定の定周期処理とを行い、前記定周期処理の実行結果を含むシーケンス情報を前記シーケンス情報の取得要求を受信することなく自発的に送信する。前記第二CPUは、前記シーケンス情報に基づいて、前記定周期処理が正常に実行されているか否かの判定を行うことにより前記第一CPUが故障しているか否かを診断する。
【発明の効果】
【0007】
本開示によれば、フィールド機器が搭載するCPUの故障診断に要する処理時間を短縮できる。
【図面の簡単な説明】
【0008】
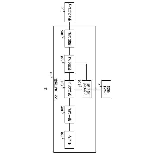
本開示の実施例1に係る診断システムの構成例を示す図
本開示の実施例1に係るシーケンス情報の一例を示す図
本開示の実施例1に係る第一CPUの動作例を示す図
本開示の実施例1に係る第一CPUの動作例を示す図
本開示の実施例1に係る第一CPUの動作例を示す図
本開示の実施例1に係る第一CPUの動作例を示す図
本開示の実施例1に係る第二CPUの動作例を示す図
【発明を実施するための形態】
【0009】
以下に、本開示の実施例を図面に基づいて説明する。なお、以下の実施例において、同一の部位または同一の処理には同一の符号を付すことにより重複する説明を省略することがある。
【0010】
[実施例1]
<診断システムの構成>
図1は、本開示の実施例1に係る診断システムの構成例を示す図である。図1において、診断システム1は、フィールド機器10と、ホスト機器20と、ディスプレイ30とを有する。フィールド機器10の一例として、圧力計、流量計、温度計、レベル計等が挙げられる。ホスト機器20の一例として、パーソナルコンピュータ等が挙げられる。ディスプレイ30の一例として、LCD(Liquid Crystal Display)等が挙げられる。
(【0011】以降は省略されています)
この特許をJ-PlatPat(特許庁公式サイト)で参照する
関連特許
横河電機株式会社
磁気コア
28日前
横河電機株式会社
コントローラ
1か月前
横河電機株式会社
情報プログラム
1か月前
横河電機株式会社
適応方法及び情報処理装置
1か月前
横河電機株式会社
光パルス試験器及び測定方法
1か月前
横河電機株式会社
フィールド機器及び診断方法
1か月前
横河電機株式会社
装置、方法およびプログラム
1か月前
横河電機株式会社
装置、方法、およびプログラム
1か月前
横河電機株式会社
分散制御ノード(DCN)冗長性
1か月前
横河電機株式会社
細胞穿刺装置及び顕微鏡システム
1か月前
横河電機株式会社
細胞穿刺装置及び顕微鏡システム
1か月前
横河電機株式会社
制御プログラム及びコントローラ
1か月前
横河電機株式会社
クランプ式電流計及び電流測定方法
22日前
横河電機株式会社
測定装置、測定方法、及びプログラム
1か月前
横河電機株式会社
測定装置、測定方法、及びプログラム
1か月前
横河電機株式会社
測定装置、測定方法、及びプログラム
1か月前
横河電機株式会社
測定装置、測定方法、及び、プログラム
15日前
横河電機株式会社
メタン製造システム及びメタン製造方法
1か月前
横河電機株式会社
更新されたエイリアス情報のフィルタ処理
3日前
横河電機株式会社
情報処理装置、情報処理方法及びプログラム
1か月前
横河電機株式会社
データ管理支援装置及びデータ管理支援方法
1か月前
横河電機株式会社
情報処理装置、更新方法及び更新プログラム
1か月前
横河電機株式会社
センタリングデバイスおよび流量計ユニット
14日前
横河電機株式会社
支援システム、支援方法および支援プログラム
1か月前
横河電機株式会社
センサ装置、端末装置、及び、センサシステム
1か月前
横河電機株式会社
情報処理装置、表示方法および表示プログラム
14日前
横河電機株式会社
回路モジュール、細胞穿刺装置、及び顕微鏡システム
1か月前
横河電機株式会社
情報生成装置、情報生成システムおよび情報生成方法
22日前
横河電機株式会社
記録計、バックアップ方法及びバックアッププログラム
14日前
横河電機株式会社
測定値算出方法、測定値算出プログラム、及び測定値算出装置
1か月前
横河電機株式会社
アラーム管理装置、アラーム管理方法およびアラーム管理プログラム
1か月前
横河電機株式会社
固体電解質組成物、固体電解質膜、積層体、電池、固体電解質組成物の製造方法
28日前
横河電機株式会社
液体サンプルバルブ、ガスクロマトグラフ装置、洗浄方法、および洗浄プログラム
17日前
横河電機株式会社
光スペクトル測定プログラム、光スペクトル測定方法、及び光スペクトラムアナライザ
1か月前
横河電機株式会社
設備を保守するための装置、方法、およびプログラム
24日前
個人
詐欺保険
1か月前
続きを見る
他の特許を見る