TOP
|
特許
|
意匠
|
商標
特許ウォッチ
Twitter
他の特許を見る
公開番号
2025142942
公報種別
公開特許公報(A)
公開日
2025-10-01
出願番号
2024042586
出願日
2024-03-18
発明の名称
表面散乱型濁度計及び濁度測定方法
出願人
横河電機株式会社
代理人
弁理士法人酒井国際特許事務所
主分類
G01N
21/49 20060101AFI20250924BHJP(測定;試験)
要約
【課題】液面における光の照射位置と受光素子との位置関係を変更して、濁度測定の精度を向上させる表面散乱型濁度計及び濁度測定方法を提供する。
【解決手段】測定槽は、被測定液を溜める。光源は、測定槽に溜められた被測定液の液面に対して光を照射する。受光素子は、光源からの光により測定槽で発生した散乱光を受光する。変更機構は、光源からの光の液面における照射位置と受光素子との光の進行方向の液面に水平な成分に対する相対的位置を変更する。濁度値算出部は、受光素子で受光された散乱光を基に被測定液の濁度値を算出する。
【選択図】図1
特許請求の範囲
【請求項1】
被測定液を溜める測定槽と、
前記測定槽に溜められた被測定液の液面に対して光を照射する光源と、
前記光源からの光により前記測定槽で発生した散乱光を受光する受光素子と、
前記光源からの光の前記液面における照射位置と前記受光素子との前記光の進行方向の液面に水平な成分に対する相対的位置を変更する変更機構と、
前記受光素子で受光された散乱光を基に前記被測定液の濁度値を算出する濁度値算出部と
を備えたことを特徴とする表面散乱型濁度計。
続きを表示(約 1,200 文字)
【請求項2】
前記変更機構は、前記測定槽と前記受光素子との距離を変更することで前記相対的位置を変更することを特徴とする請求項1に記載の表面散乱型濁度計。
【請求項3】
前記変更機構は、前記測定槽を移動させて、前記測定槽と前記受光素子との距離を変更する機構であることを特徴とする請求項2に記載の表面散乱型濁度計。
【請求項4】
前記濁度値算出部は、前記相対的位置が第1状態にある場合の前記被測定液の第1濁度値を算出し、前記相対的位置が第2状態にある場合の前記被測定液の第2濁度値を算出し、
前記第1濁度値を基に、前記相対的位置を前記第1状態から前記第2状態に変更するように、前記変更機構を制御する制御部を更に備える
ことを特徴とする請求項3に記載の表面散乱型濁度計。
【請求項5】
前記制御部は、前記第1濁度値が高濁度閾値以上の場合、前記変更機構を制御して、前記光の前記被測定液中の光路長が短くなるように前記相対的位置を変更し、前記第1濁度値が前記高濁度閾値以下の低濁度閾値未満の場合、前記変更機構を制御して、前記光路長が長くなるように前記相対的位置を変更することを特徴とする請求項4に記載の表面散乱型濁度計。
【請求項6】
前記制御部は、前記第1濁度値が前記高濁度閾値以上の場合、前記変更機構を制御して、前記第1濁度値に応じて段階的に前記光路長が短くなるように前記相対的位置を変更し、前記第1濁度値が前記低濁度閾値未満の場合、前記変更機構を制御して、前記第1濁度値に応じて段階的に前記光路長が長くなるように前記相対的位置を変更することを特徴とする請求項5に記載の表面散乱型濁度計。
【請求項7】
前記変更機構は、前記受光素子を移動させて、前記測定槽と前記受光素子との距離を変更する機構であることを特徴とする請求項2に記載の表面散乱型濁度計。
【請求項8】
前記変更機構は、前記光源からの光の光軸の向きを変更することで、前記相対的位置を変更することを特徴とする請求項1に記載の表面散乱型濁度計。
【請求項9】
前記変更機構は、前記光源の位置を変更することで、前記相対的位置を変更することを特徴とする請求項1に記載の表面散乱型濁度計。
【請求項10】
被測定液を溜める測定槽と、前記測定槽に溜められた被測定液の液面に対して光を照射する光源と、前記光源からの光により前記測定槽で発生した散乱光を受光する受光素子とを有する表面散乱型濁度計を用いた濁度測定方法であって、
前記光源からの光の前記液面における照射位置と前記受光素子との前記光の進行方向の液面に水平な成分に対する相対的位置を変更機構に変更させ、
前記受光素子で受光された散乱光を基に前記被測定液の濁度値を濁度値算出装置に算出させる
ことを特徴とする濁度測定方法。
発明の詳細な説明
【技術分野】
【0001】
本発明は、表面散乱型濁度計及び濁度測定方法に関する。
続きを表示(約 1,200 文字)
【背景技術】
【0002】
浄水場や工業用水等の被測定液の濁度を光学的に測定する濁度計が知られている。濁度とは液体の濁りの程度を表す指標である。濁度計に用いられる測定方式は、例えば、透過光方式、散乱光方式、透過散乱光方式、表面散乱光方式及び積分球方式等に分類される。
【0003】
これらの測定方式のうち表面散乱光方式は、散乱光の強さが液中の濁質の濃度に比例することを利用する測定方式である。表面散乱光方式では、光源から照射された光が測定槽に溜められた被測定液の濁質により反射して散乱光が発生し、散乱光が受光素子で受光されて光の強度に対応する電気信号に変換され、その電気信号に応じた濁度が算出される。
【0004】
表面散乱光方式の濁度計としては、波長の異なる2つの光の散乱光を用いて濁度を比較校正して算出する濁度計が提案されている。また、前方散乱光で濁度を測定する濁度計も提案されている。
【先行技術文献】
【特許文献】
【0005】
特開2023-144868号公報
特開2006-300858号公報
【発明の概要】
【発明が解決しようとする課題】
【0006】
しかしながら、従来の表面散乱光方式で濁度を測定する表面散乱型濁度計は、光源、測定槽及び受光素子の位置関係が固定であり、光源からの光は測定槽に溜められた被測定液の同じ位置に照射されて、濁度が求められる。このように光源、測定槽及び受光素子の位置関係が固定であることから、液中の光路長の調整は難しく、被測定液の状態に応じた精度の高い濁度の測定は困難であった。
【0007】
これについては、波長の異なる2つの光を用いた濁度計や前方散乱光で濁度を測定する濁度計であっても、光源、測定槽及び受光素子の位置関係が固定であり、被測定液の状態に応じた精度の高い濁度の測定は困難である。
【0008】
本発明の一側面は、濁度測定の精度を向上させる。
【課題を解決するための手段】
【0009】
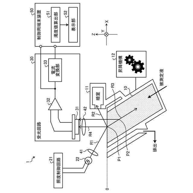
一側面に係る濁度測定装置は、以下の各部を有する。測定槽は、被測定液を溜める。光源は、前記測定槽に溜められた被測定液の液面に対して光を照射する。受光素子は、前記光源からの光により前記測定槽で発生した散乱光を受光する。変更機構は、前記光源からの光の前記液面における照射位置と前記受光素子との前記光の進行方向の液面に水平な成分に対する相対的位置を変更する。濁度値算出部は、前記受光素子で受光された散乱光を基に前記被測定液の濁度値を算出する。
【発明の効果】
【0010】
本発明によれば、濁度測定の精度を向上させることができる。
【図面の簡単な説明】
(【0011】以降は省略されています)
この特許をJ-PlatPat(特許庁公式サイト)で参照する
関連特許
横河電機株式会社
測定器
1か月前
横河電機株式会社
磁気コア
5日前
横河電機株式会社
コントローラ
19日前
横河電機株式会社
温度測定装置
1か月前
横河電機株式会社
情報プログラム
19日前
横河電機株式会社
測定装置及び測定方法
27日前
横河電機株式会社
測定方法及び測定システム
1か月前
横河電機株式会社
装置、方法及びプログラム
1か月前
横河電機株式会社
適応方法及び情報処理装置
12日前
横河電機株式会社
装置、方法およびプログラム
20日前
横河電機株式会社
フィールド機器及び診断方法
26日前
横河電機株式会社
光パルス試験器及び測定方法
26日前
横河電機株式会社
菌体培養槽および菌体培養方法
28日前
横河電機株式会社
装置、方法、およびプログラム
27日前
横河電機株式会社
装置、方法、およびプログラム
20日前
横河電機株式会社
細胞穿刺装置及び顕微鏡システム
19日前
横河電機株式会社
細胞穿刺装置及び顕微鏡システム
19日前
横河電機株式会社
制御プログラム及びコントローラ
19日前
横河電機株式会社
蛍光読取装置および蛍光読取方法
28日前
横河電機株式会社
分散制御ノード(DCN)冗長性
26日前
横河電機株式会社
表面散乱型濁度計及び濁度測定方法
28日前
横河電機株式会社
測定装置、測定方法、及びプログラム
19日前
横河電機株式会社
解析装置、訓練装置およびプログラム
28日前
横河電機株式会社
測定装置、測定方法、及びプログラム
27日前
横河電機株式会社
測定装置、測定方法、及びプログラム
27日前
横河電機株式会社
メタン製造システム及びメタン製造方法
20日前
横河電機株式会社
一液型組成物、フラン樹脂硬化物及びキット
27日前
横河電機株式会社
情報処理装置、更新方法及び更新プログラム
27日前
横河電機株式会社
情報処理装置、情報処理方法及びプログラム
26日前
横河電機株式会社
データ管理支援装置及びデータ管理支援方法
19日前
横河電機株式会社
センサ装置、端末装置、及び、センサシステム
22日前
横河電機株式会社
支援システム、支援方法および支援プログラム
21日前
横河電機株式会社
情報処理装置、情報処理方法、及び、プログラム
27日前
横河電機株式会社
取付具、光学素子組立体、及び共焦点光スキャナ
1か月前
横河電機株式会社
回路モジュール、細胞穿刺装置、及び顕微鏡システム
19日前
横河電機株式会社
核酸検出の対象となる試料の前処理用試薬及び前処理方法
1か月前
続きを見る
他の特許を見る