TOP
|
特許
|
意匠
|
商標
特許ウォッチ
Twitter
他の特許を見る
10個以上の画像は省略されています。
公開番号
2025141702
公報種別
公開特許公報(A)
公開日
2025-09-29
出願番号
2024041757
出願日
2024-03-15
発明の名称
測定器
出願人
横河電機株式会社
代理人
弁理士法人RYUKA国際特許事務所
主分類
G01D
11/24 20060101AFI20250919BHJP(測定;試験)
要約
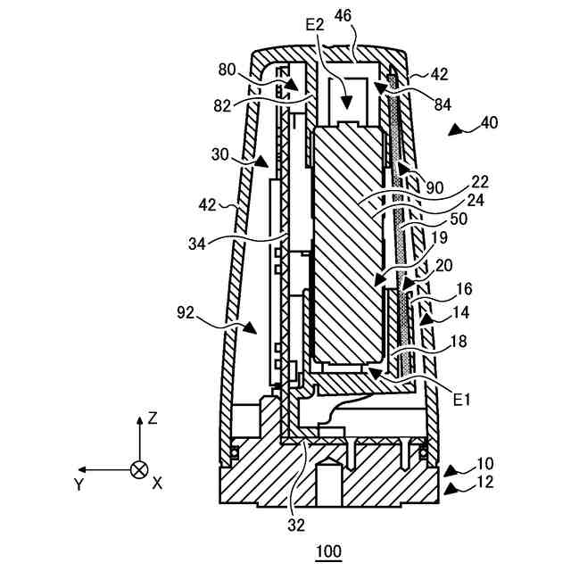
【解決手段】電気部品を保持する第1保持部と、電気部品と第1保持部とを収容するカバー部とを備え、第1保持部に、交換部材が挿入される第1挿入部が設けられている測定器を提供する。第1保持部は、電気部品を交換可能に保持してよい。第1挿入部は、第1保持部に電気部品が保持された状態で、電気部品の周囲の少なくとも一部を囲うように設けられていてよい。測定器は、電気部品と電気的に接続される回路基板をさらに備えてよい。第1挿入部は、第1保持部に電気部品が保持された状態で、電気部品の周囲の少なくとも一部、および、回路基板の周囲の少なくとも一部を囲うように設けられていてよい。
【選択図】図6
特許請求の範囲
【請求項1】
電気部品を保持する第1保持部と、
前記電気部品と前記第1保持部とを収容するカバー部と、
を備え、
前記第1保持部に、交換部材が挿入される第1挿入部が設けられている、
測定器。
続きを表示(約 830 文字)
【請求項2】
前記第1保持部は、前記電気部品を交換可能に保持する、請求項1に記載の測定器。
【請求項3】
前記第1挿入部は、前記第1保持部に前記電気部品が保持された状態で、前記電気部品の周囲の少なくとも一部を囲うように設けられている、請求項1に記載の測定器。
【請求項4】
前記電気部品と電気的に接続される回路基板をさらに備え、
前記第1挿入部は、前記第1保持部に前記電気部品が保持された状態で、前記電気部品の周囲の少なくとも一部、および、前記回路基板の周囲の少なくとも一部を囲うように設けられている、請求項3に記載の測定器。
【請求項5】
前記カバー部は、前記電気部品を保持する第2保持部を有し、
前記第2保持部に、前記交換部材が挿入される第2挿入部が設けられている、
請求項1から3のいずれか一項に記載の測定器。
【請求項6】
前記電気部品は、長手方向を有する柱状であり、
前記第1保持部には、柱状の前記電気部品の、前記長手方向における一方の端部が挿入される第1穴部が設けられている、
請求項1から3のいずれか一項に記載の測定器。
【請求項7】
前記カバー部から前記第1保持部への方向に見た場合において、前記第1挿入部は、前記第1穴部の周囲の少なくとも一部を囲うように設けられている、請求項6に記載の測定器。
【請求項8】
前記交換部材は、水分を吸収する繊維状である、請求項1から3のいずれか一項に記載の測定器。
【請求項9】
電気部品を保持する第1保持部と、
前記電気部品と電気的に接続される回路基板と、
前記回路基板よりも吸湿度の高い材料で形成された吸湿部材と、
前記電気部品、前記第1保持部、前記回路基板および前記吸湿部材を収容するカバー部と、
を備える測定器。
発明の詳細な説明
【技術分野】
【0001】
本発明は、測定器に関する。
続きを表示(約 910 文字)
【背景技術】
【0002】
特許文献1には、「棒状の交換対象物の固定構造の部品点数を削減し、交換対象物の交換作業の容易化及び低コスト化を実現できる測定器の提供」と記載されている(要約書)。
[先行技術文献]
[特許文献]
[特許文献1] 特開2019-090761号公報
【発明の概要】
【0003】
本発明の第1の態様においては、測定器を提供する。測定器は、電気部品を保持する第1保持部と、電気部品と第1保持部とを収容するカバー部とを備える。第1保持部には、交換部材が挿入される第1挿入部が設けられている。
【0004】
第1保持部は、電気部品を交換可能に保持してよい。
【0005】
上記いずれかの測定器において、第1挿入部は、第1保持部に電気部品が保持された状態で、電気部品の周囲の少なくとも一部を囲うように設けられていてよい。
【0006】
上記いずれかの測定器は、電気部品と電気的に接続される回路基板をさらに備えてよい。第1挿入部は、第1保持部に電気部品が保持された状態で、電気部品の周囲の少なくとも一部、および、回路基板の周囲の少なくとも一部を囲うように設けられていてよい。
【0007】
上記いずれかの測定器において、カバー部は、電気部品を保持する第2保持部を有してよい。第2保持部に、交換部材が挿入される第2挿入部が設けられていてよい。
【0008】
上記いずれかの測定器において、第2保持部は、電気部品を交換可能に保持してよい。
【0009】
上記いずれかの測定器において、第2挿入部は、第2保持部に電気部品が保持された状態で、電気部品の周囲の少なくとも一部を囲うように設けられていてよい。
【0010】
上記いずれかの測定器は、電気部品と電気的に接続される回路基板をさらに備えてよい。第1挿入部および第2挿入部は、電気部品および回路基板の周囲の少なくとも一部を囲うように設けられていてよい。
(【0011】以降は省略されています)
この特許をJ-PlatPat(特許庁公式サイト)で参照する
関連特許
横河電機株式会社
測定器
1か月前
横河電機株式会社
磁気コア
10日前
横河電機株式会社
温度測定装置
1か月前
横河電機株式会社
コントローラ
24日前
横河電機株式会社
情報プログラム
24日前
横河電機株式会社
測定装置及び測定方法
1か月前
横河電機株式会社
研磨用治具および研磨方法
1か月前
横河電機株式会社
適応方法及び情報処理装置
17日前
横河電機株式会社
測定方法及び測定システム
1か月前
横河電機株式会社
装置、方法及びプログラム
1か月前
横河電機株式会社
装置、方法およびプログラム
25日前
横河電機株式会社
光パルス試験器及び測定方法
1か月前
横河電機株式会社
フィールド機器及び診断方法
1か月前
横河電機株式会社
装置、方法およびプログラム
1か月前
横河電機株式会社
装置、方法、およびプログラム
1か月前
横河電機株式会社
装置、方法、およびプログラム
25日前
横河電機株式会社
菌体培養槽および菌体培養方法
1か月前
横河電機株式会社
細胞穿刺装置及び顕微鏡システム
24日前
横河電機株式会社
細胞穿刺装置及び顕微鏡システム
24日前
横河電機株式会社
分散制御ノード(DCN)冗長性
1か月前
横河電機株式会社
蛍光読取装置および蛍光読取方法
1か月前
横河電機株式会社
制御プログラム及びコントローラ
24日前
横河電機株式会社
クランプ式電流計及び電流測定方法
4日前
横河電機株式会社
メタン生成装置及びメタン生成方法
1か月前
横河電機株式会社
表面散乱型濁度計及び濁度測定方法
1か月前
横河電機株式会社
測定装置、測定方法、及びプログラム
24日前
横河電機株式会社
測定装置、測定方法、及びプログラム
1か月前
横河電機株式会社
測定装置、測定方法、及びプログラム
1か月前
横河電機株式会社
測定装置、測定方法、及びプログラム
1か月前
横河電機株式会社
解析装置、訓練装置およびプログラム
1か月前
横河電機株式会社
メタン製造システム及びメタン製造方法
25日前
横河電機株式会社
データ管理支援装置及びデータ管理支援方法
24日前
横河電機株式会社
情報処理装置、更新方法及び更新プログラム
1か月前
横河電機株式会社
一液型組成物、フラン樹脂硬化物及びキット
1か月前
横河電機株式会社
情報処理装置、情報処理方法及びプログラム
1か月前
横河電機株式会社
センサ装置、端末装置、及び、センサシステム
27日前
続きを見る
他の特許を見る