TOP
|
特許
|
意匠
|
商標
特許ウォッチ
Twitter
他の特許を見る
公開番号
2025145153
公報種別
公開特許公報(A)
公開日
2025-10-03
出願番号
2024045188
出願日
2024-03-21
発明の名称
光パルス試験器及び測定方法
出願人
横河電機株式会社
,
横河計測株式会社
代理人
個人
,
個人
,
個人
主分類
G01M
11/02 20060101AFI20250926BHJP(測定;試験)
要約
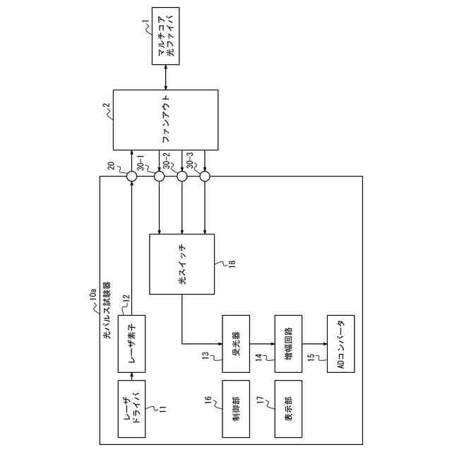
【課題】マルチコア光ファイバにおけるコア間のクロストークを容易に精度良く測定する。
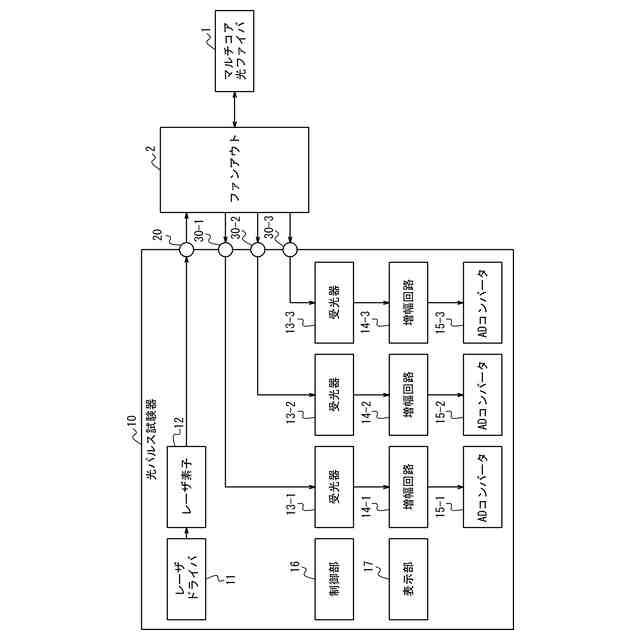
【解決手段】本開示に係る光パルス試験器10は、マルチコア光ファイバ1のコア間のクロストークを測定する。光パルス試験器10は、光パルスを生成するレーザ素子12と、マルチコア光ファイバ1の複数のコアのうちの1本のコアに光パルスを出力する出力ポート20と、複数のコアの1本のコア以外のコアにおいて発生する後方散乱光を受信する入力ポート30と、入力ポート30が受信した後方散乱光を検出する受光器13と、を備える。
【選択図】図1
特許請求の範囲
【請求項1】
マルチコア光ファイバのコア間のクロストークを測定する光パルス試験器であって、
光パルスを生成するレーザ素子と、
前記マルチコア光ファイバの複数のコアのうちの1本のコアに前記光パルスを出力する出力ポートと、
前記複数のコアの前記1本のコア以外のコアにおいて発生する後方散乱光を受信する入力ポートと、
前記入力ポートが受信した前記後方散乱光を検出する受光器と、
を備える、光パルス試験器。
続きを表示(約 1,100 文字)
【請求項2】
請求項1に記載の光パルス試験器において、
複数個の前記入力ポートを備える、光パルス試験器。
【請求項3】
請求項2に記載の光パルス試験器において、
複数個の前記受光器を備え、
複数個の前記受光器は、複数個の前記入力ポートにそれぞれ接続されている、光パルス試験器。
【請求項4】
請求項2に記載の光パルス試験器において、
複数個の前記入力ポートと接続されている光スイッチをさらに備え、
前記光スイッチは、複数個の前記入力ポートから供給される複数の後方散乱光のうちのいずれか1つの後方散乱光を前記受光器に出力する、光パルス試験器。
【請求項5】
請求項1に記載の光パルス試験器において、
前記受光器が検出した前記後方散乱光に基づいてOTDR(Optical Time Domain Reflectometer)波形を生成する制御部をさらに備える、光パルス試験器。
【請求項6】
請求項5に記載の光パルス試験器において、
前記OTDR波形を表示する表示部をさらに備える、光パルス試験器。
【請求項7】
光パルス試験器によってマルチコア光ファイバのコア間のクロストークを測定する測定方法であって、
光パルスを生成するステップと、
前記マルチコア光ファイバの複数のコアのうちの1本のコアに前記光パルスを出力ポートから出力するステップと、
前記複数のコアの前記1本のコア以外のコアにおいて発生する後方散乱光を入力ポートで受信するステップと、
前記入力ポートが受信した前記後方散乱光を検出するステップと、
を含む、測定方法。
【請求項8】
請求項7に記載の測定方法において、
前記光パルス試験器は、複数個の前記入力ポートを備える、測定方法。
【請求項9】
請求項8に記載の測定方法において、
前記光パルス試験器は、
前記後方散乱光を検出する受光器を複数個備え、
複数個の前記受光器は、複数個の前記入力ポートにそれぞれ接続されている、測定方法。
【請求項10】
請求項8に記載の測定方法において、
前記光パルス試験器は、
複数個の前記入力ポートと接続されている光スイッチをさらに備え、
前記光スイッチは、複数個の前記入力ポートから供給される複数の後方散乱光のうちのいずれか1つの後方散乱光を出力する、測定方法。
(【請求項11】以降は省略されています)
発明の詳細な説明
【技術分野】
【0001】
本開示は、光パルス試験器及び測定方法に関する。
続きを表示(約 1,200 文字)
【背景技術】
【0002】
光ファイバには、1つのコアを有するシングルコア光ファイバと、複数のコアを有するマルチコア光ファイバがある。
【0003】
マルチコア光ファイバは、クラッドの中に複数のコアが高密度に配置されている。そのため、コア間にクロストークが生じてしまう。
【0004】
従来、マルチコア光ファイバにおけるコア間のクロストークを測定する技術として、様々な技術が検討されている。例えば特許文献1は、複数のOTDR(Optical Time Domain Reflectometer)装置を用いてクロストークを測定する技術を開示している。
【先行技術文献】
【特許文献】
【0005】
特開2012-202827号公報
【発明の概要】
【発明が解決しようとする課題】
【0006】
特許文献1に記載の測定方法は、複数のOTDR装置を使用する必要があり、マルチコア光ファイバにおけるコア間のクロストークを容易に測定することができない。
【0007】
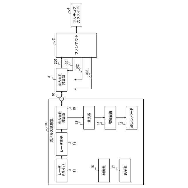
また、マルチコア光ファイバにおけるコア間のクロストークを測定する方法として、光方向性結合器を介して光パルスを複数のコアのうちの1本のコアに入力し、他のコアで発生した後方散乱光を同じ光方向性結合器を介して受信して測定する方法が考えられる。この測定方法の場合、光方向性結合器の遮断能力が完全ではないため、光パルスを入力したコアからの後方散乱光が光方向性結合器を介して漏れ出して、他のコアで発生した後方散乱光に加算されてしまう。そのため、他のコアで発生した後方散乱光だけを測定することが困難であり、クロストークを精度良く測定することが困難である。
【0008】
そこで、本開示は、マルチコア光ファイバにおけるコア間のクロストークを容易に精度良く測定することが可能な光パルス試験器及び測定方法を提供することを目的とする。
【課題を解決するための手段】
【0009】
幾つかの実施形態に係る光パルス試験器は、マルチコア光ファイバのコア間のクロストークを測定する光パルス試験器であって、光パルスを生成するレーザ素子と、前記マルチコア光ファイバの複数のコアのうちの1本のコアに前記光パルスを出力する出力ポートと、前記複数のコアの前記1本のコア以外のコアにおいて発生する後方散乱光を受信する入力ポートと、前記入力ポートが受信した前記後方散乱光を検出する受光器と、を備える。このような光パルス試験器によれば、マルチコア光ファイバにおけるコア間のクロストークを容易に精度良く測定することが可能である。
【0010】
一実施形態に係る光パルス試験器において、複数個の前記入力ポートを備えていてもよい。これにより、複数の後方散乱光を同時に受信することができる。
(【0011】以降は省略されています)
この特許をJ-PlatPat(特許庁公式サイト)で参照する
関連特許
横河電機株式会社
測定器
6日前
横河電機株式会社
藻類培養装置
16日前
横河電機株式会社
厚さ測定装置
1か月前
横河電機株式会社
温度測定装置
6日前
横河電機株式会社
測定装置及び測定方法
3日前
横河電機株式会社
測定装置および測定方法
1か月前
横河電機株式会社
ベースマップの注釈付け
1か月前
横河電機株式会社
電子機器及び短絡検出方法
2か月前
横河電機株式会社
装置、方法及びプログラム
6日前
横河電機株式会社
研磨用治具および研磨方法
16日前
横河電機株式会社
測定方法及び測定システム
6日前
横河電機株式会社
測定装置および回転検出方法
1か月前
横河電機株式会社
測定装置および推定システム
1か月前
横河電機株式会社
装置、方法およびプログラム
26日前
横河電機株式会社
装置、方法およびプログラム
17日前
横河電機株式会社
フィールド機器及び診断方法
2日前
横河電機株式会社
装置、方法およびプログラム
16日前
横河電機株式会社
光パルス試験器及び測定方法
2日前
横河電機株式会社
装置、方法、およびプログラム
16日前
横河電機株式会社
菌体培養槽および菌体培養方法
4日前
横河電機株式会社
水処理システム及び水処理方法
1か月前
横河電機株式会社
装置、方法、およびプログラム
3日前
横河電機株式会社
情報処理装置及び情報処理方法
25日前
横河電機株式会社
蛍光読取装置および蛍光読取方法
4日前
横河電機株式会社
分散制御ノード(DCN)冗長性
2日前
横河電機株式会社
センサ装置、調整方法及び調整装置
1か月前
横河電機株式会社
メタン生成装置及びメタン生成方法
6日前
横河電機株式会社
表面散乱型濁度計及び濁度測定方法
4日前
横河電機株式会社
測定装置、測定方法、及びプログラム
9日前
横河電機株式会社
測定装置、測定方法、及びプログラム
3日前
横河電機株式会社
制御装置、制御システム及び制御方法
1か月前
横河電機株式会社
測定装置、測定方法、及びプログラム
3日前
横河電機株式会社
解析装置、訓練装置およびプログラム
4日前
横河電機株式会社
設定装置、設定方法及び設定プログラム
2か月前
横河電機株式会社
診断システム、診断装置および診断方法
16日前
横河電機株式会社
監視方法、監視プログラム、及び監視装置
1か月前
続きを見る
他の特許を見る