TOP
|
特許
|
意匠
|
商標
特許ウォッチ
Twitter
他の特許を見る
公開番号
2025141574
公報種別
公開特許公報(A)
公開日
2025-09-29
出願番号
2024041581
出願日
2024-03-15
発明の名称
温度測定装置
出願人
横河電機株式会社
代理人
個人
,
個人
,
個人
主分類
G01K
13/02 20210101AFI20250919BHJP(測定;試験)
要約
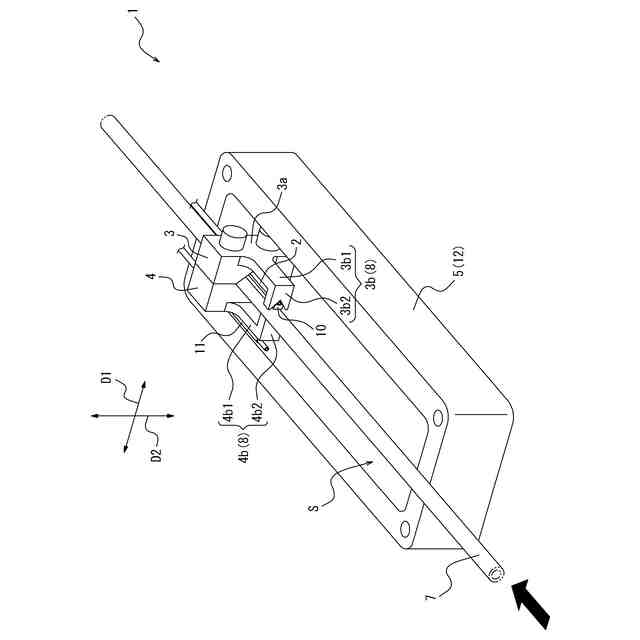
【課題】測定精度が高く設置が容易な温度測定装置を提供する。
【解決手段】温度計、第1挟込部材、第2挟込部材、第1包囲体及び第2包囲体を有し、前記第1挟込部材及び前記第2挟込部材は、流体を流す管と前記温度計とを挟み込み、前記第1包囲体及び前記第2包囲体は、前記管を挟み込むことで、前記第1挟込部材及び前記第2挟込部材に面する断熱空間を前記管の周りに形成し、前記第1包囲体及び前記第2包囲体に包囲される部分の前記管の表面の温度を前記温度計によって測定することで前記管内の前記流体の温度を測定する温度測定装置。
【選択図】図1
特許請求の範囲
【請求項1】
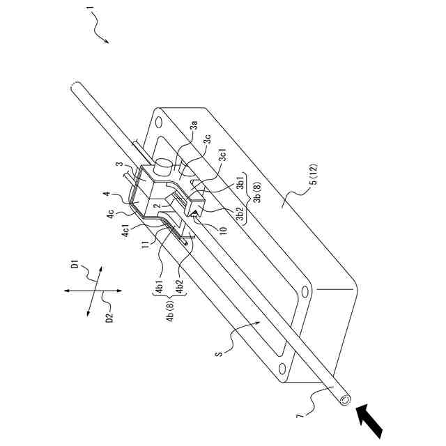
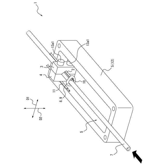
温度計、第1挟込部材、第2挟込部材、第1包囲体及び第2包囲体を有し、
前記第1挟込部材及び前記第2挟込部材は、流体を流す管と前記温度計とを挟み込み、
前記第1包囲体及び前記第2包囲体は、前記管を挟み込むことで、前記第1挟込部材及び前記第2挟込部材に面する断熱空間を前記管の周りに形成し、
前記第1包囲体及び前記第2包囲体に包囲される部分の前記管の表面の温度を前記温度計によって測定することで前記管内の前記流体の温度を測定する温度測定装置。
続きを表示(約 890 文字)
【請求項2】
前記管の前記表面に向けて前記温度計の測温部を押圧する押圧部を有する、請求項1に記載の温度測定装置。
【請求項3】
前記第1挟込部材は、第1主挟込部と前記第1主挟込部に一体に設けられる第1副挟込部とを有し、
前記第2挟込部材は、第2主挟込部と前記第2主挟込部に一体に設けられる第2副挟込部とを有し、
前記押圧部は、第1副挟込部及び第2副挟込部によって構成され、
前記第1副挟込部及び前記第2副挟込部は、前記第1主挟込部及び前記第2主挟込部によって前記管及び前記温度計を挟み込むことで、前記管と前記温度計の前記測温部とを挟み込む、請求項2に記載の温度測定装置。
【請求項4】
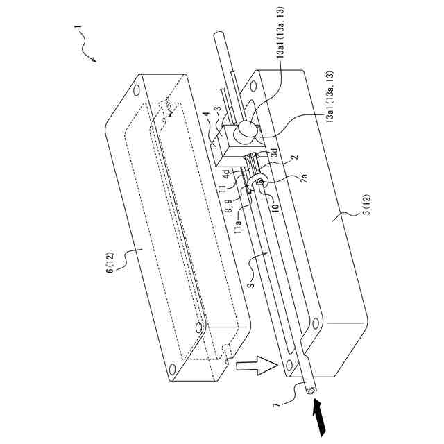
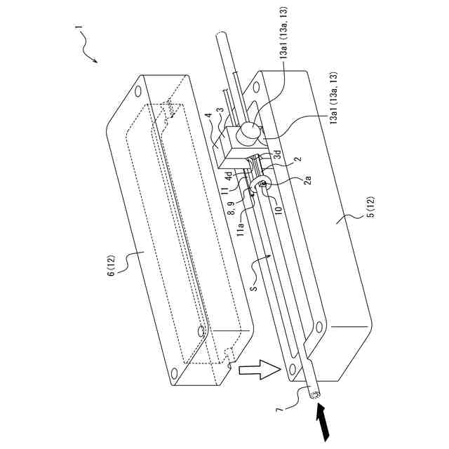
前記第1挟込部材及び前記第2挟込部材は、前記第1包囲体に前記第1挟込部材が一体に設けられた状態で前記管及び前記温度計を挟み込む、請求項1に記載の温度測定装置。
【請求項5】
前記第1挟込部材及び前記第2挟込部材は、前記第1包囲体に前記温度計が一体に設けられた状態で前記管及び前記温度計を挟み込む、請求項1に記載の温度測定装置。
【請求項6】
前記管の前記表面と前記温度計の測温部との隙間を埋める熱伝導体を有する、請求項1に記載の温度測定装置。
【請求項7】
前記第1挟込部材及び前記第2挟込部材は、前記第1包囲体に前記熱伝導体が一体に設けられた状態で前記管及び前記温度計を挟み込む、請求項6に記載の温度測定装置。
【請求項8】
前記管よりも外側の温度を測定する参照用温度計を有する、請求項1に記載の温度測定装置。
【請求項9】
前記参照用温度計は、前記第1包囲体及び前記第2包囲体からなる容器の外面よりも内側の温度を測定する、請求項8に記載の温度測定装置。
【請求項10】
前記参照用温度計は、前記第1包囲体、前記第2包囲体又は前記断熱空間の温度を測定する、請求項9に記載の温度測定装置。
(【請求項11】以降は省略されています)
発明の詳細な説明
【技術分野】
【0001】
本開示は温度測定装置に関する。
続きを表示(約 1,100 文字)
【背景技術】
【0002】
管の表面の温度を温度計によって測定することで管内の流体の温度を測定する温度測定装置が知られている(例えば特許文献1~3参照)。
【先行技術文献】
【特許文献】
【0003】
特許第4584388号公報
特許第4537776号公報
特許第6835856号公報
【発明の概要】
【発明が解決しようとする課題】
【0004】
本開示の目的は、測定精度が高く設置が容易な温度測定装置を提供することにある。
【課題を解決するための手段】
【0005】
本開示の一態様は以下のとおりである。
【0006】
[1]
温度計、第1挟込部材、第2挟込部材、第1包囲体及び第2包囲体を有し、
前記第1挟込部材及び前記第2挟込部材は、流体を流す管と前記温度計とを挟み込み、
前記第1包囲体及び前記第2包囲体は、前記管を挟み込むことで、前記第1挟込部材及び前記第2挟込部材に面する断熱空間を前記管の周りに形成し、
前記第1包囲体及び前記第2包囲体に包囲される部分の前記管の表面の温度を前記温度計によって測定することで前記管内の前記流体の温度を測定する温度測定装置。
【0007】
[2]
前記管の前記表面に向けて前記温度計の測温部を押圧する押圧部を有する、[1]に記載の温度測定装置。
【0008】
[3]
前記第1挟込部材は、第1主挟込部と前記第1主挟込部に一体に設けられる第1副挟込部とを有し、
前記第2挟込部材は、第2主挟込部と前記第2主挟込部に一体に設けられる第2副挟込部とを有し、
前記押圧部は、第1副挟込部及び第2副挟込部によって構成され、
前記第1副挟込部及び前記第2副挟込部は、前記第1主挟込部及び前記第2主挟込部によって前記管及び前記温度計を挟み込むことで、前記管と前記温度計の前記測温部とを挟み込む、[2]に記載の温度測定装置。
【0009】
[4]
前記第1挟込部材及び前記第2挟込部材は、前記第1包囲体に前記第1挟込部材が一体に設けられた状態で前記管及び前記温度計を挟み込む、[1]~[3]の何れか1項に記載の温度測定装置。
【0010】
[5]
前記第1挟込部材及び前記第2挟込部材は、前記第1包囲体に前記温度計が一体に設けられた状態で前記管及び前記温度計を挟み込む、[1]~[4]の何れか1項に記載の温度測定装置。
(【0011】以降は省略されています)
この特許をJ-PlatPat(特許庁公式サイト)で参照する
関連特許
横河電機株式会社
測定器
2日前
横河電機株式会社
藻類培養装置
12日前
横河電機株式会社
温度測定装置
2日前
横河電機株式会社
測定装置および測定方法
1か月前
横河電機株式会社
ベースマップの注釈付け
26日前
横河電機株式会社
研磨用治具および研磨方法
12日前
横河電機株式会社
装置、方法及びプログラム
2日前
横河電機株式会社
測定方法及び測定システム
2日前
横河電機株式会社
装置、方法およびプログラム
22日前
横河電機株式会社
装置、方法およびプログラム
12日前
横河電機株式会社
測定装置および推定システム
1か月前
横河電機株式会社
装置、方法およびプログラム
13日前
横河電機株式会社
装置、方法、およびプログラム
12日前
横河電機株式会社
情報処理装置及び情報処理方法
21日前
横河電機株式会社
菌体培養槽および菌体培養方法
今日
横河電機株式会社
水処理システム及び水処理方法
26日前
横河電機株式会社
蛍光読取装置および蛍光読取方法
今日
横河電機株式会社
表面散乱型濁度計及び濁度測定方法
今日
横河電機株式会社
メタン生成装置及びメタン生成方法
2日前
横河電機株式会社
測定装置、測定方法、及びプログラム
5日前
横河電機株式会社
制御装置、制御システム及び制御方法
26日前
横河電機株式会社
解析装置、訓練装置およびプログラム
今日
横河電機株式会社
診断システム、診断装置および診断方法
12日前
横河電機株式会社
評価装置、評価方法、および評価プログラム
12日前
横河電機株式会社
照射装置、照射方法、および照射プログラム
12日前
横河電機株式会社
情報処理装置、生成方法および生成プログラム
1か月前
横河電機株式会社
取付具、光学素子組立体、及び共焦点光スキャナ
2日前
横河電機株式会社
情報処理装置、可視化方法および可視化プログラム
5日前
横河電機株式会社
光ファイバ特性測定装置及び光ファイバ特性測定方法
5日前
横河電機株式会社
作業支援装置、作業支援システムおよび作業支援方法
14日前
横河電機株式会社
情報処理装置、情報処理方法及び情報処理プログラム
28日前
横河電機株式会社
光ファイバ特性測定装置及び光ファイバ特性測定方法
2日前
横河電機株式会社
情報提供装置、情報提供方法、および情報提供プログラム
12日前
横河電機株式会社
情報提供装置、情報提供方法、および情報提供プログラム
12日前
横河電機株式会社
情報提供装置、情報提供方法、および情報提供プログラム
1か月前
横河電機株式会社
核酸検出の対象となる試料の前処理用試薬及び前処理方法
2日前
続きを見る
他の特許を見る