TOP
|
特許
|
意匠
|
商標
特許ウォッチ
Twitter
他の特許を見る
10個以上の画像は省略されています。
公開番号
2025152751
公報種別
公開特許公報(A)
公開日
2025-10-10
出願番号
2024054806
出願日
2024-03-28
発明の名称
光スペクトル測定プログラム、光スペクトル測定方法、及び光スペクトラムアナライザ
出願人
横河電機株式会社
,
横河計測株式会社
,
国立大学法人横浜国立大学
,
地方独立行政法人神奈川県立産業技術総合研究所
代理人
個人
,
個人
,
個人
,
個人
主分類
G01J
3/02 20060101AFI20251002BHJP(測定;試験)
要約
【課題】複数の被測定光のそれぞれの測定条件の差を小さくできる光スペクトル測定プログラム、光スペクトル測定方法、及び光スペクトラムアナライザを提供する。
【解決手段】1回の掃引中に複数の被測定光の光スペクトルを測定する光スペクトル測定プログラムは、複数の被測定光から1つずつ選択された被測定光の強度の測定結果を取得することと、測定時に選択されていた被測定光と取得した測定結果とを対応づけることによって各被測定光の光スペクトルを生成することとをプロセッサに実行させる。
【選択図】図5
特許請求の範囲
【請求項1】
1回の掃引中に複数の被測定光の光スペクトルを測定するプログラムであって、
前記複数の被測定光から1つずつ選択された被測定光の強度の測定結果を取得することと、
測定時に選択されていた被測定光と取得した測定結果とを対応づけることによって前記各被測定光の光スペクトルを生成することと
をプロセッサに実行させる、光スペクトル測定プログラム。
続きを表示(約 1,200 文字)
【請求項2】
前記複数の被測定光の中から測定する被測定光を選択することを前記プロセッサに実行させる、請求項1に記載の光スペクトル測定プログラム。
【請求項3】
掃引中に第1波長の光強度を測定する第1期間において、前記複数の被測定光から1つずつ選択した少なくとも1つの被測定光の前記第1波長の光強度の測定結果を取得することを前記プロセッサに実行させる、請求項2に記載の光スペクトル測定プログラム。
【請求項4】
前記第1期間において、前記複数の被測定光の全ての被測定光の前記第1波長の光強度の測定結果を取得することを前記プロセッサに実行させる、請求項3に記載の光スペクトル測定プログラム。
【請求項5】
掃引中に第2波長の光強度を測定する第2期間において選択する被測定光の数が前記第1期間において選択する被測定光の数と異なるように、前記被測定光を選択することを前記プロセッサに実行させる、請求項3に記載の光スペクトル測定プログラム。
【請求項6】
掃引中に各波長の光強度を測定する各期間において選択する被測定光の数を、前記各被測定光の測定に要求される精度に基づいて決定することを前記プロセッサに実行させる、請求項3に記載の光スペクトル測定プログラム。
【請求項7】
前記複数の被測定光から1つの被測定光を選択して切り替えてから無効期間が経過した後の測定結果を取得することを前記プロセッサに実行させる、請求項1から6までのいずれか一項に記載の光スペクトル測定プログラム。
【請求項8】
測定波長の光強度の複数回の測定を実行した場合、前記複数回の測定のそれぞれで取得した複数の測定値に対する統計処理を実行して算出した値を、前記測定波長の光強度の測定結果として取得することを前記プロセッサに実行させる、請求項1から6までのいずれか一項に記載の光スペクトル測定プログラム。
【請求項9】
1回の掃引中に複数の被測定光の光スペクトルを生成する方法であって、
前記複数の被測定光から1つずつ選択された被測定光の強度の測定結果を取得することと、
測定時に選択されていた被測定光と取得した測定結果とを対応づけることによって前記各被測定光の光スペクトルを生成することと
を含む、光スペクトル測定方法。
【請求項10】
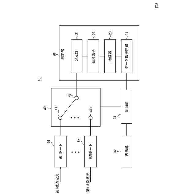
1回の掃引中に複数の被測定光の光スペクトルを生成する光スペクトラムアナライザであって、
前記複数の被測定光から1つずつ選択された被測定光の強度を測定する少なくとも1台の測定部と、
前記測定部による光強度の測定時に選択されていた被測定光と前記測定部による光強度の測定結果とを対応づけることによって前記各被測定光の光スペクトルを生成する制御部と
を備える、光スペクトラムアナライザ。
(【請求項11】以降は省略されています)
発明の詳細な説明
【技術分野】
【0001】
本開示は、光スペクトル測定プログラム、光スペクトル測定方法、及び光スペクトラムアナライザに関する。
続きを表示(約 1,600 文字)
【背景技術】
【0002】
特許文献1に記載されているように、回動可能なグレーティングを備える分光器が知られている。
【先行技術文献】
【特許文献】
【0003】
特許第5339027号
【発明の概要】
【発明が解決しようとする課題】
【0004】
光スペクトラムアナライザは、光スペクトルを測定する際、測定波長範囲の開始波長から終了波長までの各波長に対応する角度でグレーティングを回転させ、各波長の光強度である光スペクトルを測定する。光スペクトラムアナライザは、複数の被測定光の光スペクトルを測定することがある。光スペクトラムアナライザは、1つの被測定光について光スペクトルを測定した後、次の被測定光に切り替えて光スペクトルを測定する。この場合、複数の被測定光のそれぞれの測定に時間差が生じる。各被測定光の測定に時間差が生じることによって、各被測定光の測定条件が変動することがある。各被測定光の測定条件が変動することによって、各被測定光の測定結果を正しく比較できないことが有る。各被測定光の測定結果を正しく比較するために、各被測定光の測定条件の差を小さくすることが求められる。
【0005】
本開示は、上述の点に鑑みてなされたものであり、複数の被測定光のそれぞれの測定条件の差を小さくできる光スペクトル測定プログラム、光スペクトル測定方法、及び光スペクトラムアナライザを提供することを目的とする。
【課題を解決するための手段】
【0006】
幾つかの実施形態に係る(1)光スペクトル測定プログラムは、1回の掃引中に複数の被測定光の光スペクトルを測定するプログラムである。前記光スペクトル測定プログラムは、前記複数の被測定光から1つずつ選択された被測定光の強度の測定結果を取得することと、測定時に選択されていた被測定光と取得した測定結果とを対応づけることによって前記各被測定光の光スペクトルを生成することとをプロセッサに実行させる。このようにすることで、複数の被測定光の同じ測定波長の強度を測定する時間差が小さくなる。その結果、複数の被測定光のそれぞれの測定条件の差が小さくなる。
【0007】
(2)上記(1)に記載の光スペクトル測定プログラムは、前記複数の被測定光の中から測定する被測定光を選択することを前記プロセッサに実行させてよい。プロセッサが被測定光を選択することによって、入力される被測定光を特定する情報を取得しなくてもよい。
【0008】
(3)上記(2)に記載の光スペクトル測定プログラムは、掃引中に第1波長の光強度を測定する第1期間において、前記複数の被測定光から1つずつ選択した少なくとも1つの被測定光の前記第1波長の光強度の測定結果を取得することを前記プロセッサに実行させてよい。このようにすることで各被測定光の切り替え頻度の重みづけが実行される。その結果、被測定光の切り替え頻度が低減される。
【0009】
(4)上記(3)に記載の光スペクトル測定プログラムは、前記第1期間において、前記複数の被測定光の全ての被測定光の前記第1波長の光強度の測定結果を取得することを前記プロセッサに実行させてよい。このようにすることで全ての被測定光についての第1波長の光強度が比較可能になる。その結果、ユーザの利便性が向上する。
【0010】
(5)上記(3)又は(4)に記載の光スペクトル測定プログラムは、掃引中に第2波長の光強度を測定する第2期間において選択する被測定光の数が前記第1期間において選択する被測定光の数と異なるように、前記被測定光を選択することを前記プロセッサに実行させてよい。このようにすることで各被測定光の切り替え頻度の重みづけが実行される。その結果、被測定光の切り替え頻度が低減される。
(【0011】以降は省略されています)
特許ウォッチbot のツイートを見る
この特許をJ-PlatPat(特許庁公式サイト)で参照する
関連特許
横河電機株式会社
測定器
1か月前
横河電機株式会社
磁気コア
11日前
横河電機株式会社
コントローラ
25日前
横河電機株式会社
藻類培養装置
1か月前
横河電機株式会社
温度測定装置
1か月前
横河電機株式会社
情報プログラム
25日前
横河電機株式会社
測定装置及び測定方法
1か月前
横河電機株式会社
測定装置および測定方法
2か月前
横河電機株式会社
ベースマップの注釈付け
2か月前
横河電機株式会社
装置、方法及びプログラム
1か月前
横河電機株式会社
適応方法及び情報処理装置
18日前
横河電機株式会社
測定方法及び測定システム
1か月前
横河電機株式会社
研磨用治具および研磨方法
1か月前
横河電機株式会社
装置、方法およびプログラム
1か月前
横河電機株式会社
フィールド機器及び診断方法
1か月前
横河電機株式会社
装置、方法およびプログラム
1か月前
横河電機株式会社
装置、方法およびプログラム
1か月前
横河電機株式会社
光パルス試験器及び測定方法
1か月前
横河電機株式会社
測定装置および推定システム
2か月前
横河電機株式会社
装置、方法およびプログラム
26日前
横河電機株式会社
装置、方法、およびプログラム
1か月前
横河電機株式会社
水処理システム及び水処理方法
2か月前
横河電機株式会社
装置、方法、およびプログラム
26日前
横河電機株式会社
装置、方法、およびプログラム
1か月前
横河電機株式会社
情報処理装置及び情報処理方法
1か月前
横河電機株式会社
菌体培養槽および菌体培養方法
1か月前
横河電機株式会社
分散制御ノード(DCN)冗長性
1か月前
横河電機株式会社
制御プログラム及びコントローラ
25日前
横河電機株式会社
細胞穿刺装置及び顕微鏡システム
25日前
横河電機株式会社
蛍光読取装置および蛍光読取方法
1か月前
横河電機株式会社
細胞穿刺装置及び顕微鏡システム
25日前
横河電機株式会社
クランプ式電流計及び電流測定方法
5日前
横河電機株式会社
表面散乱型濁度計及び濁度測定方法
1か月前
横河電機株式会社
メタン生成装置及びメタン生成方法
1か月前
横河電機株式会社
制御装置、制御システム及び制御方法
2か月前
横河電機株式会社
測定装置、測定方法、及びプログラム
1か月前
続きを見る
他の特許を見る