TOP
|
特許
|
意匠
|
商標
特許ウォッチ
Twitter
他の特許を見る
公開番号
2025140468
公報種別
公開特許公報(A)
公開日
2025-09-29
出願番号
2024039895
出願日
2024-03-14
発明の名称
メタン生成装置及びメタン生成方法
出願人
横河電機株式会社
,
横河ソリューションサービス株式会社
代理人
個人
,
個人
,
個人
,
個人
主分類
C12M
1/00 20060101AFI20250919BHJP(生化学;ビール;酒精;ぶどう酒;酢;微生物学;酵素学;突然変異または遺伝子工学)
要約
【課題】本開示は、二酸化炭素が低濃度のガスを二酸化炭素供給源として用いても二酸化炭素からメタンへの変換効率が良好であり、かつ装置の簡素化及び設置面積の縮小化が可能なメタネーションシステムを提供することを目的とする。
【解決手段】水相に二酸化炭素含有ガスをさらして二酸化炭素含有溶液を生成する溶解槽と、培養液でメタン生成菌を培養してメタンを生成する培養槽と、前記溶解槽へ二酸化炭素含有ガスを導入する二酸化炭素ガス供給流路と、前記溶解槽で生成された前記二酸化炭素含有溶液を前記溶解槽から前記培養槽へ移送するための溶液移送手段と、前記溶解槽又は前記培養槽へ水素を供給する水素供給流路と、前記培養槽から生成メタンを排出するメタン排出流路と、を備える、メタン生成装置。
【選択図】図1
特許請求の範囲
【請求項1】
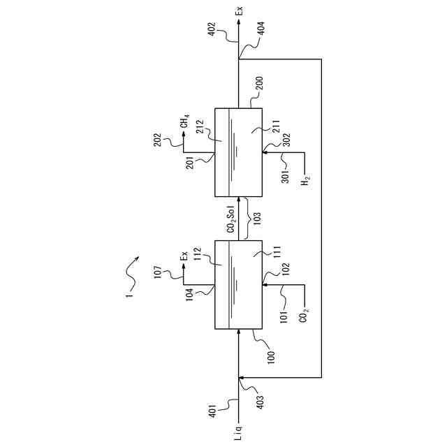
水相に二酸化炭素含有ガスをさらして二酸化炭素含有溶液を生成する溶解槽と、
培養液でメタン生成菌を培養してメタンを生成する培養槽と、
前記溶解槽へ二酸化炭素含有ガスを導入する二酸化炭素ガス供給流路と、
前記溶解槽で生成された前記二酸化炭素含有溶液を前記溶解槽から前記培養槽へ移送するための溶液移送手段と、
前記溶解槽又は前記培養槽へ水素を供給する水素供給流路と、
前記培養槽から生成メタンを排出するメタン排出流路と、
を備える、メタン生成装置。
続きを表示(約 1,200 文字)
【請求項2】
前記溶解槽と前記培養槽とは、別個の槽であり、
前記溶液移送手段が、前記溶解槽と前記培養槽とを接続する溶液移送流路である、
請求項1に記載のメタン生成装置。
【請求項3】
前記溶液移送流路が、前記溶解槽中の二酸化炭素含有溶液を、酸素除去処理を介さずに前記培養槽へ供給する流路である、請求項2に記載のメタン生成装置。
【請求項4】
前記メタン生成装置が、前記溶解槽と前記培養槽とを兼ねる単一槽を備え、
前記メタン生成装置が、前記単一槽が前記培養槽として機能する時に余剰気相を排出する気相排出流路をさらに備え、
前記水相が、培養液であり、
前記溶液移送手段が、溶解槽と培養槽とを切り替えるための切替え手段であり、
前記切替え手段が、前記二酸化炭素ガス供給流路、前記水素供給流路、前記気相排出流路、及び前記メタン排出流路を開閉するバルブと、前記バルブの開閉を制御する制御部とを備え、
前記制御部は、
(i)前記二酸化炭素ガス供給流路及び前記気相排出流路を開放し、かつ前記水素供給流路及び前記メタン排出流路を閉鎖することにより、前記単一槽が溶解槽として機能する溶解槽モードと;
(ii)前記二酸化炭素ガス供給流路及び前記気相排出流路を閉鎖し、かつ前記水素供給流路及び前記メタン排出流路を開放することにより、前記単一槽が培養槽として機能する培養槽モードと
の切替えを制御する、
請求項1に記載のメタン生成装置。
【請求項5】
前記気相排出流路から排出された余剰気相を前記二酸化炭素含有ガス導入部に合流させるための再利用流路をさらに備える、請求項4に記載のメタン生成装置。
【請求項6】
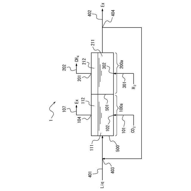
前記メタン生成装置が、通液可能な仕切りを槽内に有する単一槽を備え、
前記仕切りで仕切られた各槽内区画が、それぞれ、前記溶解槽と前記培養槽として機能し、
前記溶液移送手段が、前記仕切りである、
請求項1に記載のメタン生成装置。
【請求項7】
前記仕切りが、開閉可能な開口部を有する、請求項6に記載のメタン生成装置。
【請求項8】
前記仕切りが、液体が通過し微生物が通過しない膜である、請求項6に記載のメタン生成装置。
【請求項9】
前記溶解槽が、前記溶解槽中の余剰気相を排出するための気相排出流路をさらに備える、請求項1~3、6及び7のいずれか一項に記載のメタン生成装置。
【請求項10】
前記気相排出流路から排出された余剰気相を前記二酸化炭素含有ガス導入部に合流させるための再利用流路をさらに備える、請求項9に記載のメタン生成装置。
(【請求項11】以降は省略されています)
発明の詳細な説明
【技術分野】
【0001】
本開示は、メタン生成装置及びメタン生成方法に関する。
続きを表示(約 3,100 文字)
【背景技術】
【0002】
メタネーションとは、二酸化炭素と水素からメタンを生成する技術であり、二酸化炭素等の温室効果ガスの排出を全体としてゼロにするカーボンニュートラルの達成に貢献する技術として有望視されている。メタネーション技術として、例えば、特許文献1~3には、火力発電所や工場等からの排気ガス中の二酸化炭素からメタンを生成する技術が提案されている。
【0003】
これらのメタネーション技術では、メタネーションのメタン生成濃度を上げるため、原料ガスの二酸化炭素濃度を上げる必要がある。火力発電所や工場等からの排気ガスの二酸化炭素濃度は約10%程度と低濃度であるため、二酸化炭素分離回収装置等で90%以上程度の高濃度に二酸化炭素を濃縮する必要がある。
【先行技術文献】
【特許文献】
【0004】
特開2021-151196号公報
特開2004-321857号公報
特開2014-148934号公報
【発明の概要】
【発明が解決しようとする課題】
【0005】
二酸化炭素分離回収装置で二酸化炭素濃度を低濃度から高濃度にするには技術的難易度が高く、広大な装置面積や、多額の費用を要する等の課題が存在する。そこで、二酸化炭素の濃縮を要さず、二酸化炭素が低濃度のガスをそのまま二酸化炭素供給源として用いたメタネーションシステムに需要があると考えられる。
【0006】
本開示は、二酸化炭素が低濃度のガスを二酸化炭素供給源として用いても二酸化炭素からメタンへの変換効率が良好であり、かつ装置の簡素化及び設置面積の縮小化が可能なメタネーションシステムを提供することを目的とする。
【課題を解決するための手段】
【0007】
〔1〕
水相に二酸化炭素含有ガスをさらして二酸化炭素含有溶液を生成する溶解槽と、
培養液でメタン生成菌を培養してメタンを生成する培養槽と、
前記溶解槽へ二酸化炭素含有ガスを導入する二酸化炭素ガス供給流路と、
前記溶解槽で生成された前記二酸化炭素含有溶液を前記溶解槽から前記培養槽へ移送するための溶液移送手段と、
前記溶解槽又は前記培養槽へ水素を供給する水素供給流路と、
前記培養槽から生成メタンを排出するメタン排出流路と、
を備える、メタン生成装置。
〔2〕
前記溶解槽と前記培養槽とは、別個の槽であり、
前記溶液移送手段が、前記溶解槽と前記培養槽とを接続する溶液移送流路である、
上記〔1〕に記載のメタン生成装置。
〔3〕
前記溶液移送流路が、前記溶解槽中の二酸化炭素含有溶液を、酸素除去処理を介さずに前記培養槽へ供給する流路である、上記〔2〕に記載のメタン生成装置。
〔4〕
前記メタン生成装置が、前記溶解槽と前記培養槽とを兼ねる単一槽を備え、
前記メタン生成装置が、前記単一槽が前記培養槽として機能する時に余剰気相を排出する気相排出流路をさらに備え、
前記水相が、培養液であり、
前記溶液移送手段が、溶解槽と培養槽とを切り替えるための切替え手段であり、
前記切替え手段が、前記二酸化炭素ガス供給流路、前記水素供給流路、前記気相排出流路、及び前記メタン排出流路を開閉するバルブと、前記バルブの開閉を制御する制御部とを備え、
前記制御部は、
(i)前記二酸化炭素ガス供給流路及び前記気相排出流路を開放し、かつ前記水素供給流路及び前記メタン排出流路を閉鎖することにより、前記単一槽が溶解槽として機能する溶解槽モードと;
(ii)前記二酸化炭素ガス供給流路及び前記気相排出流路を閉鎖し、かつ前記水素供給流路及び前記メタン排出流路を開放することにより、前記単一槽が培養槽として機能する培養槽モードと
の切替えを制御する、
上記〔1〕に記載のメタン生成装置。
〔5〕
前記気相排出流路から排出された余剰気相を前記二酸化炭素含有ガス導入部に合流させるための再利用流路をさらに備える、上記〔4〕に記載のメタン生成装置。
〔6〕
前記メタン生成装置が、通液可能な仕切りを槽内に有する単一槽を備え、
前記仕切りで仕切られた各槽内区画が、それぞれ、前記溶解槽と前記培養槽として機能し、
前記溶液移送手段が、前記仕切りである、
上記〔1〕に記載のメタン生成装置。
〔7〕
前記仕切りが、開閉可能な開口部を有する、上記〔6〕に記載のメタン生成装置。
〔8〕
前記仕切りが、液体が通過し微生物が通過しない膜である、上記〔6〕に記載のメタン生成装置。
〔9〕
前記溶解槽が、前記溶解槽中の余剰気相を排出するための気相排出流路をさらに備える、上記〔1〕~〔3〕、〔6〕及び〔7〕のいずれかに記載のメタン生成装置。
〔10〕
前記気相排出流路から排出された余剰気相を前記二酸化炭素含有ガス導入部に合流させるための再利用流路をさらに備える、上記〔9〕に記載のメタン生成装置。
〔11〕
前記培養槽から培養液を排出するための培養液排出流路と、
培養液排出流路から排出された培養液から微生物若しくは余剰水分又はこれらの両方を除去するための微生物除去装置と、
微生物除去装置で微生物が除去された培養液を前記溶解槽に供給して再利用させるための再利用培養液供給流路と
をさらに備える、上記〔1〕~〔10〕のいずれかに記載のメタン生成装置。
〔12〕
二酸化炭素含有ガスが、燃焼排気ガスである、上記〔1〕~〔11〕のいずれかに記載のメタン生成装置。
〔13〕
前記培養槽における培養液の二酸化炭素濃度又は培養液の流出量と、前記溶解槽における液相の二酸化炭素濃度又は液相の流入量と、に基づいて、前記二酸化炭素含有溶液供給流路からの前記溶解槽中の二酸化炭素含有溶液の培養槽への供給量及び前記水素供給流路からの水素供給量を調整する調整部を備える上記〔2〕又は〔3〕に記載のメタン生成装置。
〔14〕
【発明の効果】
【0008】
本開示によれば、二酸化炭素が低濃度のガスを二酸化炭素供給源として用いても二酸化炭素からメタンへの変換効率が良好であり、かつ装置の簡素化及び設置面積の縮小化が可能なメタネーションシステムを提供することができる。
【図面の簡単な説明】
【0009】
第1の実施形態における本開示のメタン生成装置の構成を示す。
第2の実施形態における本開示のメタン生成装置の構成を示す。
第3の実施形態における本開示のメタン生成装置の構成を示す。
第4の実施形態における本開示のメタン生成装置の構成を示す。
第5の実施形態における本開示のメタン生成装置の構成を示す。
【発明を実施するための形態】
【0010】
以下、必要に応じて図面を参照しながら、本発明を詳細に説明するが、図面は本発明を説明するための例示であり、本発明の技術的範囲は図面による例示により限定されるものではない。
(【0011】以降は省略されています)
この特許をJ-PlatPat(特許庁公式サイト)で参照する
関連特許
横河電機株式会社
測定器
1日前
横河電機株式会社
藻類培養装置
11日前
横河電機株式会社
厚さ測定装置
1か月前
横河電機株式会社
温度測定装置
1日前
横河電機株式会社
装置および方法
2か月前
横河電機株式会社
装置および方法
2か月前
横河電機株式会社
測定装置および測定方法
1か月前
横河電機株式会社
ベースマップの注釈付け
25日前
横河電機株式会社
電子機器及び短絡検出方法
2か月前
横河電機株式会社
研磨用治具および研磨方法
11日前
横河電機株式会社
測定方法及び測定システム
1日前
横河電機株式会社
装置、方法及びプログラム
1日前
横河電機株式会社
装置、方法およびプログラム
2か月前
横河電機株式会社
測定装置および回転検出方法
1か月前
横河電機株式会社
測定装置および推定システム
1か月前
横河電機株式会社
装置、方法およびプログラム
21日前
横河電機株式会社
装置、方法およびプログラム
12日前
横河電機株式会社
波形測定器及び波形測定方法
2か月前
横河電機株式会社
装置、方法およびプログラム
11日前
横河電機株式会社
情報処理装置及び情報処理方法
20日前
横河電機株式会社
複合体、及び熱線吸収フィルム
2か月前
横河電機株式会社
複合体、及び熱線吸収フィルム
2か月前
横河電機株式会社
装置、方法、およびプログラム
11日前
横河電機株式会社
水処理システム及び水処理方法
25日前
横河電機株式会社
メタン生成装置及びメタン生成方法
1日前
横河電機株式会社
センサ装置、調整方法及び調整装置
1か月前
横河電機株式会社
システム、方法、およびプログラム
2か月前
横河電機株式会社
測定装置、測定方法、及びプログラム
4日前
横河電機株式会社
制御装置、制御システム及び制御方法
25日前
横河電機株式会社
診断システム、診断装置および診断方法
11日前
横河電機株式会社
設定装置、設定方法及び設定プログラム
2か月前
横河電機株式会社
監視方法、監視プログラム、及び監視装置
1か月前
横河電機株式会社
照射装置、照射方法、および照射プログラム
11日前
横河電機株式会社
評価装置、評価方法、および評価プログラム
11日前
横河電機株式会社
情報処理装置、生成方法および生成プログラム
1か月前
横河電機株式会社
取付具、光学素子組立体、及び共焦点光スキャナ
1日前
続きを見る
他の特許を見る