TOP
|
特許
|
意匠
|
商標
特許ウォッチ
Twitter
他の特許を見る
10個以上の画像は省略されています。
公開番号
2025136945
公報種別
公開特許公報(A)
公開日
2025-09-19
出願番号
2024035886
出願日
2024-03-08
発明の名称
装置、方法およびプログラム
出願人
横河電機株式会社
代理人
弁理士法人RYUKA国際特許事務所
主分類
C12M
1/34 20060101AFI20250911BHJP(生化学;ビール;酒精;ぶどう酒;酢;微生物学;酵素学;突然変異または遺伝子工学)
要約
【課題】細胞または微生物を撮像対象として含む試料中の検出対象の割合を推定するための装置、方法およびプログラムを提供する。
【解決手段】試料の画像を取得する取得部と、撮像対象を含む基準試料の画像と、基準試料中の撮像対象に対する検出対象としての細胞または微生物の割合との組に基づいて、取得部が取得した画像で示される試料中の撮像対象に対する検出対象の割合を推定する推定部と、推定される割合を出力する出力部と、基準試料の画像と、基準試料中の撮像対象に対する検出対象の割合との組に基づいて、画像内の撮像対象の形状またはテクスチャを示すパラメータによって設定可能な撮像対象の抽出条件のうち、当該組の割合に応じた撮像対象が当該組の画像内で抽出される抽出条件を決定する決定部と、を備え、推定部は、決定部により決定された抽出条件を用いて、入力される画像で示される試料についての前記割合を推定する、装置が提供される。
【選択図】図1
特許請求の範囲
【請求項1】
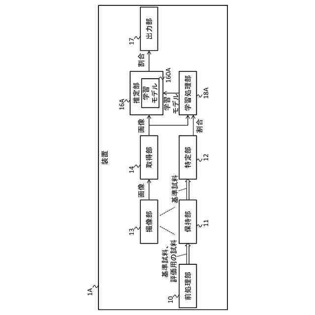
細胞または微生物を撮像対象として含む試料の画像を取得する取得部と、
撮像対象を含む基準試料の画像と、当該基準試料中の撮像対象に対する、検出対象としての細胞または微生物の割合との組に基づいて、前記取得部が取得した画像で示される試料中の撮像対象に対する前記検出対象の割合を推定する推定部と、
前記推定部で推定される割合を出力する出力部と、を備える装置。
続きを表示(約 1,100 文字)
【請求項2】
前記基準試料の画像と、当該基準試料についての前記割合との前記組に基づいて、画像内の撮像対象の形状またはテクスチャを示すパラメータによって設定可能な、撮像対象の抽出条件のうち、当該組の前記割合に応じた撮像対象が当該組の前記画像内で抽出される抽出条件を決定する決定部をさらに備え、
前記推定部は、前記決定部により決定された前記抽出条件を用いて、入力される画像で示される試料についての前記割合を推定する、請求項1に記載の装置。
【請求項3】
前記決定部は、撮像対象に対する前記検出対象の割合が互いに異なる複数の前記組に基づいて、当該複数の組のそれぞれにおいて当該割合に応じた撮像対象が前記画像内で抽出される抽出条件を決定する、請求項2に記載の装置。
【請求項4】
画像内の撮像対象の形状を示す前記パラメータは、撮像対象の面積、直径、周長、円形度、コンパクト度、長軸および短軸の比、骨格長、分岐数、または、枝数のうち、少なくとも1つを含み、
画像内の撮像対象のテクスチャを示すパラメータは、予め設定された少なくとも1つのテクスチャの個数を含む、請求項2に記載の装置。
【請求項5】
前記推定部は、前記基準試料の画像と、当該基準試料についての前記割合との前記組を含む学習データを用いた学習処理により生成された学習モデルであって、入力される画像で示される試料についての前記割合を出力する学習モデルを用いて推定を行う、請求項1に記載の装置。
【請求項6】
前記基準試料の画像と、当該基準試料について前記割合との前記組を含む学習データを用いて、入力される画像で示される試料についての前記割合を出力する学習モデルを生成する学習処理部をさらに備え、
前記推定部は、前記学習モデルを用いて推定を行う、請求項1に記載の装置。
【請求項7】
前記取得部は、前記検出対象が非破壊かつ非染色の状態で撮像された前記画像を取得する、請求項1に記載の装置。
【請求項8】
前記基準試料についての前記割合を、前記基準試料に含まれる細胞または微生物に対して破壊または染色の少なくとも一方を行って特定する特定部をさらに備える、請求項1に記載の装置。
【請求項9】
セルソータによる前処理を試料に行って前記基準試料を生成する前処理部をさらに備える、請求項1に記載の装置。
【請求項10】
試料を撮像する撮像部をさらに備える、請求項1に記載の装置。
(【請求項11】以降は省略されています)
発明の詳細な説明
【技術分野】
【0001】
本発明は、装置、方法およびプログラムに関する。
続きを表示(約 1,300 文字)
【背景技術】
【0002】
特許文献1などには「細胞核領域の内側の光路長及び外側の光路長を比較…した結果に基づき、細胞が幹細胞であるか否かを判定する」(引用文献1の請求項1)と記載されている。
[先行技術文献]
[特許文献]
[特許文献1] 特開2015-097498号公報
[特許文献2] 特開2012-231709号公報
【発明の概要】
【0003】
本発明の第1の態様においては、細胞または微生物を撮像対象として含む試料の画像を取得する取得部と、撮像対象を含む基準試料の画像と、当該基準試料中の撮像対象に対する、検出対象としての細胞または微生物の割合との組に基づいて、前記取得部が取得した画像で示される試料中の撮像対象に対する前記検出対象の割合を推定する推定部と、前記推定部で推定される割合を出力する出力部と、を備える装置が提供される。
【0004】
上記の装置は、前記基準試料の画像と、当該基準試料についての前記割合との前記組に基づいて、画像内の撮像対象の形状またはテクスチャを示すパラメータによって設定可能な、撮像対象の抽出条件のうち、当該組の前記割合に応じた撮像対象が当該組の前記画像内で抽出される抽出条件を決定する決定部をさらに備え、前記推定部は、前記決定部により決定された前記抽出条件を用いて、入力される画像で示される試料についての前記割合を推定してよい。
【0005】
上記の装置においては、前記決定部は、撮像対象に対する前記検出対象の割合が互いに異なる複数の前記組に基づいて、当該複数の組のそれぞれにおいて当該割合に応じた撮像対象が前記画像内で抽出される抽出条件を決定してよい。
【0006】
決定部を備える上記何れかの装置においては、前記パラメータは、撮像対象の面積、直径、周長、円形度、コンパクト度、長軸および短軸の比、骨格長、分岐数、または、枝数のうち、少なくとも1つを含んでよい。
【0007】
上記第1の態様の装置においては、前記推定部は、前記基準試料の画像と、当該基準試料についての前記割合との前記組を含む学習データを用いた学習処理により生成された学習モデルであって、入力される画像で示される試料についての前記割合を出力する学習モデルを用いて推定を行ってよい。
【0008】
上記第1の態様の装置は、前記基準試料の画像と、当該基準試料について前記割合との前記組を含む学習データを用いて、入力される画像で示される試料についての前記割合を出力する学習モデルを生成する学習処理部をさらに備え、前記推定部は、前記学習モデルを用いて推定を行ってよい。
【0009】
上記何れかの装置においては、前記取得部は、前記検出対象が非破壊かつ非染色の状態で撮像された前記画像を取得してよい。
【0010】
上記何れかの装置は、前記基準試料についての前記割合を、前記基準試料に含まれる細胞または微生物に対して破壊または染色の少なくとも一方を行って特定する特定部をさらに備えてよい。
(【0011】以降は省略されています)
この特許をJ-PlatPat(特許庁公式サイト)で参照する
関連特許
横河電機株式会社
磁気コア
1か月前
横河電機株式会社
コントローラ
1か月前
横河電機株式会社
情報プログラム
1か月前
横河電機株式会社
適応方法及び情報処理装置
1か月前
横河電機株式会社
装置、方法およびプログラム
3日前
横河電機株式会社
光パルス試験器及び測定方法
1か月前
横河電機株式会社
フィールド機器及び診断方法
1か月前
横河電機株式会社
装置、方法およびプログラム
1か月前
横河電機株式会社
装置、方法、およびプログラム
1か月前
横河電機株式会社
細胞穿刺装置及び顕微鏡システム
1か月前
横河電機株式会社
分散制御ノード(DCN)冗長性
1か月前
横河電機株式会社
制御プログラム及びコントローラ
1か月前
横河電機株式会社
細胞穿刺装置及び顕微鏡システム
1か月前
横河電機株式会社
クランプ式電流計及び電流測定方法
1か月前
横河電機株式会社
測定装置、測定方法、及びプログラム
1か月前
横河電機株式会社
メタン製造システム及びメタン製造方法
1か月前
横河電機株式会社
設備状態検出装置及び設備状態検出方法
1日前
横河電機株式会社
測定装置、測定方法、及び、プログラム
23日前
横河電機株式会社
更新されたエイリアス情報のフィルタ処理
11日前
横河電機株式会社
データ管理支援装置及びデータ管理支援方法
1か月前
横河電機株式会社
センタリングデバイスおよび流量計ユニット
22日前
横河電機株式会社
情報処理装置、情報処理方法及びプログラム
1か月前
横河電機株式会社
情報処理装置、更新方法及び更新プログラム
1か月前
横河電機株式会社
支援システム、支援方法および支援プログラム
1か月前
横河電機株式会社
センサ装置、端末装置、及び、センサシステム
1か月前
横河電機株式会社
情報処理装置、表示方法および表示プログラム
22日前
横河電機株式会社
回路モジュール、細胞穿刺装置、及び顕微鏡システム
1か月前
横河電機株式会社
情報生成装置、情報生成システムおよび情報生成方法
1か月前
横河電機株式会社
記録計、バックアップ方法及びバックアッププログラム
22日前
横河電機株式会社
固体電解質組成物、固体電解質膜、積層体、電池、固体電解質組成物の製造方法
1か月前
横河電機株式会社
液体サンプルバルブ、ガスクロマトグラフ装置、洗浄方法、および洗浄プログラム
25日前
横河電機株式会社
光スペクトル測定プログラム、光スペクトル測定方法、及び光スペクトラムアナライザ
1か月前
横河電機株式会社
設備を保守するための装置、方法、およびプログラム
1か月前
個人
抗遺伝子劣化装置
3か月前
個人
細胞内探査とその利用
3か月前
雪国アグリ株式会社
単糖類の製造方法
1か月前
続きを見る
他の特許を見る