TOP
|
特許
|
意匠
|
商標
特許ウォッチ
Twitter
他の特許を見る
公開番号
2025143991
公報種別
公開特許公報(A)
公開日
2025-10-02
出願番号
2024043539
出願日
2024-03-19
発明の名称
装置、方法、およびプログラム
出願人
横河電機株式会社
代理人
弁理士法人RYUKA国際特許事務所
主分類
G01N
21/27 20060101AFI20250925BHJP(測定;試験)
要約
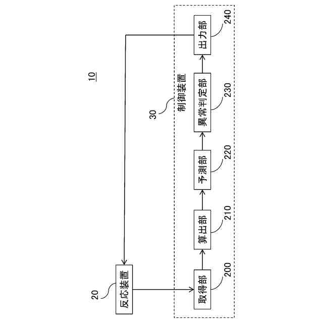
【解決手段】第1流路を流れる第1流体と、第2流路を流れる第2流体とを混合して反応させた第3流路を流れる第3流体の反応量を予測する装置であって、第1流体の第1流体スペクトル、第2流体の第2流体スペクトル、および第3流体の第3流体スペクトルを取得する取得部と、第3流体スペクトルと、第1流体スペクトルおよび第2流体スペクトルの合計スペクトルとの間の差分スペクトルを算出する算出部と、差分スペクトルを用いて、第3流体の反応量を予測する予測部とを備える装置を提供する。
【選択図】図1
特許請求の範囲
【請求項1】
第1流路を流れる第1流体と、第2流路を流れる第2流体とを混合して反応させた第3流路を流れる第3流体の反応量を予測する装置であって、
前記第1流体の第1流体スペクトル、前記第2流体の第2流体スペクトル、および前記第3流体の第3流体スペクトルを取得する取得部と、
前記第3流体スペクトルと、前記第1流体スペクトルおよび前記第2流体スペクトルの合計スペクトルとの間の差分スペクトルを算出する算出部と、
前記差分スペクトルを用いて、前記第3流体の反応量を予測する予測部と、
を備える
装置。
続きを表示(約 1,600 文字)
【請求項2】
前記算出部は、前記第3流体における前記第1流体と前記第2流体の混合比率に応じて重み付けされた前記第1流体スペクトルおよび前記第2流体スペクトルを合計することにより、前記合計スペクトルを算出する
請求項1に記載の装置。
【請求項3】
前記算出部は、前記第1流体の流速と前記第2流体の流速に基づく前記混合比率に応じて重み付けされた前記第1流体スペクトルおよび前記第2流体スペクトルを合計することにより、前記合計スペクトルを算出する
請求項2に記載の装置。
【請求項4】
前記算出部は、前記第1流体を前記第1流路に流すポンプの設定値と、前記第2流体を前記第2流路に流すポンプの設定値に基づく前記混合比率に応じて重み付けされた前記第1流体スペクトルおよび前記第2流体スペクトルを合計することにより、前記合計スペクトルを算出する
請求項2に記載の装置。
【請求項5】
前記算出部は、前記第1流体の溶媒量と前記第2流体の溶媒量に基づく前記混合比率に応じて重み付けされた前記第1流体スペクトルおよび前記第2流体スペクトルを合計することにより、前記合計スペクトルを算出する
請求項2に記載の装置。
【請求項6】
前記取得部は、前記第3流路の複数の位置における前記第3流体スペクトルを取得し、
前記算出部は、複数の前記第3流体スペクトルと、前記第1流体スペクトルおよび前記第2流体スペクトルの前記合計スペクトルとの間の前記差分スペクトルをそれぞれ算出し、
前記予測部は、複数の前記差分スペクトルを用いて、前記第3流体の反応量を予測する
請求項1に記載の装置。
【請求項7】
前記取得部は、前記第3流路の複数の位置における前記第3流体スペクトルを取得し、
前記算出部は、複数の前記第3流体スペクトルの平均スペクトルと、前記第1流体スペクトルおよび前記第2流体スペクトルの前記合計スペクトルとの間の前記差分スペクトルを算出する
請求項1に記載の装置。
【請求項8】
前記算出部は、前記第3流体スペクトルと、前記第3流体スペクトルよりも予め定められた期間前に測定された前記第1流体スペクトルおよび前記第2流体スペクトルの前記合計スペクトルとの間の前記差分スペクトルを算出する
請求項1に記載の装置。
【請求項9】
第1流路を流れる第1流体と、第2流路を流れる第2流体とを混合して反応させた第3流路を流れる第3流体の反応量を予測する方法であって、
前記第1流体の第1流体スペクトル、前記第2流体の第2流体スペクトル、および前記第3流体の第3流体スペクトルを取得する段階と、
前記第3流体スペクトルと、前記第1流体スペクトルおよび前記第2流体スペクトルの合計スペクトルとの間の差分スペクトルを算出する段階と、
前記差分スペクトルを用いて、前記第3流体の反応量を予測する段階と、
を備える
方法。
【請求項10】
第1流路を流れる第1流体と、第2流路を流れる第2流体とを混合して反応させた第3流路を流れる第3流体の反応量を予測するためのプログラムであって、
コンピュータにより実行され、前記コンピュータを、
前記第1流体の第1流体スペクトル、前記第2流体の第2流体スペクトル、および前記第3流体の第3流体スペクトルを取得する取得部と、
前記第3流体スペクトルと、前記第1流体スペクトルおよび前記第2流体スペクトルの合計スペクトルとの間の差分スペクトルを算出する算出部と、
前記差分スペクトルを用いて、前記第3流体の反応量を予測する予測部
として機能させるプログラム。
発明の詳細な説明
【技術分野】
【0001】
本発明は、装置、方法、およびプログラムに関する。
続きを表示(約 1,300 文字)
【背景技術】
【0002】
特許文献1および2には、「化学反応系において合成された目的物の光学異性に関する情報を、サンプルを抽出する必要なく、かつ非破壊的に分析できる光学分析システムおよび光学分析方法」が記載されている。
[先行技術文献]
[特許文献]
特許文献1 特許第7087696号
特許文献2 特許第7192473号
【発明の概要】
【0003】
本発明の第1の態様においては、第1流路を流れる第1流体と、第2流路を流れる第2流体とを混合して反応させた第3流路を流れる第3流体の反応量を予測する装置であって、第1流体の第1流体スペクトル、第2流体の第2流体スペクトル、および第3流体の第3流体スペクトルを取得する取得部と、第3流体スペクトルと、第1流体スペクトルおよび第2流体スペクトルの合計スペクトルとの間の差分スペクトルを算出する算出部と、差分スペクトルを用いて、第3流体の反応量を予測する予測部とを備える装置を提供する。
【0004】
上記の装置において、算出部は、第3流体における第1流体と第2流体の混合比率に応じて重み付けされた第1流体スペクトルおよび第2流体スペクトルを合計することにより、合計スペクトルを算出してよい。
【0005】
上記の装置において、算出部は、第1流体の流速と第2流体の流速に基づく混合比率に応じて重み付けされた第1流体スペクトルおよび第2流体スペクトルを合計することにより、合計スペクトルを算出してよい。
【0006】
算出部は、第1流体を第1流路に流すポンプの設定値と、第2流体を第2流路に流すポンプの設定値に基づく混合比率に応じて重み付けされた第1流体スペクトルおよび第2流体スペクトルを合計することにより、合計スペクトルを算出してよい。
【0007】
上記のいずれかの装置において、算出部は、第1流体の溶媒量と第2流体の溶媒量に基づく混合比率に応じて重み付けされた第1流体スペクトルおよび第2流体スペクトルを合計することにより、合計スペクトルを算出してよい。
【0008】
上記のいずれかの装置において、取得部は、第3流路の複数の位置における第3流体スペクトルを取得し、算出部は、複数の第3流体スペクトルと、第1流体スペクトルおよび第2流体スペクトルの合計スペクトルとの間の差分スペクトルをそれぞれ算出し、予測部は、複数の差分スペクトルを用いて、第3流体の反応量を予測してよい。
【0009】
上記のいずれかの装置において、取得部は、第3流路の複数の位置における第3流体スペクトルを取得し、算出部は、複数の第3流体スペクトルの平均スペクトルと、第1流体スペクトルおよび第2流体スペクトルの合計スペクトルとの間の差分スペクトルを算出してよい。
【0010】
上記のいずれかの装置において、算出部は、第3流体スペクトルと、第3流体スペクトルよりも予め定められた期間前に測定された第1流体スペクトルおよび第2流体スペクトルの合計スペクトルとの間の差分スペクトルを算出してよい。
(【0011】以降は省略されています)
この特許をJ-PlatPat(特許庁公式サイト)で参照する
関連特許
横河電機株式会社
磁気コア
1か月前
横河電機株式会社
コントローラ
1か月前
横河電機株式会社
情報プログラム
1か月前
横河電機株式会社
適応方法及び情報処理装置
1か月前
横河電機株式会社
装置、方法およびプログラム
1か月前
横河電機株式会社
装置、方法およびプログラム
3日前
横河電機株式会社
装置、方法、およびプログラム
1か月前
横河電機株式会社
分散制御ノード(DCN)冗長性
1か月前
横河電機株式会社
制御プログラム及びコントローラ
1か月前
横河電機株式会社
細胞穿刺装置及び顕微鏡システム
1か月前
横河電機株式会社
細胞穿刺装置及び顕微鏡システム
1か月前
横河電機株式会社
クランプ式電流計及び電流測定方法
1か月前
横河電機株式会社
測定装置、測定方法、及びプログラム
1か月前
横河電機株式会社
設備状態検出装置及び設備状態検出方法
1日前
横河電機株式会社
測定装置、測定方法、及び、プログラム
23日前
横河電機株式会社
メタン製造システム及びメタン製造方法
1か月前
横河電機株式会社
更新されたエイリアス情報のフィルタ処理
11日前
横河電機株式会社
センタリングデバイスおよび流量計ユニット
22日前
横河電機株式会社
データ管理支援装置及びデータ管理支援方法
1か月前
横河電機株式会社
情報処理装置、表示方法および表示プログラム
22日前
横河電機株式会社
支援システム、支援方法および支援プログラム
1か月前
横河電機株式会社
センサ装置、端末装置、及び、センサシステム
1か月前
横河電機株式会社
回路モジュール、細胞穿刺装置、及び顕微鏡システム
1か月前
横河電機株式会社
情報生成装置、情報生成システムおよび情報生成方法
1か月前
横河電機株式会社
記録計、バックアップ方法及びバックアッププログラム
22日前
横河電機株式会社
固体電解質組成物、固体電解質膜、積層体、電池、固体電解質組成物の製造方法
1か月前
横河電機株式会社
液体サンプルバルブ、ガスクロマトグラフ装置、洗浄方法、および洗浄プログラム
25日前
横河電機株式会社
光スペクトル測定プログラム、光スペクトル測定方法、及び光スペクトラムアナライザ
1か月前
横河電機株式会社
設備を保守するための装置、方法、およびプログラム
1か月前
個人
採尿及び採便具
1か月前
日本精機株式会社
検出装置
24日前
個人
アクセサリー型テスター
1か月前
個人
高精度同時多点測定装置
1か月前
個人
計量機能付き容器
19日前
日本精機株式会社
発光表示装置
2日前
株式会社カクマル
境界杭
9日前
続きを見る
他の特許を見る