TOP
|
特許
|
意匠
|
商標
特許ウォッチ
Twitter
他の特許を見る
公開番号
2025172595
公報種別
公開特許公報(A)
公開日
2025-11-26
出願番号
2024078191
出願日
2024-05-13
発明の名称
装置、方法およびプログラム
出願人
横河電機株式会社
代理人
弁理士法人RYUKA国際特許事務所
主分類
G05B
23/02 20060101AFI20251118BHJP(制御;調整)
要約
【課題】本発明は、装置、方法およびプログラムに関する。
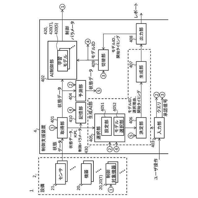
【解決手段】設備に関する状態データを取得する取得部と、前記設備に関する状態データが供給されることに応じて、前記設備における制御対象に適用されるべき制御パラメータを出力する複数の学習モデルのうち、前記設備に関するKPIを基準条件に適合させるために前記制御対象の制御に使用することが推奨される推奨学習モデルを、前記取得部により取得された前記状態データに基づいて選択する選択部と、前記推奨学習モデルの識別情報を出力する出力部と、を備える装置が提供される。
【選択図】図1
特許請求の範囲
【請求項1】
設備に関する状態データを取得する取得部と、
前記設備に関する状態データが供給されることに応じて、前記設備における制御対象に適用されるべき制御パラメータを出力する複数の学習モデルのうち、前記設備に関するKPIを基準条件に適合させるために前記制御対象の制御に使用することが推奨される推奨学習モデルを、前記取得部により取得された前記状態データに基づいて選択する選択部と、
前記推奨学習モデルの識別情報を出力する出力部と、
を備える装置。
続きを表示(約 1,800 文字)
【請求項2】
前記選択部は、前記取得部により取得された前記状態データの履歴に基づいて前記推奨学習モデルを選択する、請求項1に記載の装置。
【請求項3】
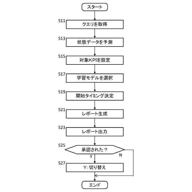
前記取得部により取得された前記状態データの履歴に基づいて、将来の複数の時点それぞれの状態データを予測する予測部と、
予測された各時点の状態データに基づいて、前記推奨学習モデルの使用を開始するべき開始タイミングを決定する決定部と、
前記推奨学習モデルの識別情報と、前記開始タイミングとを含むレポートを生成する生成部と、
をさらに備え、
前記出力部は、前記レポートを出力する、請求項2に記載の装置。
【請求項4】
前記予測部は、前記開始タイミングで前記推奨学習モデルの使用が開始される場合での、当該開始タイミングよりも後の複数の時点それぞれの状態データをさらに予測し、
前記選択部は、前記複数の学習モデルのうち、前記推奨学習モデルとは異なり、かつ、前記開始タイミングよりも後の時点について予測された状態データで示される状態において前記KPIを前記基準条件に適合させるために前記制御対象の制御に使用することが推奨される他の推奨学習モデルをさらに選択し、
前記決定部は、前記開始タイミングよりも後の各時点について予測される状態データに基づいて、前記他の推奨学習モデルの使用を開始するべき他の開始タイミングをさらに決定し、
前記生成部は、前記他の推奨学習モデルの識別情報と、前記他の開始タイミングとをさらに含むレポートを生成する、請求項3に記載の装置。
【請求項5】
前記選択部は、過去の前記状態データの履歴、前記KPIの履歴、および、前記制御対象の制御に使用された学習モデルの履歴にさらに基づいて、前記推奨学習モデルを選択する、請求項2に記載の装置。
【請求項6】
前記選択部は、過去の各時点での状態データと、前記KPIと、前記制御対象の制御に使用された学習モデルの識別情報とを含む学習データを用いて学習処理が行われ、前記取得部により取得された前記状態データの履歴と、前記制御対象の制御に使用されている学習モデルの識別情報とが供給されることに応じて前記推奨学習モデルの識別情報を出力するモデルを有する、請求項5に記載の装置。
【請求項7】
前記取得部は、前記制御対象に対して適用された制御パラメータをさらに取得し、
前記モデルは、過去の各時点での制御パラメータをさらに含む学習データを用いて学習処理が行われ、前記取得部により取得された前記状態データの履歴および前記制御パラメータの履歴と、前記制御対象の制御に使用されている学習モデルの識別情報とが供給されることに応じて前記推奨学習モデルの識別情報を出力する、請求項6に記載の装置。
【請求項8】
前記制御対象の制御に使用された学習モデルが切り替えられる毎の、使用を開始された学習モデルの識別情報と、切り替え以前の前記状態データの履歴と、切り替え後の前記KPIの値とを対応付けた履歴データを記憶する記憶部をさらに備え、
前記選択部は、
前記取得部により取得された前記状態データの履歴と、前記履歴データに含まれる前記状態データの各履歴との類似度に基づいて、前記履歴データに含まれる前記状態データの一の履歴を選択し、
前記履歴データにおいて前記状態データの一の履歴に対応付けられた前記KPIの値が前記基準条件を満たすことを条件として、当該状態データの一の履歴に対応付けられた学習モデルを前記推奨学習モデルとして選択する、請求項5に記載の装置。
【請求項9】
前記推奨学習モデルの識別情報と、前記選択部が当該推奨学習モデルを選択した理由とを含むレポートを生成する生成部をさらに備え、
前記出力部は、前記レポートを出力する、請求項1に記載の装置。
【請求項10】
前記選択部は、複数の前記推奨学習モデルを選択し、
前記生成部は、各推奨学習モデルについて、当該推奨学習モデルの識別情報と、当該推奨学習モデルを選択した理由とを含む前記レポートを生成する、請求項9に記載の装置。
(【請求項11】以降は省略されています)
発明の詳細な説明
【技術分野】
【0001】
本発明は、装置、方法およびプログラムに関する。
続きを表示(約 2,200 文字)
【背景技術】
【0002】
特許文献1などには「…強化学習により生成され、前記設備における状態に応じた行動を出力可能な複数の候補モデルを記憶する候補モデル記憶部と、…前記複数の指標に基づいて、前記複数の候補モデルの中から前記制御対象を制御するための対象モデルを選択するモデル選択部と…を備える」(特許文献1の請求項1)と記載されている。
[先行技術文献]
[特許文献]
[特許文献1] 特開2023-173459号公報
[特許文献2] 特開2021-174259号公報
[特許文献3] 特開2014-2579号公報
[特許文献4] 特開2022-117730号公報
[特許文献5] 特開2021-72049号公報
【発明の概要】
【0003】
本発明の第1の態様においては、設備に関する状態データを取得する取得部と、前記設備に関する状態データが供給されることに応じて、前記設備における制御対象に適用されるべき制御パラメータを出力する複数の学習モデルのうち、前記設備に関するKPIを基準条件に適合させるために前記制御対象の制御に使用することが推奨される推奨学習モデルを、前記取得部により取得された前記状態データに基づいて選択する選択部と、前記推奨学習モデルの識別情報を出力する出力部と、を備える装置が提供される。
【0004】
上記の装置においては、前記選択部は、前記取得部により取得された前記状態データの履歴に基づいて前記推奨学習モデルを選択してよい。
【0005】
前記状態データの履歴に基づいて前記推奨学習モデルが選択される上記の装置は、前記取得部により取得された前記状態データの履歴に基づいて、将来の複数の時点それぞれの状態データを予測する予測部と、予測された各時点の状態データに基づいて、前記推奨学習モデルの使用を開始するべき開始タイミングを決定する決定部と、前記推奨学習モデルの識別情報と、前記開始タイミングとを含むレポートを生成する生成部と、をさらに備え、前記出力部は、前記レポートを出力してよい。
【0006】
上記の装置においては、前記予測部は、前記開始タイミングで前記推奨学習モデルの使用が開始される場合での、当該開始タイミングよりも後の複数の時点それぞれの状態データをさらに予測し、前記選択部は、前記複数の学習モデルのうち、前記推奨学習モデルとは異なり、かつ、前記開始タイミングよりも後の時点について予測された状態データで示される状態において前記KPIを前記基準条件に適合させるために前記制御対象の制御に使用することが推奨される他の推奨学習モデルをさらに選択し、前記決定部は、前記開始タイミングよりも後の各時点について予測される状態データに基づいて、前記他の推奨学習モデルの使用を開始するべき他の開始タイミングをさらに決定し、前記生成部は、前記他の推奨学習モデルの識別情報と、前記他の開始タイミングとをさらに含むレポートを生成してよい。
【0007】
前記状態データの履歴に基づいて前記推奨学習モデルが選択される上記何れかの装置においては、前記選択部は、過去の前記状態データの履歴、前記KPIの履歴、および、前記制御対象の制御に使用された学習モデルの履歴にさらに基づいて、前記推奨学習モデルを選択してよい。
【0008】
上記の装置においては、前記選択部は、過去の各時点での状態データと、前記KPIと、前記制御対象の制御に使用された学習モデルの識別情報とを含む学習データを用いて学習処理が行われ、前記取得部により取得された前記状態データの履歴と、前記制御対象の制御に使用されている学習モデルの識別情報とが供給されることに応じて前記推奨学習モデルの識別情報を出力するモデルを有してよい。
【0009】
上記の装置においては、前記取得部は、前記制御対象に対して適用された制御パラメータをさらに取得し、前記モデルは、過去の各時点での制御パラメータをさらに含む学習データを用いて学習処理が行われ、前記取得部により取得された前記状態データの履歴および前記制御パラメータの履歴と、前記制御対象の制御に使用されている学習モデルの識別情報とが供給されることに応じて前記推奨学習モデルの識別情報を出力してよい。
【0010】
前記選択部が過去の前記状態データの履歴、前記KPIの履歴、および、前記制御対象の制御に使用された学習モデルの履歴にさらに基づいて前記推奨学習モデルを選択する上記の装置は、前記制御対象の制御に使用された学習モデルが切り替えられる毎の、使用を開始された学習モデルの識別情報と、切り替え以前の前記状態データの履歴と、切り替え後の前記KPIの値とを対応付けた履歴データを記憶する記憶部をさらに備え、前記選択部は、前記取得部により取得された前記状態データの履歴と、前記履歴データに含まれる前記状態データの各履歴との類似度に基づいて、前記履歴データに含まれる前記状態データの一の履歴を選択し、前記履歴データにおいて前記状態データの一の履歴に対応付けられた前記KPIの値が前記基準条件を満たすことを条件として、当該状態データの一の履歴に対応付けられた学習モデルを前記推奨学習モデルとして選択してよい。
(【0011】以降は省略されています)
この特許をJ-PlatPat(特許庁公式サイト)で参照する
関連特許
横河電機株式会社
磁気コア
1か月前
横河電機株式会社
コントローラ
1か月前
横河電機株式会社
情報プログラム
1か月前
横河電機株式会社
測定装置及び測定方法
1か月前
横河電機株式会社
装置、方法及びプログラム
2か月前
横河電機株式会社
適応方法及び情報処理装置
1か月前
横河電機株式会社
フィールド機器及び診断方法
1か月前
横河電機株式会社
装置、方法およびプログラム
3日前
横河電機株式会社
光パルス試験器及び測定方法
1か月前
横河電機株式会社
装置、方法およびプログラム
1か月前
横河電機株式会社
装置、方法、およびプログラム
1か月前
横河電機株式会社
菌体培養槽および菌体培養方法
1か月前
横河電機株式会社
装置、方法、およびプログラム
1か月前
横河電機株式会社
細胞穿刺装置及び顕微鏡システム
1か月前
横河電機株式会社
細胞穿刺装置及び顕微鏡システム
1か月前
横河電機株式会社
分散制御ノード(DCN)冗長性
1か月前
横河電機株式会社
蛍光読取装置および蛍光読取方法
1か月前
横河電機株式会社
制御プログラム及びコントローラ
1か月前
横河電機株式会社
クランプ式電流計及び電流測定方法
1か月前
横河電機株式会社
表面散乱型濁度計及び濁度測定方法
1か月前
横河電機株式会社
測定装置、測定方法、及びプログラム
1か月前
横河電機株式会社
測定装置、測定方法、及びプログラム
1か月前
横河電機株式会社
解析装置、訓練装置およびプログラム
1か月前
横河電機株式会社
測定装置、測定方法、及びプログラム
1か月前
横河電機株式会社
設備状態検出装置及び設備状態検出方法
1日前
横河電機株式会社
メタン製造システム及びメタン製造方法
1か月前
横河電機株式会社
測定装置、測定方法、及び、プログラム
23日前
横河電機株式会社
更新されたエイリアス情報のフィルタ処理
11日前
横河電機株式会社
データ管理支援装置及びデータ管理支援方法
1か月前
横河電機株式会社
情報処理装置、情報処理方法及びプログラム
1か月前
横河電機株式会社
情報処理装置、更新方法及び更新プログラム
1か月前
横河電機株式会社
センタリングデバイスおよび流量計ユニット
22日前
横河電機株式会社
一液型組成物、フラン樹脂硬化物及びキット
1か月前
横河電機株式会社
センサ装置、端末装置、及び、センサシステム
1か月前
横河電機株式会社
情報処理装置、表示方法および表示プログラム
22日前
横河電機株式会社
支援システム、支援方法および支援プログラム
1か月前
続きを見る
他の特許を見る