TOP
|
特許
|
意匠
|
商標
特許ウォッチ
Twitter
他の特許を見る
公開番号
2025135717
公報種別
公開特許公報(A)
公開日
2025-09-19
出願番号
2024033633
出願日
2024-03-06
発明の名称
装置、方法、およびプログラム
出願人
横河電機株式会社
代理人
弁理士法人RYUKA国際特許事務所
主分類
G01N
7/00 20060101AFI20250911BHJP(測定;試験)
要約
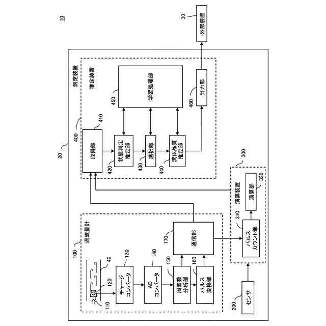
【課題】流体に関する液体量または乾き度の少なくともいずれかを推定する。
【解決手段】流体について渦流量計で検出した検出信号に関する少なくとも1つの周波数帯の強度データを含む状態データを取得する取得部と、取得した状態データに基づいて流体の状態を推定する状態判定推定部と、推定した流体の状態に応じて、強度データから、流体に関する液体量または乾き度の少なくともいずれかを推定する流体品質推定部と、推定した液体量または乾き度の少なくともいずれかを出力する出力部とを備える推定装置を提供する。
【選択図】図1
特許請求の範囲
【請求項1】
流体について渦流量計で検出した検出信号に関する少なくとも1つの周波数帯の強度データを含む状態データを取得する取得部と、
前記取得した状態データに基づいて前記流体の状態を推定する状態判定推定部と、
前記推定した流体の状態に応じて、前記強度データから、前記流体に関する液体量または乾き度の少なくともいずれかを推定する流体品質推定部と、
前記推定した液体量または乾き度の少なくともいずれかを出力する出力部とを備える
推定装置。
続きを表示(約 1,300 文字)
【請求項2】
前記取得部は、前記渦流量計から、前記少なくとも1つの周波数帯の強度データを示すデジタル信号を取得する
請求項1に記載の推定装置。
【請求項3】
前記取得部は、前記流体について測定された流速、温度、圧力、粘度、濃度、または密度の少なくとも1つを含む前記状態データを取得し、
前記流体品質推定部は、前記推定した流体の状態に応じて、取得した前記強度データと前記流体について測定された流速、温度、圧力、粘度、濃度、または密度の少なくとも1つとを含む前記状態データとから、前記流体に関する液体量または乾き度の少なくともいずれかを推定する
請求項1に記載の推定装置。
【請求項4】
前記渦流量計は、前記少なくとも1つの周波数帯の強度データに基づいて生成される前記検出信号の渦周波数を示すパルス信号を演算装置に出力し、
前記取得部は、前記演算装置により前記パルス信号に基づいて算出された前記流体の圧力、流速、体積流量、密度、または質量流量の少なくとも1つを含む前記状態データを取得する
請求項3に記載の推定装置。
【請求項5】
前記取得部は、前記渦流量計で検出した前記流体の検出信号に関する複数の周波数帯の強度データを含む前記状態データを取得し、
前記流体品質推定部は、前記複数の周波数帯の強度データから、前記流体に関する液体量または乾き度の少なくともいずれかを推定する
請求項1に記載の推定装置。
【請求項6】
前記流体品質推定部は、前記複数の周波数帯の強度データのうちの最大値、または前記複数の周波数帯の強度データを組み合わせた値から、前記流体に関する液体量または乾き度の少なくともいずれかを推定する
請求項5に記載の推定装置。
【請求項7】
前記取得部は、正規化された前記強度データを取得し、
前記流体品質推定部は、正規化された前記強度データから、前記流体に関する液体量または乾き度の少なくともいずれかを推定する
請求項1に記載の推定装置。
【請求項8】
前記推定した流体の状態に対応する演算を、複数の演算から選択する選択部を更に備え、
前記流体品質推定部は、前記選択した演算により、前記取得した強度データから、前記流体に関する液体量または乾き度の少なくともいずれかを推定する
請求項1に記載の推定装置。
【請求項9】
前記状態判定推定部は、前記取得した状態データに基づいて、前記流体の状態が、層状流、層状波状流、または環状噴霧流のいずれであるかを推定する
請求項1に記載の推定装置。
【請求項10】
前記状態判定推定部は、
前記取得した状態データに基づいて、前記流体の状態が湿り蒸気であるか否かを判定し、
前記流体の状態が湿り蒸気であると判定した場合に、前記取得した状態データに基づいて、前記流体の状態が、層状流、層状波状流、または環状噴霧流のいずれであるかを推定する
請求項9に記載の推定装置。
(【請求項11】以降は省略されています)
発明の詳細な説明
【技術分野】
【0001】
本発明は、装置、方法、およびプログラムに関する。
続きを表示(約 1,700 文字)
【背景技術】
【0002】
特許文献1には、「管内を流通する湿り蒸気の流量を渦流量計または超音波流量計の一方およびオリフィス流量計により計測し、流量計測値を用いて管内の湿り度を取得する湿り度の計測方法」が記載されている。特許文献2には、「渦流測定装置は、使用中に通常、流れる2相以上の媒体の第一相の流速を、渦流センサ200によって記録されたカルマン渦周波数を用いて測定することが可能であると同時に、分散された粒子流および/または液滴流の形態での少なくとも第二相の発生を迅速に(すなわちオンラインで)検出することも可能である」と記載されている。特許文献3には、「渦流測定装置使用中は、測定信号ならびに渦周波数から決定される標準偏差または尖度に基づいて、また、相関関係を参照しつつ、第二相の壁流の質量流量が簡易な方法にて定量的に測定される」と記載されている。
[先行技術文献]
[特許文献]
特許文献1 特開2013-185915号公報
特許文献2 特許第5443514号
特許文献3 特許第5355724号
【発明の概要】
【0003】
本発明の第1の態様においては、流体について渦流量計で検出した検出信号に関する少なくとも1つの周波数帯の強度データを含む状態データを取得する取得部と、取得した状態データに基づいて流体の状態を推定する状態判定推定部と、推定した流体の状態に応じて、強度データから、流体に関する液体量または乾き度の少なくともいずれかを推定する流体品質推定部と、推定した液体量または乾き度の少なくともいずれかを出力する出力部とを備える推定装置を提供する。
【0004】
上記の推定装置において、取得部は、渦流量計から、少なくとも1つの周波数帯の強度データを示すデジタル信号を取得してよい。
【0005】
上記のいずれかの推定装置において、取得部は、流体について測定された流速、温度、圧力、粘度、濃度、または密度の少なくとも1つを含む状態データを取得し、流体品質推定部は、推定した流体の状態に応じて、取得した強度データと流体について測定された流速、温度、圧力、粘度、濃度、または密度の少なくとも1つとを含む状態データとから、流体に関する液体量または乾き度の少なくともいずれかを推定してよい。
【0006】
上記の推定装置において、渦流量計は、少なくとも1つの周波数帯の強度データに基づいて生成される検出信号の渦周波数を示すパルス信号を演算装置に出力し、取得部は、演算装置によりパルス信号に基づいて算出された流体の圧力、流速、体積流量、密度、または質量流量の少なくとも1つを含む状態データを取得してよい。
【0007】
上記のいずれかの推定装置において、取得部は、渦流量計で検出した流体の検出信号に関する複数の周波数帯の強度データを含む状態データを取得し、流体品質推定部は、複数の周波数帯の強度データから、流体に関する液体量または乾き度の少なくともいずれかを推定してよい。
【0008】
上記の推定装置において、流体品質推定部は、複数の周波数帯の強度データのうちの最大値、または複数の周波数帯の強度データを組み合わせた値から、流体に関する液体量または乾き度の少なくともいずれかを推定してよい。
【0009】
上記のいずれかの推定装置において、取得部は、正規化された強度データを取得し、流体品質推定部は、正規化された強度データから、流体に関する液体量または乾き度の少なくともいずれかを推定してよい。
【0010】
上記のいずれかの推定装置において、推定した流体の状態に対応する演算を、複数の演算から選択する選択部を更に備え、流体品質推定部は、選択した演算により、取得した強度データから、流体に関する液体量または乾き度の少なくともいずれかを推定してよい。
(【0011】以降は省略されています)
特許ウォッチbot のツイートを見る
この特許をJ-PlatPat(特許庁公式サイト)で参照する
関連特許
横河電機株式会社
磁気コア
27日前
横河電機株式会社
適応方法及び情報処理装置
1か月前
横河電機株式会社
細胞穿刺装置及び顕微鏡システム
1か月前
横河電機株式会社
クランプ式電流計及び電流測定方法
21日前
横河電機株式会社
測定装置、測定方法、及び、プログラム
14日前
横河電機株式会社
更新されたエイリアス情報のフィルタ処理
2日前
横河電機株式会社
センタリングデバイスおよび流量計ユニット
13日前
横河電機株式会社
情報処理装置、表示方法および表示プログラム
13日前
横河電機株式会社
情報生成装置、情報生成システムおよび情報生成方法
21日前
横河電機株式会社
記録計、バックアップ方法及びバックアッププログラム
13日前
横河電機株式会社
固体電解質組成物、固体電解質膜、積層体、電池、固体電解質組成物の製造方法
27日前
横河電機株式会社
液体サンプルバルブ、ガスクロマトグラフ装置、洗浄方法、および洗浄プログラム
16日前
横河電機株式会社
設備を保守するための装置、方法、およびプログラム
23日前
日本精機株式会社
検出装置
15日前
個人
採尿及び採便具
21日前
個人
アクセサリー型テスター
1か月前
個人
計量機能付き容器
10日前
個人
高精度同時多点測定装置
1か月前
甲神電機株式会社
電流検出装置
15日前
株式会社ミツトヨ
測定器
27日前
アズビル株式会社
電磁流量計
1か月前
大成建設株式会社
風洞実験装置
10日前
個人
システム、装置及び実験方法
1か月前
個人
計量具及び計量機能付き容器
10日前
双庸電子株式会社
誤配線検査装置
16日前
長崎県
形状計測方法
1か月前
日本信号株式会社
距離画像センサ
13日前
愛知電機株式会社
軸部材の外観検査装置
24日前
大和製衡株式会社
組合せ計量装置
24日前
個人
非接触による電磁パルスの測定方法
13日前
大和製衡株式会社
組合せ計量装置
24日前
日本特殊陶業株式会社
ガスセンサ
8日前
愛知時計電機株式会社
ガスメータ
27日前
ローム株式会社
半導体装置
1か月前
ローム株式会社
半導体装置
1か月前
トヨタ自動車株式会社
測定システム
1か月前
続きを見る
他の特許を見る