TOP
|
特許
|
意匠
|
商標
特許ウォッチ
Twitter
他の特許を見る
10個以上の画像は省略されています。
公開番号
2025141569
公報種別
公開特許公報(A)
公開日
2025-09-29
出願番号
2024041575
出願日
2024-03-15
発明の名称
取付具、光学素子組立体、及び共焦点光スキャナ
出願人
横河電機株式会社
代理人
個人
,
個人
,
個人
,
個人
主分類
G02B
21/00 20060101AFI20250919BHJP(光学)
要約
【課題】より簡易的な構成で迷光を低減できる取付具を提供する。
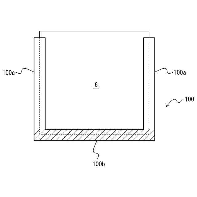
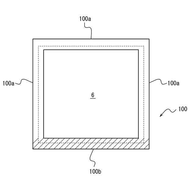
【解決手段】本開示に係る取付具100は、光学設計に従った第1光路に光を進行させる光学素子6をホルダに取り付けるための取付具100であって、ホルダに光学素子6を取り付ける取付部100aと、取付部100aが配置されている平面と略平行な平面に位置し、取付部100aと一体的に配置されている遮光部100bと、を備え、遮光部100bは、第1光路と異なる、光学設計から外れた第2光路への光の進行を遮る。
【選択図】図2A
特許請求の範囲
【請求項1】
光学設計に従った第1光路に光を進行させる光学素子をホルダに取り付けるための取付具であって、
前記ホルダに前記光学素子を取り付ける取付部と、
前記取付部が配置されている平面と略平行な平面に位置し、前記取付部と一体的に配置されている遮光部と、
を備え、
前記遮光部は、前記第1光路と異なる、前記光学設計から外れた第2光路への前記光の進行を遮る、
取付具。
続きを表示(約 840 文字)
【請求項2】
請求項1に記載の取付具であって、
前記遮光部は、前記取付具において第1縁部を構成する、
取付具。
【請求項3】
請求項1又は2に記載の取付具であって、
前記取付部は、前記遮光部に接続され、かつ前記取付具において、前記遮光部の延在方向に交差する第1方向に沿った第2縁部を構成する、
取付具。
【請求項4】
請求項3に記載の取付具であって、
前記取付部は、前記遮光部の両端にそれぞれ接続されている一対の前記第2縁部を構成する、
取付具。
【請求項5】
請求項3に記載の取付具であって、
前記取付部は、前記第2縁部に接続され、かつ前記取付具において、前記第2縁部が延在する前記第1方向に交差する第2方向に沿った第3縁部を構成する、
取付具。
【請求項6】
請求項1又は2に記載の取付具であって、
前記遮光部は、前記遮光部の板厚方向に沿った断面においてL字状である、
取付具。
【請求項7】
請求項1又は2に記載の取付具であって、
前記遮光部は、前記遮光部の延在方向における端部よりも中央部において前記取付部の内側に向けてより張り出すR形状を有する、
取付具。
【請求項8】
請求項1又は2に記載の取付具であって、
前記遮光部は、前記遮光部において前記取付部と接している端部と中央部との間で段差を有する、
取付具。
【請求項9】
請求項1又は2に記載の取付具であって、
前記遮光部及び前記取付部を、前記遮光部の延在方向に沿って複数組一体的に備える、
取付具。
【請求項10】
請求項1又は2に記載の取付具であって、
前記遮光部は、前記光を吸収する、
取付具。
(【請求項11】以降は省略されています)
発明の詳細な説明
【技術分野】
【0001】
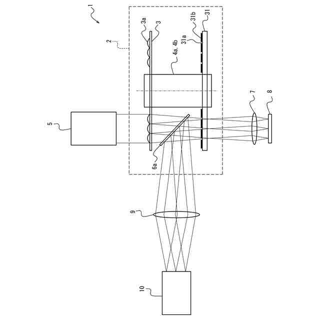
本開示は、取付具、光学素子組立体、及び共焦点光スキャナに関する。
続きを表示(約 1,800 文字)
【背景技術】
【0002】
従来、共焦点光スキャナにダイクロイックミラーなどの光学素子を配置するとき、光学設計から外れた光路への光の進行を遮って迷光の発生を低減するために、光学素子組立体に迷光を遮る部材を取り付ける方法が知られている。例えば、特許文献1には、ダイクロイックミラーで反射した励起光を吸収して迷光を減らし、観察光に対する迷光の影響をより少なくすることができる反射板をダイクロイックミラーに取り付ける方法が開示されている。
【先行技術文献】
【特許文献】
【0003】
特開平09-258109号公報
【発明の概要】
【発明が解決しようとする課題】
【0004】
しかしながら、特許文献1に記載の従来技術では、取付具としての反射板の構成が複雑になるという問題があった。
【0005】
本開示は、より簡易的な構成で迷光を低減できる取付具、光学素子組立体、及び共焦点光スキャナを提供することを目的とする。
【課題を解決するための手段】
【0006】
幾つかの実施形態に係る取付具は、光学設計に従った第1光路に光を進行させる光学素子をホルダに取り付けるための取付具であって、前記ホルダに前記光学素子を取り付ける取付部と、前記取付部が配置されている平面と略平行な平面に位置し、前記取付部と一体的に配置されている遮光部と、を備え、前記遮光部は、前記第1光路と異なる、前記光学設計から外れた第2光路への前記光の進行を遮る。
【0007】
これにより、取付具は、より簡易的な構成で迷光を低減できる。取付具は、取付部が配置されている平面と略平行な平面に遮光部が位置し、取付部と一体的に配置されていることで、全体としてよりシンプルな構造で形成可能である。これにより、例えば、共焦点光スキャナが有する一対のディスク間などの限られた空間へ光学素子を配置する場合であっても、取付具は、当該光学素子をホルダに取り付けた状態で、共焦点光スキャナのディスクなどに対する物理的な干渉をより軽減可能である。取付具は、光学素子の光学面に取付具の全体が沿うようにシンプルに構成可能であり、光学素子の大きさが制限されるような場合であっても、限られた空間内で光学素子をホルダに容易に取付可能である。
【0008】
一実施形態における取付具では、前記遮光部は、前記取付具において第1縁部を構成してもよい。これにより、取付具は、光学設計から外れた第2光路を進行する光が光学素子の縁部から発生する場合であっても、当該光を容易に遮ることが可能である。例えば、取付具は、光学素子の端面での反射光による迷光を、当該光学素子の縁部においてより容易に低減可能である。これにより、取付具は、遮光部が縁部を構成しない場合と比較して、光学素子の光学面において取付具に覆われていない光学的に有効な部分の面積を増大させることができる。したがって、取付具は、例えば共焦点光スキャナなどを含む光学系において、より広範な光に対して光学素子を作用させることも可能である。
【0009】
一実施形態における取付具では、前記取付部は、前記遮光部に接続され、かつ前記取付具において、前記遮光部の延在方向に交差する第1方向に沿った第2縁部を構成してもよい。これにより、取付具によって取り付けられる光学素子の有効面積を最大限使用することが可能である。すなわち、取付具は、取付部が縁部を構成しない場合と比較して、光学素子の光学面において取付具に覆われていない光学的に有効な部分の面積を増大させることができる。したがって、取付具は、例えば共焦点光スキャナなどを含む光学系において、より広範な光に対して光学素子を作用させることも可能である。
【0010】
一実施形態における取付具では、前記取付部は、前記遮光部の両端にそれぞれ接続されている一対の前記第2縁部を構成してもよい。これにより、取付具は、光学素子をホルダにより安定して取り付けることが可能である。加えて、取付具は、取付部が一対の縁部を構成しない場合と比較して、光学素子の光学面において取付具に覆われていない光学的に有効な部分の面積を増大させることができる。したがって、取付具は、例えば共焦点光スキャナなどを含む光学系において、より広範な光に対して光学素子を作用させることも可能である。
(【0011】以降は省略されています)
この特許をJ-PlatPat(特許庁公式サイト)で参照する
関連特許
横河電機株式会社
測定器
1日前
横河電機株式会社
温度測定装置
1日前
横河電機株式会社
厚さ測定装置
1か月前
横河電機株式会社
藻類培養装置
11日前
横河電機株式会社
測定装置および測定方法
1か月前
横河電機株式会社
ベースマップの注釈付け
25日前
横河電機株式会社
装置、方法及びプログラム
1日前
横河電機株式会社
研磨用治具および研磨方法
11日前
横河電機株式会社
測定方法及び測定システム
1日前
横河電機株式会社
測定装置および回転検出方法
1か月前
横河電機株式会社
測定装置および推定システム
1か月前
横河電機株式会社
装置、方法およびプログラム
21日前
横河電機株式会社
装置、方法およびプログラム
11日前
横河電機株式会社
装置、方法およびプログラム
12日前
横河電機株式会社
装置、方法、およびプログラム
11日前
横河電機株式会社
水処理システム及び水処理方法
25日前
横河電機株式会社
情報処理装置及び情報処理方法
20日前
横河電機株式会社
センサ装置、調整方法及び調整装置
1か月前
横河電機株式会社
メタン生成装置及びメタン生成方法
1日前
横河電機株式会社
測定装置、測定方法、及びプログラム
4日前
横河電機株式会社
制御装置、制御システム及び制御方法
25日前
横河電機株式会社
診断システム、診断装置および診断方法
11日前
横河電機株式会社
監視方法、監視プログラム、及び監視装置
1か月前
横河電機株式会社
照射装置、照射方法、および照射プログラム
11日前
横河電機株式会社
評価装置、評価方法、および評価プログラム
11日前
横河電機株式会社
情報処理装置、生成方法および生成プログラム
1か月前
横河電機株式会社
取付具、光学素子組立体、及び共焦点光スキャナ
1日前
横河電機株式会社
情報処理装置、可視化方法および可視化プログラム
4日前
横河電機株式会社
光ファイバ特性測定装置及び光ファイバ特性測定方法
1日前
横河電機株式会社
情報処理装置、情報処理方法及び情報処理プログラム
27日前
横河電機株式会社
光ファイバ特性測定装置及び光ファイバ特性測定方法
4日前
横河電機株式会社
作業支援装置、作業支援システムおよび作業支援方法
13日前
横河電機株式会社
測定装置
1か月前
横河電機株式会社
情報提供装置、情報提供方法、および情報提供プログラム
11日前
横河電機株式会社
管理サーバ、ロボット管理システム及びロボット管理方法
1日前
横河電機株式会社
情報提供装置、情報提供方法、および情報提供プログラム
11日前
続きを見る
他の特許を見る