TOP
|
特許
|
意匠
|
商標
特許ウォッチ
Twitter
他の特許を見る
公開番号
2025164535
公報種別
公開特許公報(A)
公開日
2025-10-30
出願番号
2024068563
出願日
2024-04-19
発明の名称
電力システム
出願人
トヨタ自動車株式会社
代理人
弁理士法人アイテック国際特許事務所
主分類
H02J
3/32 20060101AFI20251023BHJP(電力の発電,変換,配電)
要約
【課題】蓄電装置の過度な温度低下を抑制する。
【解決手段】地中に配置された複数の蓄電装置を備える電力システムであって、複数の蓄電装置同士を接続するための配線の少なくとも一部は、地中に配置され生活排水が流れる排水管内に配置されている。これにより、蓄電装置の過度な温度低下を抑制できる。
【選択図】図1
特許請求の範囲
【請求項1】
地中に配置された複数の蓄電装置を備える電力システムであって、
複数の前記蓄電装置同士を接続するための配線の少なくとも一部は、地中に配置され生活排水が流れる排水管内に配置されている
電力システム。
発明の詳細な説明
【技術分野】
【0001】
本開示は、電力システムに関する。
続きを表示(約 1,000 文字)
【背景技術】
【0002】
従来、この種の電力システムとしては、地中に配置された蓄電装置を備えるものが提案されている(例えば、特許文献1参照)。このシステムでは、蓄電装置内部または蓄電装置周囲のガスを地上の導出する排気管を備える。これにより、蓄電装置内部で発生するガスや蓄電装置周囲に滞留するガスや水蒸気を排気管を通じて地上に排出できる。
【先行技術文献】
【特許文献】
【0003】
特開平8-138638号公報
【発明の概要】
【発明が解決しようとする課題】
【0004】
しかし、上述の電力システムでは、冬に地中の温度が低下すると蓄電装置の温度が過剰に低下することがある。
【0005】
本開示の電力システムは、蓄電装置の過度な温度低下を抑制することを主目的とする。
【課題を解決するための手段】
【0006】
本開示の電力システムは、上述の主目的を達成するために以下の手段を採った。
【0007】
本開示の電力システムは、
地中に配置された複数の蓄電装置を備える電力システムであって、
複数の前記蓄電装置同士を接続するための配線の少なくとも一部は、地中に配置され生活排水が流れる排水管内に配置されている
ことを要旨とする。
【0008】
この本開示の電力システムでは、複数の蓄電装置同士を接続するための配線の少なくとも一部は、地中に配置され生活排水が流れる排水管内に配置されている。排水管内の生活排水は、冬でも地中に比して温度が高くなることが多い。配線は、少なくとも一部が生活排水が流れる排水管内に配置されているから、排水管内の熱を配線を介して蓄電装置に伝えることができる。この結果、蓄電装置の過度な温度低下を抑制できる。
【図面の簡単な説明】
【0009】
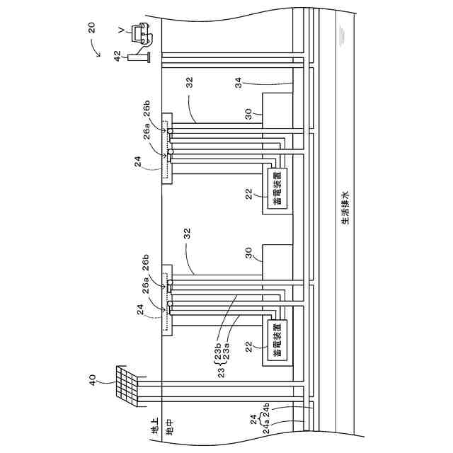
本開示の実施形態の電力システム20の構成の概略を示す概略構成図である。
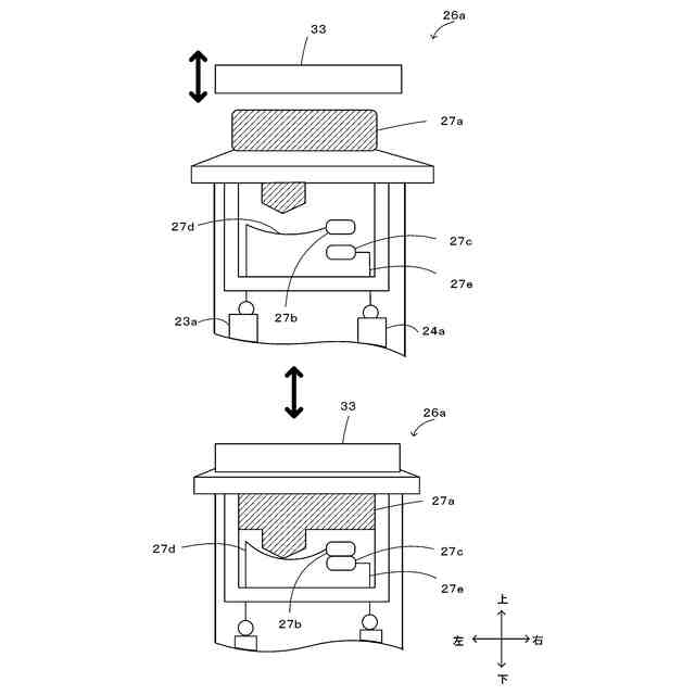
スイッチ26aの構成および動作を説明するための説明図である。
変形例のスイッチ26aの構成および動作を説明するための説明図である。
【発明を実施するための形態】
【0010】
本開示の実施形態について図面を参照しながら説明する。図1は、本開示の実施形態の電力システム20の構成の概略を示す概略構成図である。電力システム20は、複数の蓄電装置22と、送電線24とを備える。
(【0011】以降は省略されています)
この特許をJ-PlatPat(特許庁公式サイト)で参照する
関連特許
トヨタ自動車株式会社
方法
3日前
トヨタ自動車株式会社
車両
4日前
トヨタ自動車株式会社
タンク
3日前
トヨタ自動車株式会社
制御装置
3日前
トヨタ自動車株式会社
制御装置
3日前
トヨタ自動車株式会社
予測モデル
3日前
トヨタ自動車株式会社
電極活物質
3日前
トヨタ自動車株式会社
電池用電極
5日前
トヨタ自動車株式会社
車両制御装置
5日前
トヨタ自動車株式会社
情報処理装置
3日前
トヨタ自動車株式会社
燃料電池セル
3日前
トヨタ自動車株式会社
情報処理装置
3日前
トヨタ自動車株式会社
スパッツ装置
3日前
トヨタ自動車株式会社
情報処理装置
3日前
トヨタ自動車株式会社
情報処理装置
3日前
トヨタ自動車株式会社
車両前部構造
4日前
トヨタ自動車株式会社
情報処理装置
3日前
トヨタ自動車株式会社
情報処理装置
4日前
トヨタ自動車株式会社
車両制御装置
3日前
トヨタ自動車株式会社
車両下部構造
3日前
トヨタ自動車株式会社
車両下部構造
5日前
トヨタ自動車株式会社
車両側部構造
3日前
トヨタ自動車株式会社
車両下部構造
3日前
トヨタ自動車株式会社
車両後部構造
3日前
トヨタ自動車株式会社
車両締結構造
3日前
トヨタ自動車株式会社
情報処理装置
4日前
トヨタ自動車株式会社
車両前部構造
3日前
トヨタ自動車株式会社
蓄電装置構造
4日前
トヨタ自動車株式会社
データ収集装置
3日前
トヨタ自動車株式会社
車両の製造方法
5日前
トヨタ自動車株式会社
積層型二次電池
5日前
トヨタ自動車株式会社
水素エンジン車両
3日前
トヨタ自動車株式会社
液体水素システム
4日前
トヨタ自動車株式会社
燃料電池システム
3日前
トヨタ自動車株式会社
燃料電池システム
3日前
トヨタ自動車株式会社
液体水素貯留装置
4日前
続きを見る
他の特許を見る