TOP
|
特許
|
意匠
|
商標
特許ウォッチ
Twitter
他の特許を見る
公開番号
2025164471
公報種別
公開特許公報(A)
公開日
2025-10-30
出願番号
2024068473
出願日
2024-04-19
発明の名称
長尺LED照明装置
出願人
DNライティング株式会社
代理人
個人
,
個人
,
個人
主分類
F21V
3/00 20150101AFI20251023BHJP(照明)
要約
【課題】細長いハウジングの内部に複数のLED発光素子を列設してなる照明装置において、照明の明るい部分と暗い部分とが交互に生じることを防止する。
【解決手段】細長いハウジング12の内部に複数のLED発光素子13を列設してなる照明装置10において、ハウジング12の内部に、発光素子13の並び方向と直交する幅方向内で互いに連続する光拡散部材14aと透明部材14bとからなるセード14を設ける。そのセード14は、LED発光素子13の発光面13aに近接し、かつ該発光面13aから射出された光が光拡散部材14aおよび透明部材14bに入射する状態とする。
【選択図】図1
特許請求の範囲
【請求項1】
一方向に延び、この方向に直交する面内の断面形状が凹字形であるハウジングと、
このハウジング内に、発光面が前記凹字形の開放部を向く状態として、互いの間に距離を置いて前記一方向に並べて配設された複数のLED発光素子とからなる照明装置において、
前記開放部に、前記一方向に沿って延び、該一方向と直交する幅方向に順次連続する光拡散部と透明部とからなる手段を設け、前記光拡散部が、前記複数のLED発光素子の発光面に近接し、かつ該発光面から射出された照明光の一部が該光拡散部材により拡散され、該照明光の他の部分が前記透明部を通過するように前記ハウジングに取り付けられている照明装置。
続きを表示(約 400 文字)
【請求項2】
天井面と、該天井面と略直交して該天井面から下方に延びる壁面とを有する建造物に対して、前記凹字形の部分の透明部がある方のハウジング外側面を壁面に近接させた状態で、前記複数のLED発光素子が配置された面の裏側の面が前記天井面に取り付けられるようにして使用される請求項1に記載の照明装置。
【請求項3】
床面と、該床面と略直交して該床面から上方に延びる壁面とを有する建造物に対して、前記凹字形の部分の透明部がある方のハウジング外側面を壁面に近接させた状態で、前記複数のLED発光素子が配置された面の裏側の面が前記床面に取り付けられるようにして使用される請求項1に記載の照明装置。
【請求項4】
前記LED発光素子が、LEDチップと前記LEDチップから射出された光を集光して素子外に射出させる集光レンズとからなる請求項1から3のいずれか1項に記載の照明装置。
発明の詳細な説明
【技術分野】
【0001】
本発明はLED照明装置、特に細長いハウジングと、このハウジングの内部に直線状に列設された複数のLED発光素子とからなる長尺のLED照明装置、より詳細にはLED発光素子を一定の間隔をおいて複数直列に並べた長尺の照明装置を使用して照明光を壁面に照射する間接照明における照明装置の改良に関するものである。
続きを表示(約 2,100 文字)
【背景技術】
【0002】
従来、例えば特許文献1、2および3に示されているように、細長いハウジング(ケースやダクトと言われることもある)内にLED発光素子を複数、互いに間隔をおいてハウジング長手方向に列設してなる長尺LED照明装置が知られている。この種の照明装置は、各種の照明に使用されるが、その一つとして、ビルや家屋等の建造物の間接照明に使われることもある。すなわち、例えば天井のある空間の壁面の近傍において、天井から垂下された目隠しの陰に天井から下向きに照射するように壁に沿って長尺LED照明装置を水平に設置し、LED発光素子からの照明光が壁に沿って略下向きに発せられるようにして、LEDからの光を照射された壁のみが明るく照らされるようにした間接照明が知られている。あるいは、屋外において、建造物の外壁に沿って下から長尺LED照明装置からの光を壁に照射して、光源を直接人の目に見せることなく、照らされた壁面のみを明るくして間接照明とするものもある。
【先行技術文献】
【特許文献】
【0003】
特開2017-033726号公報
特開2023-000454号公報
実登第3217460号公報
【発明の概要】
【発明が解決しようとする課題】
【0004】
これらの長尺LED照明装置を使用した間接照明においてはLED発光素子が長さ方向に間隔をおいて列設されているため、照射された壁面において明るい部分と暗い部分とがその間隔ごとに交互に繰り返すため、照明の明るさが不均一になり、均一な明るさを得ることが難しいという問題がある。
【0005】
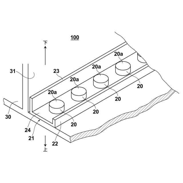
以下、この問題を図5および6を参照して説明する。なお、これらの図5および6では天井から下向きに照射する例を示すが、図示の都合上、上下を逆にして天井面を下に示し、図では実際の上下方向と逆に示している。そこで両図においては、誤解を避けるために、この実際の上下方向を書き入れて示している。
【0006】
図5および6は、それぞれ、従来の照明装置100において複数のLED発光素子20が列設されている部分を斜め方向から見た状態と、側方から見た状態を示している。図中21は断面形状が凹字形の細長いハウジングであり、図5ではこのハウジング21の手前側の側壁22の一部を破断して示し、図6ではこの側壁22の全部を省き、奥側のハウジング側壁23だけを示している。またこの例では、ハウジング21の底壁24が前述したように天井面30に取り付けられる。
【0007】
図5は、LED発光素子20の、照明光が発せられる円形の発光面20aの位置関係を示している。図6に示すように、この発光面20aから射出された照明光40は、概略円錐形の一部をなすように、下方に向かって拡がりながら進行する。そこで照明光40は、ある程度下方位置(図6で一点鎖線Lで示す位置)まで進めば隣接する発光素子20からの照明光同士が互いに混じり合って全体に明るくなり、広がった照明光が壁面31に到達して壁面31が明るく照らされるようになるが、それよりも上の位置つまり発光面20aに近い位置には、照明光40が直接届かないか、非常に微弱である領域が互いに間隔を置いて生じることになる。こうして、照明の明るい部分と暗い部分とが交互に繰り返すようになる。図6では、この暗い部分をドット付きの領域として示している。
【0008】
なお図5および6では、LED発光素子20をいわゆる砲弾型のものとして示しており、円形の発光面20aはLEDチップに被着された集光レンズの表面となるが、砲弾型のLED発光素子の代わりにチップオンボード型や表面実装型のLED発光素子が用いられた場合も、照明の明るい部分と暗い部分とが生じる事情は同じである。
【0009】
本発明は上記の事情に鑑みてなされたものであり、細長いハウジングの内部に複数のLED発光素子を列設してなる照明装置において、照明の明るい部分と暗い部分とが交互に繰り返す照明不均一の問題発生を防止することを目的とする。
【課題を解決するための手段】
【0010】
本発明による照明装置は、
一方向に延び、この方向に直交する面内の断面形状が凹字形であるハウジングと、
このハウジング内に、発光面が前記凹字形の開放部を向く状態として、互いの間に距離を置いて前記一方向に並べて配設された複数のLED発光素子とからなる照明装置において、
前記開放部に、前記一方向に沿って延び、該一方向と直交する幅方向に順次連続する光拡散部と透明部とからなる手段を設け、前記光拡散部が、前記複数のLED発光素子の発光面に近接し、かつ該発光面から射出された照明光の一部が該光拡散部材により拡散され、該照明光の他の部分が前記透明部を通過するように前記ハウジングに取り付けられていることを特徴とするものである。
(【0011】以降は省略されています)
この特許をJ-PlatPat(特許庁公式サイト)で参照する
関連特許
個人
照明装置
13日前
個人
室外機器
5か月前
個人
照明システム
4か月前
個人
車載機器の通気構造
2か月前
個人
気泡を用いた遊具。
7か月前
個人
消火器設置表示装置
24日前
株式会社遠藤照明
照明器具
6か月前
株式会社遠藤照明
照明装置
2か月前
デンカ株式会社
照明装置
5か月前
株式会社小糸製作所
車両用灯具
1か月前
能美防災株式会社
表示灯
2か月前
株式会社小糸製作所
車両用灯具
1か月前
個人
LEDライト
4か月前
デンカ株式会社
道路用照明
5か月前
株式会社小糸製作所
誘導装置
1か月前
アクア株式会社
冷蔵庫
3か月前
フルトラム株式会社
光学機器
1か月前
スタンレー電気株式会社
照射用光源
1か月前
株式会社小糸製作所
投光装置
2か月前
株式会社小糸製作所
投光装置
2か月前
株式会社小糸製作所
車両用灯具
27日前
株式会社小糸製作所
車両用灯具
5か月前
株式会社小糸製作所
車両用灯具
28日前
株式会社小糸製作所
車両用灯具
5か月前
株式会社小糸製作所
車両用灯具
1か月前
株式会社小糸製作所
車両用灯具
4か月前
株式会社小糸製作所
車両用灯具
5か月前
株式会社小糸製作所
表示用灯具
1か月前
株式会社小糸製作所
表示用灯具
1か月前
株式会社小糸製作所
車両用灯具
6か月前
株式会社小糸製作所
車両用灯具
4か月前
株式会社小糸製作所
車両用灯具
5か月前
株式会社小糸製作所
車両用灯具
27日前
株式会社小糸製作所
車両用灯具
4か月前
株式会社小糸製作所
車両用灯具
16日前
株式会社パクマケ
スポットライト
5か月前
続きを見る
他の特許を見る