TOP
|
特許
|
意匠
|
商標
特許ウォッチ
Twitter
他の特許を見る
公開番号
2025163630
公報種別
公開特許公報(A)
公開日
2025-10-29
出願番号
2024067084
出願日
2024-04-17
発明の名称
照明器具
出願人
コイズミ照明株式会社
代理人
弁理士法人矢野内外国特許事務所
主分類
F21S
8/06 20060101AFI20251022BHJP(照明)
要約
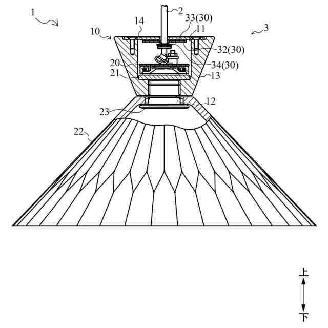
【課題】照明器具について、吊り下げ部材に対する灯具の傾きの細かい調整を行うことができるものとする。
【解決手段】照明器具1において、吊り下げ部材2によって吊り下げられた状態の灯具3の傾きを所定の傾きに保持する傾き保持部30を備え、傾き保持部30は、吊り下げ部材2が挿通される第二貫通孔32aを備え、光源部20よりも第一部材14側に配置される第二部材32と、第一部材14と第二部材32との間に配置される第三部材33と、第二部材32の光源部20側への位置を規制するストッパ34と、を備え、吊り下げ部材2によって吊り下げられることで、ストッパ34で光源部20側への位置が規制された第二部材32によって第三部材33を第一部材14側に押圧して、第一部材14と第三部材33との摩擦力によって灯具2の傾きを所定の傾きに保持する。
【選択図】図4
特許請求の範囲
【請求項1】
灯具と、天井面から前記灯具を吊り下げる吊り下げ部材と、を備える、照明器具であって、
前記灯具は、前記吊り下げ部材が挿通される第一貫通孔を備える前記第一部材と、前記吊り下げ部材に接続される光源部と、を備え、
前記第一部材の前記第一貫通孔内での前記吊り下げ部材の位置を変更することで、前記吊り下げ部材によって吊り下げられた状態の前記吊り下げ部材に対する前記灯具の傾きを所定の傾きに変更可能に構成されるものであり、
前記吊り下げ部材によって吊り下げられた状態の前記灯具の傾きを所定の傾きに保持する傾き保持部を備え、
前記傾き保持部は、
前記吊り下げ部材が挿通される第二貫通孔を備え、前記光源部よりも前記第一部材側に配置される第二部材と、
前記第一部材と前記第二部材との間に配置される第三部材と、
前記第二部材の前記光源部側への位置を規制するストッパと、
を備え、
前記吊り下げ部材によって吊り下げられることで、前記ストッパで前記光源部側への位置が規制された前記第二部材によって前記第三部材を前記第一部材側に押圧して、前記第一部材と前記第三部材との摩擦力によって前記灯具の傾きを所定の傾きに保持する、照明器具。
続きを表示(約 390 文字)
【請求項2】
前記第三部材は、平面視で前記第二部材を覆うように構成される、
請求項1に記載の照明器具。
【請求項3】
前記第三部材は、樹脂素材からなる平板状に構成される、
請求項2に記載の照明器具。
【請求項4】
前記灯具は、上方に開口部を有する灯具本体を備え、
前記光源部、前記第二部材、及び前記第三部材は、前記灯具本体内に配置され、
前記第一部材は、前記灯具本体の前記開口部に蓋をするように設けられる、
請求項3に記載の照明器具。
【請求項5】
前記第一部材の第一貫通孔は、長孔状に構成される、
請求項4に記載の照明器具。
【請求項6】
前記第二部材及び前記第三部材は、前記第一部材の第一貫通孔と平面視で重なる、
請求項2に記載の照明器具。
発明の詳細な説明
【技術分野】
【0001】
本発明は、照明器具の技術に関する。
続きを表示(約 1,600 文字)
【背景技術】
【0002】
従来、灯具と、天井面から前記灯具を吊り下げる吊り下げ部材と、を備える、照明器具の技術は公知となっている。
【0003】
また、引用文献1には、照明器具について、天井から垂下する吊下コードの下端部に取り付けられるランプ装着用ソケット、ソケットに嵌着されるグローブ、及び下側にソケットが取り付けられたソケット台を備え、ソケットとソケット台との間の位置において吊下げコードに結合されたコード留め具が、ソケット台を係止することにより吊下げコード吊り下げられるようになっているものが記載されている。また、この照明器具では、ソケット台の裏面には長穴の長手方向の両側に沿い長穴を挟んで対をなす多数の突起が設けられ、コード止め具には突起に挟まる一対の係合部が設けられ、係合部と突起部との嵌め合いでコード止め具が係止位置に固定され、係合部に嵌り込む突起の選択により係止位置を変更する。そして、このようにコード止め具の係止位置を選択することで、照明器具の傾きを調整することができる。
【先行技術文献】
【特許文献】
【0004】
実公平3-51848号公報
【発明の概要】
【発明が解決しようとする課題】
【0005】
しかしながら、引用文献1の照明器具では、ソケット台の多数の突起の間隔でコード止め具の係止位置が選択されることから、照明器具の傾きの細かい調整をすることが困難であった。
【0006】
本発明は以上の如き状況に鑑みてなされたものであり、吊り下げ部材に対する灯具の傾きの細かい調整を行うことができる照明器具を提供することを課題とする。
【課題を解決するための手段】
【0007】
本発明の解決しようとする課題は以上の如くであり、次にこの課題を解決するための手段を説明する。
【0008】
即ち、本願に開示する照明器具は、
灯具と、天井面から前記灯具を吊り下げる吊り下げ部材と、を備える、照明器具であって、
前記灯具は、前記吊り下げ部材が挿通される第一貫通孔を備える前記第一部材と、前記吊り下げ部材に接続される光源部と、を備え、
前記第一部材の前記第一貫通孔内での前記吊り下げ部材の位置を変更することで、前記吊り下げ部材によって吊り下げられた状態の前記吊り下げ部材に対する前記灯具の傾きを所定の傾きに変更可能に構成されるものであり、
前記吊り下げ部材によって吊り下げられた状態の前記灯具の傾きを所定の傾きに保持する傾き保持部を備え、
前記傾き保持部は、
前記吊り下げ部材が挿通される第二貫通孔を備え、前記光源部よりも前記第一部材側に配置される第二部材と、
前記第一部材と前記第二部材との間に配置される第三部材と、
前記第二部材の前記光源部側への位置を規制するストッパと、
を備え、
前記吊り下げ部材によって吊り下げられることで、前記ストッパで前記光源部側への位置が規制された前記第二部材によって前記第三部材を前記第一部材側に押圧して、前記第一部材と前記第三部材との摩擦力によって前記灯具の傾きを所定の傾きに保持するものである。
【0009】
本願に開示する照明器具は、上記構成を基本として、以下のような態様をとることができる。
本願に開示する照明器具においては、
前記第三部材は、平面視で前記第二部材を覆うように構成されるとすることが好ましい。
【0010】
本願に開示する照明器具においては、
前記第三部材は、樹脂素材からなる平板状に構成されるとすることが好ましい。
(【0011】以降は省略されています)
この特許をJ-PlatPat(特許庁公式サイト)で参照する
関連特許
個人
照明装置
13日前
個人
室外機器
5か月前
個人
照明システム
4か月前
個人
車載機器の通気構造
2か月前
個人
気泡を用いた遊具。
7か月前
個人
消火器設置表示装置
24日前
株式会社遠藤照明
照明器具
6か月前
株式会社遠藤照明
照明装置
2か月前
デンカ株式会社
照明装置
5か月前
株式会社小糸製作所
車両用灯具
1か月前
能美防災株式会社
表示灯
2か月前
株式会社小糸製作所
車両用灯具
1か月前
個人
LEDライト
4か月前
デンカ株式会社
道路用照明
5か月前
株式会社小糸製作所
誘導装置
1か月前
アクア株式会社
冷蔵庫
3か月前
フルトラム株式会社
光学機器
1か月前
スタンレー電気株式会社
照射用光源
1か月前
株式会社小糸製作所
投光装置
2か月前
株式会社小糸製作所
投光装置
2か月前
株式会社小糸製作所
車両用灯具
27日前
株式会社小糸製作所
車両用灯具
5か月前
株式会社小糸製作所
車両用灯具
28日前
株式会社小糸製作所
車両用灯具
5か月前
株式会社小糸製作所
車両用灯具
1か月前
株式会社小糸製作所
車両用灯具
4か月前
株式会社小糸製作所
車両用灯具
5か月前
株式会社小糸製作所
表示用灯具
1か月前
株式会社小糸製作所
表示用灯具
1か月前
株式会社小糸製作所
車両用灯具
6か月前
株式会社小糸製作所
車両用灯具
4か月前
株式会社小糸製作所
車両用灯具
5か月前
株式会社小糸製作所
車両用灯具
27日前
株式会社小糸製作所
車両用灯具
4か月前
株式会社小糸製作所
車両用灯具
16日前
株式会社パクマケ
スポットライト
5か月前
続きを見る
他の特許を見る