TOP
|
特許
|
意匠
|
商標
特許ウォッチ
Twitter
他の特許を見る
公開番号
2025161294
公報種別
公開特許公報(A)
公開日
2025-10-24
出願番号
2024064365
出願日
2024-04-12
発明の名称
テレセントリックレンズ用同軸照明装置
出願人
株式会社レイマック
代理人
個人
主分類
F21S
2/00 20160101AFI20251017BHJP(照明)
要約
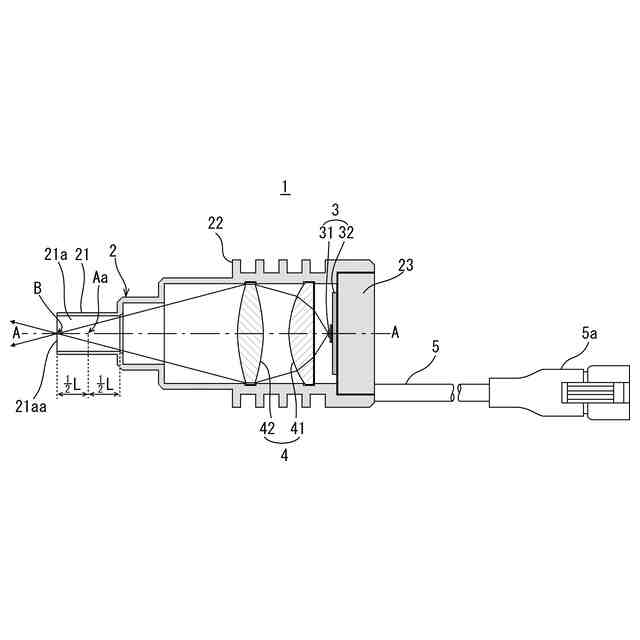
【課題】テレセントリックレンズに挿入され得る円筒部を有しその先端面からより明るい光を放射することができるテレセントリックレンズ用同軸照明装置を提供する。
【解決手段】このテレセントリックレンズ用同軸照明装置1は、軸方向に延びており中空部21aの先端21aaから光を放射し得る円筒部21が形成された筐体2と、筐体2の中に設けられた発光部3と、筐体2の中に設けられ、1個又は複数個の凸レンズ41、42から構成され、発光部3からの光を入射し、円筒部21の中空部21aにおける軸方向の中心Aaから先端21aaまでの位置又は先端21aa近傍の外側の位置に結像点Bを有し、結像点Bに向かって光を放射するレンズ部4と、を備える。
【選択図】図3
特許請求の範囲
【請求項1】
軸方向に延びており中空部の先端から光を放射し得る円筒部が形成された筐体と、
該筐体の中に設けられた発光部と、
前記筐体の中に設けられ、1個又は複数個の凸レンズから構成され、前記発光部からの光を入射し、前記円筒部の前記中空部における軸方向の中心から先端までの位置又は該先端近傍の外側の位置に結像点を有し、該結像点に向かって光を放射するレンズ部と、
を備えるテレセントリックレンズ用同軸照明装置。
続きを表示(約 100 文字)
【請求項2】
請求項1に記載のテレセントリックレンズ用同軸照明装置において、
前記レンズ部に対する前記発光部の軸方向の位置が変動可能であるテレセントリックレンズ用同軸照明装置。
発明の詳細な説明
【技術分野】
【0001】
本発明は、テレセントリックレンズに挿入され同軸落射照明として用いるテレセントリックレンズ用同軸照明装置に関するものである。
続きを表示(約 1,600 文字)
【背景技術】
【0002】
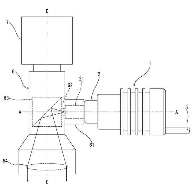
従来、工場で生産された物品(製品)の検査(欠陥、キズ、汚れ、異物などの外観検査)では、同軸落射照明付きのテレセントリックレンズが用いられることが少なくない。同軸落射照明付きのテレセントリックレンズでは、テレセントリックレンズに挿入される同軸照明装置が用いられる。
【0003】
同軸照明装置は、例えば、特許文献1及び特許文献2に示すように、筐体の中に、一般的には、発光部とレンズ部(特許文献1のコリメートレンズと集光レンズ、特許文献2のレンズ機構(第1レンズと第2レンズ))と導光部(特許文献1の導光部、特許文献2のガラスロッド)を備える。発光部は、通常は、発光する1個の発光ダイオードを有する。レンズ部は、発光部からの光を入射し導光部に向かって放射する。導光部は、レンズ部からの光を入射して外部に向かって導いて(側面で反射させながら導いて)放射する。筐体において導光部の周囲は、小径の円筒部になっており、この円筒部は、テレセントリックレンズに側方から挿入され得る。例えば、特許文献3には、同軸照明装置(同文献では検査用照明装置)の円筒部(同文献では光学ガイト体の周囲のケース(筐体)の一部分)がテレセントリックレンズ(同文献では検査装置)に側方から挿入されることが記載されている(同文献の図1(A)参照)。
【先行技術文献】
【特許文献】
【0004】
特開2004-045192号公報
特開2004-111377号公報
特開2013-246952号公報
【発明の概要】
【発明が解決しようとする課題】
【0005】
しかしながら、特許文献1、特許文献2及び特許文献3に記載されているような導光部は、ガラス製又は合成樹脂製のものであり、同軸照明装置から放射される光はその分だけ明るさが減ずる。
【0006】
本発明は、係る事由に鑑みてなされたものであり、その目的は、テレセントリックレンズに挿入され得る円筒部を有しその先端面からより明るい光を放射することができるテレセントリックレンズ用同軸照明装置を提供することにある。
【課題を解決するための手段】
【0007】
上記目的を達成するために、請求項1に記載のテレセントリックレンズ用同軸照明装置は、軸方向に延びており中空部の先端から光を放射し得る円筒部が形成された筐体と、該筐体の中に設けられた発光部と、前記筐体の中に設けられ、1個又は複数個の凸レンズから構成され、前記発光部からの光を入射し、前記円筒部の前記中空部における軸方向の中心から先端までの位置又は該先端近傍の外側の位置に結像点を有し、該結像点に向かって光を放射するレンズ部と、を備える。
【0008】
請求項2に記載のテレセントリックレンズ用同軸照明装置は、請求項1に記載のテレセントリックレンズ用同軸照明装置において、前記レンズ部に対する前記発光部の軸方向の位置が変動可能である。
【発明の効果】
【0009】
本発明のテレセントリックレンズ用同軸照明装置によれば、テレセントリックレンズに挿入され得る円筒部を有しその先端面からより明るい光を放射することが可能になる。
【図面の簡単な説明】
【0010】
本発明の実施形態に係るテレセントリックレンズ用同軸照明装置を示す左側面図である。
同上のテレセントリックレンズ用同軸照明装置を示す断面図(図1のC-C線で示す切断面での断面図)である。
図2に光の様子を追記した断面図である。
同上のテレセントリックレンズ用同軸照明装置をテレセントリックレンズに挿入したときの正面図である。
図4に光の様子を追記した正面図である。
【発明を実施するための形態】
(【0011】以降は省略されています)
特許ウォッチbot のツイートを見る
この特許をJ-PlatPat(特許庁公式サイト)で参照する
関連特許
個人
室外機器
4か月前
個人
照明装置
今日
個人
照明システム
4か月前
個人
消火器設置表示装置
11日前
個人
車載機器の通気構造
1か月前
個人
気泡を用いた遊具。
6か月前
株式会社遠藤照明
照明器具
5か月前
株式会社遠藤照明
照明装置
1か月前
能美防災株式会社
表示灯
1か月前
株式会社小糸製作所
車両用灯具
1か月前
株式会社小糸製作所
車両用灯具
1か月前
個人
LEDライト
4か月前
デンカ株式会社
照明装置
4か月前
デンカ株式会社
道路用照明
4か月前
株式会社小糸製作所
誘導装置
1か月前
アクア株式会社
冷蔵庫
3か月前
スタンレー電気株式会社
照射用光源
1か月前
株式会社小糸製作所
投光装置
1か月前
瀧住電機工業株式会社
ダクトレール
7か月前
フルトラム株式会社
光学機器
1か月前
株式会社小糸製作所
投光装置
1か月前
株式会社小糸製作所
車両用灯具
14日前
株式会社小糸製作所
車両用灯具
4か月前
株式会社小糸製作所
車両用灯具
4か月前
株式会社小糸製作所
車両用灯具
14日前
株式会社小糸製作所
車両用灯具
7か月前
株式会社小糸製作所
車両用灯具
7か月前
株式会社小糸製作所
車両用灯具
15日前
株式会社小糸製作所
車両用灯具
17日前
株式会社小糸製作所
車両用灯具
5か月前
株式会社小糸製作所
車両用灯具
7か月前
株式会社小糸製作所
車両用灯具
7か月前
株式会社小糸製作所
車両用灯具
4か月前
株式会社小糸製作所
描画用灯具
7か月前
株式会社小糸製作所
車両用灯具
7か月前
株式会社小糸製作所
車両用灯具
4か月前
続きを見る
他の特許を見る