TOP
|
特許
|
意匠
|
商標
特許ウォッチ
Twitter
他の特許を見る
10個以上の画像は省略されています。
公開番号
2025157589
公報種別
公開特許公報(A)
公開日
2025-10-15
出願番号
2025129028,2022537423
出願日
2025-08-01,2020-12-16
発明の名称
薬物送達デバイスのためのカートリッジアセンブリおよび薬物送達デバイス
出願人
サノフイ
,
SANOFI
代理人
個人
,
個人
主分類
A61M
5/24 20060101AFI20251007BHJP(医学または獣医学;衛生学)
要約
【課題】薬物送達デバイスのためのカートリッジアセンブリを提供する。
【解決手段】薬物送達デバイスのためのカートリッジアセンブリであって、薬物を収容するカートリッジ301と、内部のカートリッジ収納セクションを画成するカートリッジホルダであり、カートリッジ301がカートリッジ収納セクション内に配置され、遠位領域317および主本体領域318を含み、遠位領域317の遠位端にニードルコネクタ319が配置されているカートリッジホルダと、遠位領域317に配置された固定機能322と、主本体領域318の剛性と比較して低減された機械的剛性を有する領域350とを含み、領域350は、遠位領域317に一体化され、ニードルコネクタ319と固定機能322との間に配置され、カートリッジ301が近位方向に動かされるとき、発生する負荷がカートリッジ301から固定機能322、主本体領域318へ、近位方向に伝達される。
【選択図】図4
特許請求の範囲
【請求項1】
薬物送達デバイスのためのカートリッジアセンブリ(300)であって:
- 薬物(307)を収容するカートリッジ(301)と、
- 内部のカートリッジ収納セクション(303)を画成するカートリッジホルダ(302)であり、該カートリッジが該カートリッジ収納セクション内に配置され、
- カートリッジホルダ(302)が、遠位領域(317)および主本体領域(318)を含み、該遠位領域(317)の遠位端にニードルコネクタ(319)が配置されている、カートリッジホルダ(302)と、
- 該遠位領域(317)に配置された固定機能(322)と、
- 該主本体領域(318)の剛性と比較して、低減された機械的剛性を有する領域(350)とを含み、ここで、該低減された機械的剛性を有する領域(350)は、遠位領域(317)に一体化され、ニードルコネクタ(319)と固定機能(322)との間に配置されており、したがってカートリッジ(301)が近位方向に動かされるとき、発生する負荷が、カートリッジ(301)から固定機能(322)へ、さらに主本体領域(318)へ、近位方向に伝達される、前記カートリッジアセンブリ。
続きを表示(約 1,200 文字)
【請求項2】
低減された機械的剛性を有する領域(350)は、溝またはアパーチャを含む、請求項1に記載のカートリッジアセンブリ。
【請求項3】
溝またはアパーチャは、矩形または角丸矩形の形状を含む、請求項2に記載のカートリッジアセンブリ。
【請求項4】
固定機能(322)は、固定面(324)、特に径方向に向けられた表面を含み、固定面(324)は、カートリッジのカートリッジ面(313)、特に径方向に向けられた表面に当接して、カートリッジホルダからのカートリッジの取外しを防止するように配置され、したがってカートリッジは、カートリッジホルダ内に恒久的に固締され、
カートリッジ面は、カートリッジの投薬端から離れる方を向いている近位面であり、
カートリッジ面は、カートリッジの投薬端と投薬端の反対に位置する端部との間に配置され、
固定機能は、カートリッジホルダに一体化される、請求項1~3のいずれか1項に記載のカートリッジアセンブリ。
【請求項5】
固定機能(322)は、カートリッジホルダ(302)の内壁から径方向に突出し、カートリッジホルダは、固定機能を径方向に弾性変位させることができるように構成される、
請求項4に記載のカートリッジアセンブリ。
【請求項6】
固定面(324)は、カートリッジ面の方を向いている高さを含む、請求項4または5に記載のカートリッジアセンブリ。
【請求項7】
固定面(324)は、カートリッジ面(313)に対して、表面が互いの方を向き、平行にならないように向けられている、請求項4~6のいずれか1項に記載のカートリッジアセンブリ。
【請求項8】
固定機能(322)は、低減された厚さを有する領域を含む、請求項1~7のいずれか1項に記載のカートリッジアセンブリ。
【請求項9】
カートリッジ収納セクション(303)は、少なくとも3つの内部領域、すなわち第1の領域、固定機能領域、および第2の領域を含み、固定機能(322)は、固定機能領域
内に配置され、固定機能領域は、軸方向に見たとき、第1の領域と第2の領域との間に配置され、固定機能領域内のカートリッジホルダの内径またはクリアスパンは、第1の領域および第2の領域内の内径またはクリアスパンより小さく、第1の領域および第2の領域は、異なる内径またはクリアスパンを有する、
請求項1~8のいずれか1項に記載のカートリッジアセンブリ。
【請求項10】
第1の領域または第2の領域のうちの一方は、固定機能に対して遠位に配置された遠位内部領域を含み、遠位内部領域は、2つの異なる内径を有する2つの領域を含み、2つの異なる直径のうちの小さい方の直径を有する領域は、大きい方の内径を有する領域に対して遠位に配置される、
請求項9に記載のカートリッジアセンブリ。
(【請求項11】以降は省略されています)
発明の詳細な説明
【技術分野】
【0001】
本開示は、カートリッジアセンブリ、特に薬物送達デバイス、好ましくは注射デバイスおよび/またはペン型注射器などのペン型デバイスのためのカートリッジアセンブリに関する。さらに、本開示は、カートリッジアセンブリを含む薬物送達デバイスに関する。
続きを表示(約 2,900 文字)
【背景技術】
【0002】
通常の薬物送達デバイスでは、薬物送達デバイスのハウジング内に収容することができる単一の駆動機構が、いくつかのカートリッジまたはアンプルとともに使用されて、カートリッジまたはアンプル内に収容された薬物をデバイスから投薬しており、一般に、デバイスのカートリッジホルダがハウジングに解放可能に連結されており、カートリッジホルダをハウジングから取り外して、使用済みカートリッジを交換することができる。そうするために、カートリッジホルダがハウジングから切り離され、使用済みカートリッジがホルダから取り外されて、新しいカートリッジに交換され、新しいカートリッジはカートリッジホルダに挿入され、カートリッジホルダがハウジングに再び取り付けられて、デバイスは、新しいカートリッジから薬物を投薬するために再び使用される準備ができる。
【0003】
しかし、この種のデバイスには、いくつかのリスクがある。たとえば、薬物送達デバイスの機構がそのために特別に設計されていない薬物、すなわち誤った薬物を収容するカートリッジが、カートリッジホルダに挿入される可能性があり、使用者は、自身が誤った薬物カートリッジをカートリッジホルダに入れたことに気付かない。この間違いは、使用者にとって命取りとなるおそれがあり、また異なる薬物を含むカートリッジが一般に非常によく似ていることから、こうした間違いが発生する可能性は高い。さらに、カートリッジは、別個の物品として販売された場合、特に標準的なカートリッジが一般にガラスカートリッジであることから、損傷を受けるリスクもある。
【発明の概要】
【発明が解決しようとする課題】
【0004】
本発明は、薬物送達デバイス内で使用されるカートリッジ固定システムの設計に関する。
【0005】
本開示の目的は、薬物送達デバイスのための改善されたカートリッジアセンブリ、および/またはカートリッジアセンブリに関連するさらなる改善もしくは構成を提供することである。これらの目的および潜在的に他の目的は、本開示によって、特に独立請求項の主題によって解決される。有利な実施形態および改良形態は、従属請求項の対象である。本開示の1つの特定の目的は、カートリッジをホルダから取り外そうとする試みに対して、カートリッジホルダ内に固締されたカートリッジの安定性を増大させることである。以下の説明から明らかになるように、これは、特にカートリッジホルダ内で、1つもしくは複数の負荷経路に沿って移動する負荷の量を増大させることによって、および/または特にカートリッジをカートリッジホルダから取り外そうとする試みがなされるとき、固定機能の径方向外方の偏向を引き起こす傾向のある、負荷経路に沿って移動する負荷の量を低減させることによって、実現することができる。
【課題を解決するための手段】
【0006】
本開示の一態様は、カートリッジアセンブリ、特にペン型デバイスおよび/または注射デバイスなどの薬物送達デバイスのためのカートリッジアセンブリに関する。別の態様は、薬物送達デバイスに関する。薬物送達デバイスは、便宜的に、本明細書に上記および下記で説明するカートリッジアセンブリと、ハウジングとを含む。
【0007】
カートリッジアセンブリは、ハウジングに解放可能に固締することができる。ハウジング内では、好ましくはカートリッジから薬物を投薬するための投薬動作を駆動するように設計された駆動機構、またはピストンロッドなどのその少なくとも1つもしくはそれ以上の要素を保持することができる。
【0008】
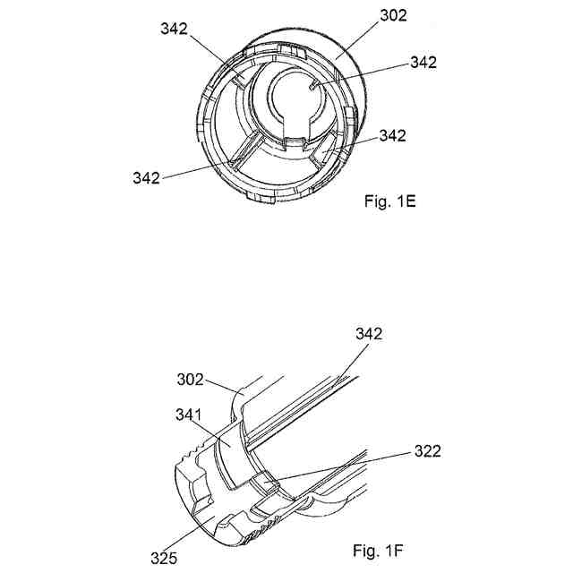
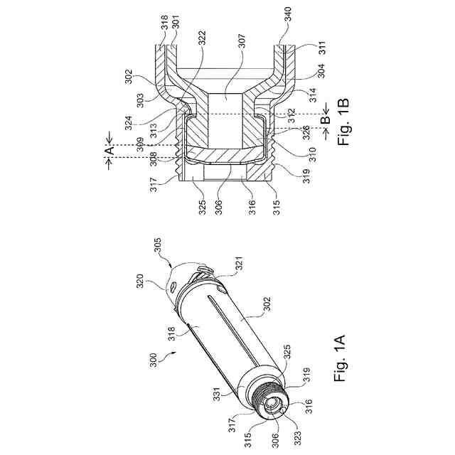
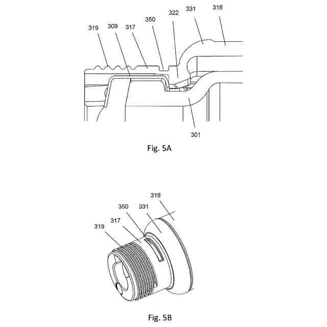
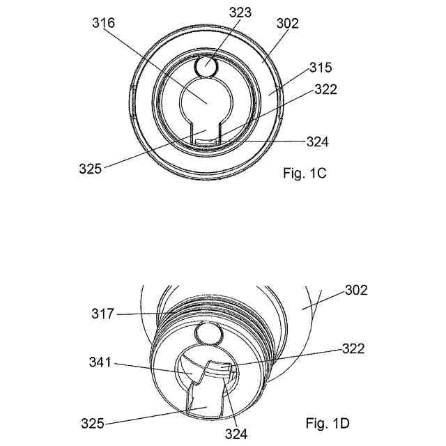
カートリッジアセンブリは、カートリッジを含む。カートリッジアセンブリは、カートリッジホルダを含む。カートリッジホルダは、内部のカートリッジ収納セクションを画成することができる。カートリッジホルダによって、特にその1つまたはそれ以上の部材によって、カートリッジ収納セクションの円周方向の境界を定めることができる。カートリッジは、便宜的に、カートリッジ収納セクション内に配置される。カートリッジアセンブリは、固定機能をさらに含む。固定機能は、便宜的に、カートリッジのカートリッジ面、特に径方向に向けられた表面に当接するように配置されており、または当接している。固定機能は、カートリッジホルダからのカートリッジの取外しを防止するように配置することができる。したがって、カートリッジをカートリッジホルダ内に恒久的に固締することができる。固定機能は、カートリッジホルダの開口部、好ましくは近位開口部を介した、カートリッジホルダからのカートリッジの取外しを防止するように配置することができる。この開口部は、たとえばカートリッジアセンブリを組み立てるとき、カートリッジがそこを介してカートリッジホルダに挿入される開口部とすることができる。カートリッジ面は、カートリッジの投薬端から離れる方を向いている近位面とすることができる。
【0009】
カートリッジホルダは、少なくとも2つの外部領域を含む。これらの外部領域は、遠位領域および主本体領域を含むことができ、または遠位領域および主本体領域とすることができる。遠位領域は、主本体領域よりカートリッジの投薬端の近くに配置することができる。カートリッジホルダの遠位端壁は、遠位領域の遠位の境界を定めることができる。遠位領域の遠位端には、ニードルコネクタが配置される。主本体領域は、カートリッジの主本体部分を保持することができる。遠位領域は、その内部に、カートリッジのヘッド部分を保持することができる。
【0010】
固定機能は、遠位領域に配置される。カートリッジホルダは、主本体領域の剛性と比較して、低減された機械的剛性を有する領域を含む。この領域は、遠位領域に一体化され、ニードルコネクタと固定機能との間に配置されており、したがってカートリッジが近位方向に動かされるとき、発生する負荷は、カートリッジから固定機能へ、さらに主本体領域へ、近位方向に伝達される。この領域は、遠位領域、主本体領域、または遠位領域と主本体領域との間に位置合わせされたショルダ領域の円周で位置合わせすることができる。図3Aおよび図3Bに示す周知の技術的解決策とは対照的に、本開示による低減された機械的剛性を有する領域は、位置的に固定することができる。低減された機械的剛性を有する領域は、ショルダ領域および/または遠位領域に対してある位置に配置することができる。この領域を位置的に固定することによって、低減された機械的剛性を有する領域が、ショルダ領域および/または遠位領域に対してこの領域が配置された位置に留まることが理解されよう。対照的に、図3Aおよび図3Bに示す可撓性アームは、径方向外方へ屈曲することができる。
(【0011】以降は省略されています)
この特許をJ-PlatPat(特許庁公式サイト)で参照する
関連特許
サノフイ
薬物送達デバイス
2か月前
サノフイ
投与量測定システム
5か月前
サノフイ
投与量検知用の電子機器
4か月前
サノフィ-アベンティス・ユー・エス・エルエルシー
多発性骨髄腫の処置方法
1か月前
サノフイ
埋込可能なグルコースモニタ
3か月前
サノフイ
注射デバイスのための補助デバイス
1か月前
サノフイ
安定な低粘度抗体製剤およびその使用
5か月前
サノフィ・バイオテクノロジー
ヒト化抗IL-1R3抗体及び使用方法
2か月前
サノフィ-アベンティス・ユー・エス・エルエルシー
皮下投与のための抗CD38抗体の製剤
1か月前
サノフイ
ブラジキニンB1受容体リガンドに対する抗体
2か月前
サノフイ
抗原性エプスタインバーウイルスポリペプチド
12日前
サノフイ
注射デバイスに取り付けるための補助デバイス
4か月前
サノフィ パスツール インコーポレイティッド
多価肺炎球菌多糖体-タンパク質複合体組成物
2か月前
サノフイ
ヒト化抗CXCR5抗体を使用するループスの処置
5か月前
サノフイ
ヒトのがんを治療するための特異的抗CD38抗体
1か月前
サノフイ
機械学習システムによって低血糖の率を予測すること
1か月前
サノフイ
GLP-1Rアゴニスト/FGF21融合タンパク質
5日前
サノフィ-アベンティス・ユー・エス・エルエルシー
抗CD38抗体を投与して多発性骨髄腫を処置する方法
13日前
サノフイ
低減された活性を有するGLP-1Rアゴニストペプチド
5日前
サノフイ
既存薬物を再開発するためのデータ処理システムおよび方法
3か月前
サノフイ
7H-ベンゾ[7]アヌレン-2-カルボン酸誘導体の結晶形態
6日前
サノフィ・バイオテクノロジー
IL-4R拮抗薬の投与により喘息を処置または予防するための方法
2か月前
サノフィ-アベンティス・ドイチュラント・ゲゼルシャフト・ミット・ベシュレンクテル・ハフツング
医療デバイスで実行可能な作動動作を検出するためのデバイス及び方法
2か月前
サノフイ
薬物送達デバイスのためのカートリッジアセンブリおよび薬物送達デバイス
1か月前
サノフィ・バイオテクノロジー
関節リウマチを有する対象における疼痛を治療するための組成物および方法
2か月前
サノフィ パスツール インコーポレイテッド
多価肺炎球菌多糖体-タンパク質コンジュゲート組成物およびその使用方法
6日前
サノフィ・バイオテクノロジー
IL-33アンタゴニストを投与することによりCOPDを治療するための方法
19日前
サノフィ-アベンティス・ユー・エス・エルエルシー
再発性および/または不応性の多発性骨髄腫の処置のためのイサツキシマブの使用
1か月前
サノフィ・バイオテクノロジー
IL-33アンタゴニストを投与することにより喘息を治療するまたは予防するための方法
3か月前
サノフィ ワクチン テクノロジーズ エス.エー.エス.
微細藻類における異種ポリペプチド、微細藻類細胞外体、組成物の産生、ならびにそれらの作製および使用の方法
3か月前
アブリンクス エン.ヴェー.
TNFαおよびOX40Lを標的とする免疫グロブリン単一可変ドメインを含むポリペプチド
27日前
ニューロクライン バイオサイエンシーズ,インコーポレイテッド
4-(2-クロロ-4-メトキシ-5-メチルフェニル)-N-[(1S)-2-シクロプロピル-1-(3-フルオロ-4-メチルフェニル)エチル]-5-メチル-N-プロパ-2-イニル-1,3-チアゾール-2-アミンの調製のための合成法
1か月前
東レ株式会社
ポリエステルフィルム
1か月前
三菱瓦斯化学株式会社
樹脂組成物、フィルム、偏光シート、および、サングラス
2か月前
三菱瓦斯化学株式会社
樹脂組成物、フィルム、偏光シート、および、サングラス
2か月前
リンテック株式会社
積層体の製造方法
4か月前
続きを見る
他の特許を見る