TOP
|
特許
|
意匠
|
商標
特許ウォッチ
Twitter
他の特許を見る
10個以上の画像は省略されています。
公開番号
2025166108
公報種別
公開特許公報(A)
公開日
2025-11-05
出願番号
2025133004,2021567963
出願日
2025-08-08,2020-05-13
発明の名称
抗CD38抗体を投与して多発性骨髄腫を処置する方法
出願人
サノフィ-アベンティス・ユー・エス・エルエルシー
代理人
個人
,
個人
主分類
C07K
16/28 20060101AFI20251028BHJP(有機化学)
要約
【課題】多発性骨髄腫を処置する方法に使用するための抗体を提供する。
【解決手段】処置する方法における使用のための抗CD38抗体であって、方法は個体に抗CD38抗体の少なくとも第1の静脈内注入を投与する工程を含み、抗CD38抗体は少なくとも10mg/kgの用量で投与され、抗CD38抗体の用量は250mlの容量であり、抗CD38抗体は(a)アミノ酸配列DYWMQ(配列番号1)を含むCDR-H1、TIYPGDGDTGYAQKFQG(配列番号2)を含むCDR-H2及びGDYYGSNSLDY(配列番号3)を含むCDR-H3を含む重鎖可変ドメイン(VH)、並びに(b)KASQDVSTVVA(配列番号4)を含むCDR-L1、SASYRYI(配列番号5)を含むCDR-L2及びQQHYSPPYT(配列番号6)を含むCDR-L3を含む軽鎖可変ドメイン(VL)を含む、抗CD38抗体が提供される。
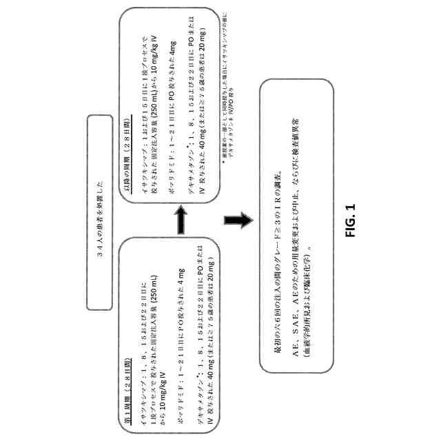
【選択図】図1
特許請求の範囲
【請求項1】
それを必要とする個体を処置する方法における使用のための抗CD38抗体であって、該方法は該個体に該抗CD38抗体の少なくとも第1の静脈内注入を投与する工程を含み、該抗CD38抗体は少なくとも10mg/kgの用量で投与され、該抗CD38抗体の用量は250mlの容量であり、該抗CD38抗体は(a)アミノ酸配列DYWMQ(配列番号1)を含むCDR-H1、アミノ酸配列TIYPGDGDTGYAQKFQG(配列番号2)を含むCDR-H2およびアミノ酸配列GDYYGSNSLDY(配列番号3)を含むCDR-H3を含む重鎖可変ドメイン(VH)、ならびに(b)アミノ酸配列KASQDVSTVVA(配列番号4)を含むCDR-L1、アミノ酸配列SASYRYI(配列番号5)を含むCDR-L2およびアミノ酸配列QQHYSPPYT(配列番号6)を含むCDR-L3を含む軽鎖可変ドメイン(VL)を含む、前記抗CD38抗体。
続きを表示(約 1,600 文字)
【請求項2】
それを必要とするヒト個体に抗CD38抗体を投与する方法であって、該個体に該抗CD38抗体の少なくとも第1の静脈内注入を投与する工程を含み、該抗CD38抗体は少なくとも10mg/kgの用量で投与され、該抗CD38抗体の用量は250mlの容量であり、該抗CD38抗体は(a)アミノ酸配列DYWMQ(配列番号1)を含むCDR-H1、アミノ酸配列TIYPGDGDTGYAQKFQG(配列番号2)を含むCDR-H2およびアミノ酸配列GDYYGSNSLDY(配列番号3)を含むCDR-H3を含む重鎖可変ドメイン(VH)、ならびに(b)アミノ酸配列KASQDVSTVVA(配列番号4)を含むCDR-L1、アミノ酸配列SASYRYI(配列番号5)を含むCDR-L2およびアミノ酸配列QQHYSPPYT(配列番号6)を含むCDR-L3を含む軽鎖可変ドメイン(VL)を含む、前記方法。
【請求項3】
抗CD38抗体はイサツキシマブである、請求項1に記載の使用のための抗CD38抗体または請求項2に記載の方法。
【請求項4】
抗CD38抗体は疾患または障害の処置のためであり、場合により該疾患または障害は多発性骨髄腫である、請求項1または3に記載の使用のための抗CD38抗体、または抗CD38抗体の投与は多発性骨髄腫の処置のためである、請求項2または3に記載の方法。
【請求項5】
抗CD38抗体の第1の静脈内注入は、最初の1時間は25mL/時間の注入速度で個体に投与され、該注入速度は250mlの容量が注入されるまで最初の1時間の後に30分おきに25mL/時間ずつ最大注入速度150mL/時間まで増加される、請求項1および3~4のいずれか1項に記載の使用のための抗CD38抗体または請求項2~4のいずれか1項に記載の方法。
【請求項6】
抗CD38抗体の第1の注入は、最初の30分間は12.5mL/時間の注入速度で個体に投与され、該注入速度は250mlの容量が注入されるまで最初の30分間の後に30分おきに25mL/時間ずつ増加される、請求項1および3~4のいずれか1項に記載の使用のための抗CD38抗体または請求項2~4のいずれか1項に記載の方法。
【請求項7】
個体に抗CD38抗体の少なくとも第2の静脈内注入を投与する工程を含み、該抗CD38抗体は250mlの容量で少なくとも10mg/kgの用量で投与される、請求項1および3~6のいずれか1項に記載の使用のための抗CD38抗体または請求項2~6のいずれか1項に記載の方法。
【請求項8】
抗CD38の第2の静脈内注入は、最初の30分間は50mL/時間の注入速度で個体に投与され、該注入速度は第2の30分間に50ml/時間増加され、該注入速度は25
0mlの容量が注入されるまで第2の30分間の後に30分おきに100mL/時間ずつ最大注入速度200mL/時間まで増加される、請求項7に記載の使用のための抗CD38抗体または方法。
【請求項9】
抗CD38の第2の静脈内注入は、最初の30分間は50mL/時間、第2の30分間は100mL/時間、第3の30分間は200mL、第3の30分間の後は250mlの容量が注入されるまで300mL/時間の注入速度で個体に投与される、請求項7に記載の使用のための抗CD38抗体または方法。
【請求項10】
抗CD38の第2の静脈内注入は、最初の30分間は25ml/時間の注入速度で個体に投与され、該注入速度は250mlの容量が注入されるまで最初の30分間の後に30分おきに50mL/時間ずつ増加される、請求項7に記載の使用のための抗CD38抗体または方法。
(【請求項11】以降は省略されています)
発明の詳細な説明
【技術分野】
【0001】
関連出願への相互参照
本出願は2020年3月3日に出願の欧州特許出願EP20305223.8;2019年9月11日に出願の米国特許仮出願第62/899,088号;2019年6月12日に出願の米国特許仮出願第62/860,739号;および2019年5月14日に出願の米国特許仮出願第62/847,825号の優先権を主張し、その各々の内容は参照によりその全体が本明細書に組み入れられる。
続きを表示(約 5,500 文字)
【0002】
アスキーテキストファイルの配列表の提出
アスキーテキストファイルの以下の提出物の内容は、参照によりその全体が本明細書に組み入れられる:配列表のコンピュータ可読書式(CRF)(ファイル名:183952031741SEQLIST.TXT、記録日:2020年5月12日、サイズ:11KB)。
【0003】
本開示は、抗CD38抗体を投与することによって多発性骨髄腫を処置する方法に関する。
【背景技術】
【0004】
治療抗体は、再発および/または難治性の多発性骨髄腫(RRMM)の患者を処置するためのオプションを向上させた。しかし、治療抗体は静脈内注入を通して一般的に投与されるので、注入反応(IR)が一般的に報告される副作用である。IRの症状(例えば、発疹、蕁麻疹、紅潮、心拍数および/または血圧の変化、発熱、呼吸困難および/または吐き気)は、死を含む重度の有害事象を回避するために迅速な管理を必要とする。IRのリスクを軽減する(または、軽度のIRを解消する)ための戦略には、注入速度を遅くすること、注入を一時的に中断すること、および/または注入用量を2日以上の連続日に分割することが含まれる。しかし、長いおよび/または頻繁な静脈内注入は高コストで、重荷であり、患者にとって不便であり、処置レジメンとのコンプライアンスの低下につながる可能性がある。さらに、長いおよび/または頻繁なIV注入は長期の病院入院およびより長い観察時間を必要とし、このように、病院従業員の作業負担を増加させる。患者、医師および他の医療スタッフにとってもより都合のよい、RRMMの処置のための治療抗体を投与する安全かつ有効な方法が当技術分野で必要である。
【発明の概要】
【課題を解決するための手段】
【0005】
一部の実施形態では、それを必要とする個体を処置する方法における使用のための抗CD38抗体であって、該方法は個体に抗CD38抗体の少なくとも第1の静脈内注入を投与する工程を含み、抗CD38抗体は少なくとも10mg/kgの用量で投与され、抗CD38抗体の用量は250mlの容量であり、抗CD38抗体は、(a)アミノ酸配列DYWMQ(配列番号1)を含むCDR-H1、アミノ酸配列TIYPGDGDTGYAQKFQG(配列番号2)を含むCDR-H2およびアミノ酸配列GDYYGSNSLDY(配列番号3)を含むCDR-H3を含む重鎖可変ドメイン(VH)、ならびに(b)アミノ酸配列KASQDVSTVVA(配列番号4)を含むCDR-L1、アミノ酸配列SASYRYI(配列番号5)を含むCDR-L2およびアミノ酸配列QQHYSPPYT(配列番号6)を含むCDR-L3を含む軽鎖可変ドメイン(VL)を含む、抗CD38抗体が提供される。一部の実施形態では、抗CD38抗体(例えば、抗CD38抗体の投与)は疾患または障害の処置のためであり、場合により疾患または障害は多発性骨髄腫である。一部の実施形態では、それを必要とするヒト個体に抗CD38抗体を投与する方法
であって、個体に抗CD38抗体の少なくとも第1の静脈内注入を投与する工程を含み、抗CD38抗体は少なくとも10mg/kgの用量で投与され、抗CD38抗体の用量は250mlの容量であり、抗CD38抗体は、(a)アミノ酸配列DYWMQ(配列番号1)を含むCDR-H1、アミノ酸配列TIYPGDGDTGYAQKFQG(配列番号2)を含むCDR-H2およびアミノ酸配列GDYYGSNSLDY(配列番号3)を含むCDR-H3を含む重鎖可変ドメイン(VH)、ならびに(b)アミノ酸配列KASQDVSTVVA(配列番号4)を含むCDR-L1、アミノ酸配列SASYRYI(配列番号5)を含むCDR-L2およびアミノ酸配列QQHYSPPYT(配列番号6)を含むCDR-L3を含む軽鎖可変ドメイン(VL)を含む、方法が提供される。一部の実施形態では、抗CD38抗体の投与は多発性骨髄腫の処置のためである。一部の実施形態では、抗CD38抗体はイサツキシマブである。
【0006】
一部の実施形態では、抗CD38抗体の第1の静脈内注入は、最初の1時間は25mL/時間の注入速度で個体に投与され、注入速度は250mlの容量が注入されるまで最初の1時間の後に30分おきに25mL/時間ずつ最大注入速度150mL/時間まで増加される。一部の実施形態では、抗CD38抗体の第1の注入は、最初の30分間は12.5mL/時間の注入速度で個体に投与され、注入速度は250mlの容量が注入されるまで最初の30分間の後に30分おきに25mL/時間ずつ増加される。一部の実施形態では、本方法は、個体に抗CD38抗体の少なくとも第2の静脈内注入を投与する工程を含み、抗CD38抗体は250mlの容量で少なくとも10mg/kgの用量で投与される。一部の実施形態では、抗CD38の第2の静脈内注入は、最初の30分間は50mL/時間の注入速度で個体に投与され、注入速度は第2の30分間に50ml/時間増加され、注入速度は250mlの容量が注入されるまで第2の30分間の後に30分おきに100mL/時間ずつ最大注入速度200mL/時間まで増加される。一部の実施形態では、抗CD38の第2の静脈内注入は、最初の30分間は50mL/時間、第2の30分間は100mL/時間、第3の30分間は200mL、第3の30分間の後は250mlの容量が注入されるまで300mL/時間の注入速度で個体に投与される。一部の実施形態では、抗CD38の第2の静脈内注入は、最初の30分間は25mL/時間の注入速度で個体に投与され、注入速度は250mlの容量が注入されるまで最初の30分間の後に30分おきに50mL/時間ずつ増加される。一部の実施形態では、本方法は、個体に抗CD38抗体の少なくとも第3の静脈内注入を投与する工程を含み、抗CD38抗体は250mlの容量で少なくとも10mg/kgの用量で投与される。一部の実施形態では、抗CD38の第3の静脈内注入は、250mlの容量が注入されるまで200ml/時間の注入速度で個体に投与される。一部の実施形態では、抗CD38の第3の静脈内注入は、最初の30分間は100ml/時間の注入速度で個体に投与され、注入速度は250mlの容量が注入されるまで最初の30分間の後に30分おきに50mL/時間ずつ増加される。一部の実施形態では、本方法は、個体に抗CD38抗体の第4の静脈内注入を投与する工程を含み、抗CD38抗体は250mlの容量で少なくとも10mg/kgの用量で投与される。一部の実施形態では、抗CD38抗体の第4の静脈内注入は、250mlの容量が注入されるまで200ml/時間の注入速度で個体に投与される。一部の実施形態では、抗CD38抗体の第4の静脈内注入は、最初の30分間は100ml/時間の注入速度で個体に投与され、注入速度は250mlの容量が注入されるまで最初の30分間の後に30分おきに50mL/時間ずつ増加される。一部の実施形態では、抗CD38抗体は第1の28日周期で投与され、ここで、抗CD38抗体の第1の静脈内注入は第1の28日周期の1日目に投与され、抗CD38抗体の第2の静脈内注入は8日目に投与され、抗CD38抗体の第3の静脈内注入は15日目に投与され、抗CD38抗体の第4の静脈内注入は22日目に投与される。
【0007】
一部の実施形態では、本方法は、第4の静脈内注入の後に個体に抗CD38抗体の1回またはそれ以上の以後の静脈内注入を投与する工程を含み、抗CD38抗体は1回または
それ以上の以後の静脈内注入の各々について250mlの容量で少なくとも10mg/kgの用量で投与される。一部の実施形態では、第4の静脈内注入の後の抗CD38抗体の1回またはそれ以上の以後の静脈内注入の各々は、250mlの容量が注入されるまで200ml/時間の注入速度で個体に投与される。一部の実施形態では、第4の静脈内注入の後の抗CD38抗体の1回またはそれ以上の以後の静脈内注入の各々は、最初の30分間は100ml/時間の注入速度で個体に投与され、注入速度は250mlの容量が注入されるまで最初の30分間の後に30分おきに50mL/時間ずつ増加される。一部の実施形態では、抗CD38抗体は、第1の28日周期の後の1つまたはそれ以上の以後の28日周期に投与され、第4の静脈内注入の後の抗CD38抗体の1回またはそれ以上の以後の静脈内注入の各々は、第1の28日周期の後の1つまたはそれ以上の以後の28日周期の各々の1および15日目に投与される。
【0008】
一部の実施形態では、それを必要とする個体を処置する方法における使用のための抗CD38抗体であって、該方法は個体に抗CD38抗体の少なくとも3回の静脈内注入を投与する工程を含み、抗CD38抗体は少なくとも10mg/kgの用量で投与され、抗CD38抗体の用量は250mlの容量であり、抗CD38抗体は、(a)アミノ酸配列DYWMQ(配列番号1)を含むCDR-H1、アミノ酸配列TIYPGDGDTGYAQKFQG(配列番号2)を含むCDR-H2およびアミノ酸配列GDYYGSNSLDY(配列番号3)を含むCDR-H3を含む重鎖可変ドメイン(VH)、ならびに(b)アミノ酸配列KASQDVSTVVA(配列番号4)を含むCDR-L1、アミノ酸配列SASYRYI(配列番号5)を含むCDR-L2およびアミノ酸配列QQHYSPPYT(配列番号6)を含むCDR-L3を含む軽鎖可変ドメイン(VL)を含み;抗CD38抗体の第1の静脈内注入は、最初の1時間は25mL/時間の注入速度で個体に投与され、注入速度は250mlの容量が注入されるまで最初の1時間の後に30分おきに25mL/時間ずつ最大注入速度150mL/時間まで増加され;抗CD38の第2の静脈内注入は、最初の30分間は50mL/時間の注入速度で個体に投与され、注入速度は第2の30分間に50ml/時間増加され、注入速度は250mlの容量が注入されるまで第2の30分間の後に30分おきに100mL/時間ずつ最大注入速度200mL/時間まで増加され;抗CD38の第3の静脈内注入は、最初の30分間は100ml/時間の注入速度で個体に投与され、注入速度は250mlの容量が注入されるまで最初の30分間の後に30分おきに50mL/時間ずつ増加される、抗CD38抗体が提供される。
【0009】
一部の実施形態では、それを必要とするヒト個体に抗CD38抗体を投与する方法であって、個体に抗CD38抗体の少なくとも3回の静脈内注入を投与する工程を含み、抗CD38抗体は少なくとも10mg/kgの用量で投与され、抗CD38抗体の用量は250mlの容量であり、抗CD38抗体は、(a)アミノ酸配列DYWMQ(配列番号1)を含むCDR-H1、アミノ酸配列TIYPGDGDTGYAQKFQG(配列番号2)を含むCDR-H2およびアミノ酸配列GDYYGSNSLDY(配列番号3)を含むCDR-H3を含む重鎖可変ドメイン(VH)、ならびに(b)アミノ酸配列KASQDVSTVVA(配列番号4)を含むCDR-L1、アミノ酸配列SASYRYI(配列番号5)を含むCDR-L2およびアミノ酸配列QQHYSPPYT(配列番号6)を含むCDR-L3を含む軽鎖可変ドメイン(VL)を含み;抗CD38抗体の第1の静脈内注入は、最初の1時間は25mL/時間の注入速度で個体に投与され、注入速度は250mlの容量が注入されるまで最初の1時間の後に30分おきに25mL/時間ずつ最大注入速度150mL/時間まで増加され;抗CD38の第2の静脈内注入は、最初の30分間は50mL/時間の注入速度で個体に投与され、注入速度は第2の30分間に50ml/時間増加され、注入速度は250mlの容量が注入されるまで第2の30分間の後に30分おきに100mL/時間ずつ最大注入速度200mL/時間まで増加され;抗CD38の第3の静脈内注入は、最初の30分間は100ml/時間の注入速度で個体に投与され、注入速度は250mlの容量が注入されるまで最初の30分間の後に30分おきに50m
L/時間ずつ増加される、方法が提供される。
【0010】
一部の実施形態では、抗CD38抗体はイサツキシマブである。一部の実施形態では、抗CD38抗体は疾患または障害の処置のためであり、場合により疾患または障害は多発性骨髄腫である。一部の実施形態では、抗CD38抗体の投与は多発性骨髄腫の処置のためである。一部の実施形態では、本方法は、第3の静脈内注入の後に個体に抗CD38抗体の1回またはそれ以上の以後の静脈内注入を投与する工程b、抗CD38抗体は1回またはそれ以上の以後の静脈内注入の各々について250mlの容量で少なくとも10mg/kgの用量で投与される。一部の実施形態では、第3の静脈内注入の後の抗CD38抗体の1回またはそれ以上の以後の静脈内注入の各々は、250mlの容量が注入されるまで200ml/時間の注入速度で個体に投与される。
(【0011】以降は省略されています)
この特許をJ-PlatPat(特許庁公式サイト)で参照する
関連特許
クミアイ化学工業株式会社
多形
19日前
東ソー株式会社
タンパク質の発現方法
2か月前
株式会社トクヤマ
四塩化炭素の製造方法
4か月前
東ソー株式会社
炭素-窒素結合形成方法
4か月前
株式会社トクヤマ
シロキサン類の回収方法
4か月前
株式会社トクヤマ
ビオチン誘導体の製造方法
3か月前
株式会社半導体エネルギー研究所
有機化合物
19日前
株式会社半導体エネルギー研究所
有機化合物
3か月前
栗田工業株式会社
ギ酸の回収方法
1か月前
株式会社コスモス
液状炭化水素の増産方法
3か月前
株式会社コスモス
液状炭化水素の増産方法
3か月前
株式会社トクヤマ
ベンザゼピン化合物の製造方法
3か月前
東ソー株式会社
イソシアネート化合物の製造方法
2か月前
株式会社トクヤマ
ホルムアミド化合物の製造方法
3か月前
株式会社トクヤマ
チオラクトン誘導体の製造方法
1か月前
株式会社トクヤマ
チオファニウム塩誘導体の製造方法
21日前
信越化学工業株式会社
新規化合物
4か月前
artience株式会社
四塩基酸無水物の製造方法
4か月前
日産化学株式会社
ピラゾール化合物及び有害生物防除剤
4か月前
日産化学株式会社
ピラゾール化合物及び有害生物防除剤
3か月前
本田技研工業株式会社
CO2変換方法
1か月前
大阪瓦斯株式会社
メタン製造システム
1か月前
国立大学法人東京農工大学
深共晶溶媒
3か月前
株式会社トクヤマ
サフィナミド若しくはその塩の製造方法
4か月前
三菱ケミカル株式会社
アルコールの製造方法
2か月前
JNC株式会社
有機ケイ素化合物およびこれを用いた重合体
2か月前
旭化成株式会社
トリオキサンの製造方法
4か月前
東ソー株式会社
免疫グロブリン結合性タンパク質の保存溶液
4か月前
キヤノン株式会社
有機化合物及び有機発光素子
5か月前
東ソー株式会社
免疫グロブリン結合性タンパク質の製造方法
2か月前
JNC株式会社
有機ケイ素化合物およびこれを用いた重合体
3か月前
キヤノン株式会社
有機化合物及び有機発光素子
1か月前
株式会社トクヤマ
アシル化ベンゼン誘導体の酸塩の製造方法
3か月前
株式会社半導体エネルギー研究所
有機金属錯体、発光デバイス
3か月前
キヤノン株式会社
有機金属錯体及び有機発光素子
1か月前
個人
IL-17産生誘導能を有する化合物及びその用途
1か月前
続きを見る
他の特許を見る