TOP
|
特許
|
意匠
|
商標
特許ウォッチ
Twitter
他の特許を見る
10個以上の画像は省略されています。
公開番号
2025094101
公報種別
公開特許公報(A)
公開日
2025-06-24
出願番号
2025044177,2023115608
出願日
2025-03-19,2018-12-18
発明の名称
注射デバイスに取り付けるための補助デバイス
出願人
サノフイ
,
SANOFI
代理人
個人
,
個人
主分類
A61M
5/31 20060101AFI20250617BHJP(医学または獣医学;衛生学)
要約
【課題】注射デバイスに関連付けられた使用情報を決定し、かつ伝達できる向上させたアドオン式デバイスを提供する。
【解決手段】注射デバイス10に解放可能に取り付けられるように構成された補助デバイス200であって、補助デバイスは、少なくとも1つの無線通信ユニット241と、少なくとも1つのセンサとを含み、ここで、補助デバイスは、外部デバイスからの無線通信を、少なくとも1つの無線通信ユニットを介して受信したことに応答して、少なくとも1つのセンサを起動し、起動した後に、少なくとも1つのセンサを使用し、注射デバイスによる注射の開始を検出し、少なくとも1つの無線通信ユニットを介して、注射の開始を外部デバイスに伝達するように構成される。
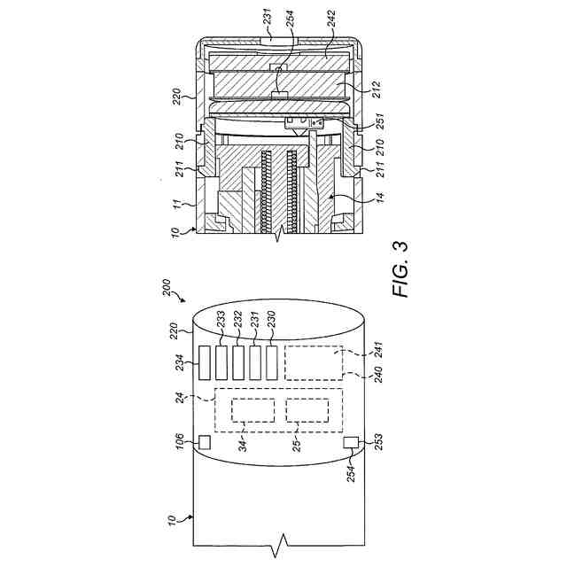
【選択図】図3
特許請求の範囲
【請求項1】
注射デバイスに解放可能に取り付けられるように構成された補助デバイスであって:
少なくとも1つの無線通信ユニットと;
少なくとも1つのセンサと;
延長部とを含み、少なくとも1つのセンサは延長部上に位置し;
ここで、補助デバイスは、
少なくとも1つの無線通信ユニットを介して、外部デバイスから無線通信を受信したことに応答して、少なくとも1つのセンサを起動し、
起動に続いて、少なくとも1つのセンサを使用し、注射デバイスによる注射の開始を検出し、
少なくとも1つの無線通信ユニットを介して、注射の開始を外部デバイスに伝達するように構成される、前記補助デバイス。
続きを表示(約 780 文字)
【請求項2】
延長部は、可撓性のプリント回路板である、請求項1に記載の補助デバイス。
【請求項3】
注射デバイスによる注射の開始が検出されていないことを示すように構成される、請求項1または2に記載の補助デバイス。
【請求項4】
注射デバイスによる注射の開始が検出されたこと、および注射デバイスによる注射の終了が検出されていないことを示すように構成される、請求項1~3のいずれか1項に記載の補助デバイス。
【請求項5】
注射デバイスによる注射の開始が検出されたこと、および注射デバイスによる注射の終了が、注射の開始の所定時間内に検出されていないことを示すように構成される、請求項1~4のいずれか1項に記載の補助デバイス。
【請求項6】
外部デバイスへの伝達に成功したかどうかを示すように構成される、請求項1~5のいずれか1項に記載の補助デバイス。
【請求項7】
温度センサをさらに含む、請求項1~6のいずれか1項に記載の補助デバイス。
【請求項8】
注射デバイスに含まれる薬剤が所定の温度パラメータを満たすかどうかを示すように構成される、請求項7に記載の補助デバイス。
【請求項9】
注射デバイスに含まれる薬剤が、所定の温度パラメータを満たさないと決定したことに応答してタイマを開始し、タイマが終了したとき、標示を提供するように構成される、請求項7に記載の補助デバイス。
【請求項10】
システムであって:
請求項1~9のいずれか1項に記載の補助デバイスと、
注射デバイスと
を含み、
補助デバイスは、解放可能に注射デバイスに取り付けられる、前記システム。
(【請求項11】以降は省略されています)
発明の詳細な説明
【技術分野】
【0001】
これは、注射デバイスに解放可能に取り付けられるように構成された補助デバイスに関する。
続きを表示(約 1,900 文字)
【背景技術】
【0002】
薬剤の注射による規則的な治療を必要とする様々な病気が存在する。このような注射は、注射デバイスを用いることにより実施することができ、それは、医療人員により、または患者自身で行われる。
【0003】
注射デバイス(すなわち、医薬品容器から薬剤を送達できるデバイス)は、注射される治療の自己投与を患者がより容易に行えるようにすることを目的としている。自己投与注射により送達される現在の治療は、糖尿病に対する薬物(インスリンと新しいGLP-1クラスの薬物の両方)、偏頭痛、アレルギー、ホルモン治療、抗凝血などに対する薬物を含む。注射デバイスは、特定の救命薬の1回の用量を送達するために使用することができる。例えば、それらは、アナフィラキシーの危険のある人々に処方されることが多い。それらはまた、化学兵器から人員を保護するために、軍で使用されることも多い。代替として、注射デバイスは、例えば、多発性硬化症、関節リュウマチ、または貧血症の人々に対して、処方された治療スケジュールに従って薬剤を投与するために使用される。
【0004】
注射デバイスは、薬剤の1回の用量を送達するためにだけ使用することができ、また使用後に処分する必要のある使い捨ての、または1回使用のデバイスとすることができる。他のタイプの注射デバイスは、再使用可能である。それらは、通常、ユーザが標準のシリンジを着脱することができるように配置される。再使用可能な注射デバイスは、複数の非経口薬物送達を実施するために使用することができるが、シリンジは、消費されて注射デバイスから外された後、処分される。シリンジは、さらなる機能性を提供するために、さらなる部品を用いてパッケージ化することができる。典型的なシナリオでは、病気は、例えば、毎日、毎週、隔週、または毎月、注射デバイスを用いて薬剤用量を注射することにより、患者自身で治療することができる。
【0005】
注射デバイスは、通常、手動デバイスと自動注射デバイスの2つの範疇に含まれる。手動デバイスでは、ユーザは、針を通して液を送るために機械的エネルギーを与えなくてはならない。これは、通常、注射中にユーザが連続的に押す必要のある何らかの形態のボタン/プランジャにより行われる。
【0006】
自動注射デバイスは、標準シリンジからの非経口薬物送達に含まれる動作を完全に、または部分的に置き換えるデバイスである。これらの動作は、患者の皮膚内への針の挿入、薬剤の注射、針の取外し、針のシールド、およびデバイスの再使用の防止を含むことができる。自動注射デバイスは:ユーザの必要な力、握ることに関する問題、および不完全な用量を送達する可能性を低減することができる。トリガすることは、例えば、トリガボタン、または針がその注射深さに達したという動作など、数多くの手段により実施することができる。いくつかのデバイスでは、液を送達するためのエネルギーは、ばねにより提供される。
【0007】
針のない注射技術を用いて薬剤を送達する無針注射デバイスが開発されてきた。このようなシステムは、カニューレで皮膚を貫通させることを含まない機構を用いて皮膚を通して薬剤を送達する。
【0008】
注射デバイスの誤った扱いを防止するために、または使用データの経過を追うために、注射デバイスの状態および/または使用に関する情報を測定することが望ましい。注射器と共に使用するのに適しており、かつ注射器によって送達される用量をモニタする(またユーザに他の情報を提供する)再使用可能な、アドオン式デバイスが知られている。デバイスを注射デバイスに解放可能に取り付けるための嵌合ユニットを含む補助デバイスを提供することが、例えば、特許文献1で述べられている。そのデバイスは、カメラを含み、かつ注射ペンの投与量窓を介して視認できる取り込まれた画像に対して光学式文字認識(OCR)を実施し、それにより、注射デバイスへとダイヤルで設定されている薬剤の用量を決定するように構成される。
【先行技術文献】
【特許文献】
【0009】
WO2011/117212
【発明の概要】
【発明が解決しようとする課題】
【0010】
注射デバイスに関連付けられた使用情報を決定し、かつ伝達できる向上させたアドオン式デバイスが求められている。このようなアドオン式デバイスの電力消費量を最小化するための方法が求められている。
【課題を解決するための手段】
(【0011】以降は省略されています)
この特許をJ-PlatPat(特許庁公式サイト)で参照する
関連特許
サノフイ
薬物送達デバイス
2か月前
サノフイ
投与量測定システム
5か月前
サノフイ
投与量検知用の電子機器
4か月前
サノフィ-アベンティス・ユー・エス・エルエルシー
多発性骨髄腫の処置方法
1か月前
サノフイ
埋込可能なグルコースモニタ
3か月前
サノフイ
注射デバイスのための補助デバイス
1か月前
サノフイ
安定な低粘度抗体製剤およびその使用
5か月前
サノフィ・バイオテクノロジー
ヒト化抗IL-1R3抗体及び使用方法
2か月前
サノフィ-アベンティス・ユー・エス・エルエルシー
皮下投与のための抗CD38抗体の製剤
1か月前
サノフイ
ブラジキニンB1受容体リガンドに対する抗体
2か月前
サノフイ
抗原性エプスタインバーウイルスポリペプチド
12日前
サノフイ
注射デバイスに取り付けるための補助デバイス
4か月前
サノフィ パスツール インコーポレイティッド
多価肺炎球菌多糖体-タンパク質複合体組成物
2か月前
サノフイ
ヒト化抗CXCR5抗体を使用するループスの処置
5か月前
サノフイ
ヒトのがんを治療するための特異的抗CD38抗体
1か月前
サノフイ
機械学習システムによって低血糖の率を予測すること
1か月前
サノフイ
GLP-1Rアゴニスト/FGF21融合タンパク質
5日前
サノフィ-アベンティス・ユー・エス・エルエルシー
抗CD38抗体を投与して多発性骨髄腫を処置する方法
13日前
サノフイ
低減された活性を有するGLP-1Rアゴニストペプチド
5日前
サノフイ
既存薬物を再開発するためのデータ処理システムおよび方法
3か月前
サノフイ
7H-ベンゾ[7]アヌレン-2-カルボン酸誘導体の結晶形態
6日前
サノフィ・バイオテクノロジー
IL-4R拮抗薬の投与により喘息を処置または予防するための方法
2か月前
サノフィ-アベンティス・ドイチュラント・ゲゼルシャフト・ミット・ベシュレンクテル・ハフツング
医療デバイスで実行可能な作動動作を検出するためのデバイス及び方法
2か月前
サノフイ
薬物送達デバイスのためのカートリッジアセンブリおよび薬物送達デバイス
1か月前
サノフィ・バイオテクノロジー
関節リウマチを有する対象における疼痛を治療するための組成物および方法
2か月前
サノフィ パスツール インコーポレイテッド
多価肺炎球菌多糖体-タンパク質コンジュゲート組成物およびその使用方法
6日前
サノフィ・バイオテクノロジー
IL-33アンタゴニストを投与することによりCOPDを治療するための方法
19日前
サノフィ-アベンティス・ユー・エス・エルエルシー
再発性および/または不応性の多発性骨髄腫の処置のためのイサツキシマブの使用
1か月前
サノフィ・バイオテクノロジー
IL-33アンタゴニストを投与することにより喘息を治療するまたは予防するための方法
3か月前
サノフィ ワクチン テクノロジーズ エス.エー.エス.
微細藻類における異種ポリペプチド、微細藻類細胞外体、組成物の産生、ならびにそれらの作製および使用の方法
3か月前
アブリンクス エン.ヴェー.
TNFαおよびOX40Lを標的とする免疫グロブリン単一可変ドメインを含むポリペプチド
27日前
ニューロクライン バイオサイエンシーズ,インコーポレイテッド
4-(2-クロロ-4-メトキシ-5-メチルフェニル)-N-[(1S)-2-シクロプロピル-1-(3-フルオロ-4-メチルフェニル)エチル]-5-メチル-N-プロパ-2-イニル-1,3-チアゾール-2-アミンの調製のための合成法
1か月前
東レ株式会社
ポリエステルフィルム
1か月前
三菱瓦斯化学株式会社
樹脂組成物、フィルム、偏光シート、および、サングラス
2か月前
三菱瓦斯化学株式会社
樹脂組成物、フィルム、偏光シート、および、サングラス
2か月前
リンテック株式会社
積層体の製造方法
4か月前
続きを見る
他の特許を見る