TOP
|
特許
|
意匠
|
商標
特許ウォッチ
Twitter
他の特許を見る
10個以上の画像は省略されています。
公開番号
2025090833
公報種別
公開特許公報(A)
公開日
2025-06-17
出願番号
2025044176,2023187350
出願日
2025-03-19,2018-12-20
発明の名称
投与量測定システム
出願人
サノフイ
,
SANOFI
代理人
個人
,
個人
主分類
A61M
5/315 20060101AFI20250610BHJP(医学または獣医学;衛生学)
要約
【課題】投薬された薬剤の投与量を判定する薬剤送達デバイスを提供する。
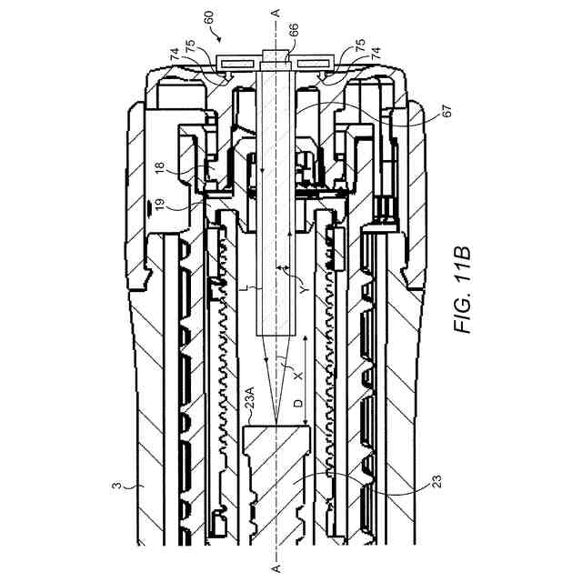
【解決手段】薬剤送達デバイスは、薬剤リザーバおよび投薬機構を含む。投薬機構は、薬剤リザーバから薬剤を投薬するように軸方向に可動の投薬部材を含む。投与量測定システムは、センサユニットおよびプロセッサを含む。センサユニットは、投薬部材の軸方向変位を測定するように構成される。プロセッサは、投薬部材の測定された軸方向変位に基づいて、薬剤リザーバから投薬された投与量を判定するように構成される。
【選択図】図11B
特許請求の範囲
【請求項1】
薬剤送達デバイスのための投与量測定システムであって、該薬剤送達デバイスは、薬剤リザーバと、該薬剤リザーバから薬剤を投薬するように軸方向に可動の投薬部材を含む投薬機構とを含み、該投与量測定システムは:
投薬部材の軸方向変位を測定するように構成されたセンサユニットと;
投薬部材の測定された軸方向変位に基づいて、薬剤リザーバから投薬された投与量を判定するように構成されたプロセッサとを含む、前記投与量測定システム。
続きを表示(約 850 文字)
【請求項2】
センサユニットは、投薬部材がセンサユニットから離れるように動いて薬剤リザーバから薬剤を投薬するように位置するように構成される、請求項1に記載の投与量測定システム。
【請求項3】
センサユニットは、信号を伝送し、信号が投薬部材から反射されるように構成され、センサユニットは、反射信号を検出するように構成される、請求項1または2に記載の投与量測定システム。
【請求項4】
センサユニットは、伝送部材を含み、信号は、伝送部材を通って伝送され、好ましくは伝送部材は光ガイドを含む、請求項3に記載の投与量測定システム。
【請求項5】
投薬部材は、親ねじを含み、投薬機構は、親ねじを駆動部材に対して軸方向に変位させて薬剤リザーバから薬剤を投薬するように回転するように構成された駆動部材をさらに含む、請求項1~4のいずれか1項に記載の投与量測定システム。
【請求項6】
センサユニットは、駆動部材内で移動する信号を伝送するように構成される、請求項5に記載の投与量測定システム。
【請求項7】
センサユニットは、薬剤送達デバイスと一体化される、請求項1~6のいずれか1項に記載の投与量測定システム。
【請求項8】
センサユニットは、薬剤送達デバイスに取外し可能に取付け可能である、請求項1~6のいずれか1項に記載の投与量測定システム。
【請求項9】
薬剤送達デバイスは、薬剤を投薬するために使用者によって作動可能なアクチュエータを含み、センサユニットは、アクチュエータに取り付けられるように構成される、請求項1~8のいずれか1項に記載の投与量測定システム。
【請求項10】
アクチュエータは、空間を含み、センサユニットは、該空間内に少なくとも部分的に受け入れられるように構成される、請求項9に記載の投与量測定システム。
(【請求項11】以降は省略されています)
発明の詳細な説明
【技術分野】
【0001】
本発明は、投与量測定システムに関する。本発明はまた、投与量測定デバイス、薬剤送達システム、および薬剤送達デバイスから投薬された薬剤の投与量を判定する方法に関する。
続きを表示(約 1,800 文字)
【背景技術】
【0002】
薬剤の注射による定期的な治療を必要とする様々な疾病が存在する。そのような注射は、医療従事者または患者自身によって適用される注射デバイスを使用して実行することができる。一例として、1型および2型の糖尿病は、たとえば1日1回または数回のインスリン用量の注射によって、患者自身が治療することができる。たとえば、充填済みの使い捨てインスリンペンを注射デバイスとして使用することができる。別法として、再利用可能なペンを使用することもできる。再利用可能なペンでは、空の薬剤カートリッジを新しいものに交換することが可能である。いずれのペンにも1組の一方向針が付随しており、これらの針は使用前に毎回交換される。次いでたとえば、投与量ノブを回して、インスリンペンの用量窓またはディスプレイから実際の用量を観察することによって、注射予定のインスリン用量をインスリンペンで手動で選択することができる。次いで好適な皮膚部分に針を挿入し、インスリンペンの注射ボタンを押下することによって、用量が注射される。インスリン注射を監視すること、たとえばインスリンペンの誤った取扱いを防止すること、またはすでに投与された用量を追跡することが可能になるように、たとえば注射済みインスリン用量の情報など、注射デバイスの状態および/または使用に関係する情報を測定することが望ましい。
【発明の概要】
【発明が解決しようとする課題】
【0003】
本発明の目的は、改善された投与量測定システム、投与量測定デバイス、薬剤送達システム、および薬剤送達デバイスから投薬された薬剤の投与量を判定する方法を提供することである。
【課題を解決するための手段】
【0004】
本発明によれば、薬剤送達デバイスのための投与量測定システムが提供され、薬剤送達デバイスは、薬剤リザーバと、薬剤リザーバから薬剤を投薬するように軸方向に可動の投薬部材を含む投薬機構とを含み、投与量測定システムは:投薬部材の軸方向変位を測定するように構成されたセンサユニットと;投薬部材の測定された軸方向変位に基づいて、薬剤リザーバから投薬された投与量を判定するように構成されたプロセッサとを含む。
【0005】
いくつかの実施形態では、センサユニットは、既存の薬剤送達デバイスの端部に、薬剤送達デバイスの大幅な修正を必要とすることなく取り付けることができる。たとえば、既存の薬剤送達デバイスが親ねじを含む投薬部材を有する場合、センサユニットは、親ねじの軸方向変位を測定するように、たとえば薬剤送達デバイスの近位端に取り付けることができる。
【0006】
センサユニットは、投薬部材がセンサユニットから離れるように動いて薬剤リザーバから薬剤を投薬するように位置するように構成することができる。
【0007】
一実施形態では、センサユニットは、信号を伝送し、前記信号が投薬部材から反射されるように構成され、センサユニットは、前記反射信号を検出するように構成される。一実施形態では、センサユニットは、信号が親ねじの近位向きの面から反射されるように構成
される。
【0008】
一実施形態では、センサユニットは、伝送部材を含み、前記信号は、伝送部材を通って伝送される。したがって、伝送部材は、信号を投薬部材に向かって誘導するのに役立つ。したがって、センサ自体は、投薬部材に近接して位置する必要がない。伝送部材は、光ガイドを含むことができる。
【0009】
一実施形態では、投薬部材は、親ねじを含み、投薬機構は、親ねじを駆動部材に対して軸方向に変位させて薬剤リザーバから薬剤を投薬するように回転するように構成された駆動部材をさらに含む。したがってセンサは、薬剤送達デバイスの径方向寸法を低減させるように、親ねじと軸方向に位置合わせして設けることができる。
【0010】
一実施形態では、センサユニットは、駆動部材内で移動する信号を伝送するように構成される。駆動部材は、駆動スリーブとすることができる。駆動スリーブは、略円筒形の周壁を含むことができる。
(【0011】以降は省略されています)
この特許をJ-PlatPat(特許庁公式サイト)で参照する
関連特許
サノフイ
薬物送達デバイス
2か月前
サノフイ
投与量検知用の電子機器
4か月前
サノフィ-アベンティス・ユー・エス・エルエルシー
多発性骨髄腫の処置方法
1か月前
サノフイ
埋込可能なグルコースモニタ
3か月前
サノフイ
注射デバイスのための補助デバイス
1か月前
サノフィ・バイオテクノロジー
ヒト化抗IL-1R3抗体及び使用方法
2か月前
サノフィ-アベンティス・ユー・エス・エルエルシー
皮下投与のための抗CD38抗体の製剤
1か月前
サノフィ パスツール インコーポレイティッド
多価肺炎球菌多糖体-タンパク質複合体組成物
2か月前
サノフイ
抗原性エプスタインバーウイルスポリペプチド
13日前
サノフイ
ブラジキニンB1受容体リガンドに対する抗体
2か月前
サノフイ
ヒトのがんを治療するための特異的抗CD38抗体
1か月前
サノフイ
機械学習システムによって低血糖の率を予測すること
1か月前
サノフイ
GLP-1Rアゴニスト/FGF21融合タンパク質
6日前
サノフィ-アベンティス・ユー・エス・エルエルシー
抗CD38抗体を投与して多発性骨髄腫を処置する方法
14日前
サノフイ
低減された活性を有するGLP-1Rアゴニストペプチド
6日前
サノフイ
既存薬物を再開発するためのデータ処理システムおよび方法
3か月前
サノフイ
7H-ベンゾ[7]アヌレン-2-カルボン酸誘導体の結晶形態
7日前
サノフィ・バイオテクノロジー
IL-4R拮抗薬の投与により喘息を処置または予防するための方法
2か月前
サノフィ-アベンティス・ドイチュラント・ゲゼルシャフト・ミット・ベシュレンクテル・ハフツング
医療デバイスで実行可能な作動動作を検出するためのデバイス及び方法
2か月前
サノフイ
薬物送達デバイスのためのカートリッジアセンブリおよび薬物送達デバイス
1か月前
サノフィ・バイオテクノロジー
関節リウマチを有する対象における疼痛を治療するための組成物および方法
2か月前
サノフィ パスツール インコーポレイテッド
多価肺炎球菌多糖体-タンパク質コンジュゲート組成物およびその使用方法
7日前
サノフィ・バイオテクノロジー
IL-33アンタゴニストを投与することによりCOPDを治療するための方法
20日前
サノフィ-アベンティス・ユー・エス・エルエルシー
再発性および/または不応性の多発性骨髄腫の処置のためのイサツキシマブの使用
1か月前
サノフィ・バイオテクノロジー
IL-33アンタゴニストを投与することにより喘息を治療するまたは予防するための方法
3か月前
サノフィ ワクチン テクノロジーズ エス.エー.エス.
微細藻類における異種ポリペプチド、微細藻類細胞外体、組成物の産生、ならびにそれらの作製および使用の方法
3か月前
アブリンクス エン.ヴェー.
TNFαおよびOX40Lを標的とする免疫グロブリン単一可変ドメインを含むポリペプチド
28日前
ニューロクライン バイオサイエンシーズ,インコーポレイテッド
4-(2-クロロ-4-メトキシ-5-メチルフェニル)-N-[(1S)-2-シクロプロピル-1-(3-フルオロ-4-メチルフェニル)エチル]-5-メチル-N-プロパ-2-イニル-1,3-チアゾール-2-アミンの調製のための合成法
1か月前
東レ株式会社
ポリエステルフィルム
1か月前
三菱瓦斯化学株式会社
樹脂組成物、フィルム、偏光シート、および、サングラス
2か月前
三菱瓦斯化学株式会社
樹脂組成物、フィルム、偏光シート、および、サングラス
2か月前
株式会社サタケ
集塵機における圧力計測配管の取付構造
2か月前
サンスター株式会社
歯間ブラシ
4か月前
イマジン インテリジェント マテリアルズ リミテッド
グラフェンを組み込んだ圧電反応性テキスタイル
2か月前
合肥晶合集成電路股ふん有限公司
半導体装置設計方法及び半導体装置設計装置
1か月前
セイコーエプソン株式会社
支持装置及び印刷装置
2か月前
続きを見る
他の特許を見る