TOP
|
特許
|
意匠
|
商標
特許ウォッチ
Twitter
他の特許を見る
公開番号
2025153163
公報種別
公開特許公報(A)
公開日
2025-10-10
出願番号
2024055485
出願日
2024-03-29
発明の名称
半導体装置設計方法及び半導体装置設計装置
出願人
合肥晶合集成電路股ふん有限公司
代理人
弁理士法人YKI国際特許事務所
主分類
H10D
30/60 20250101AFI20251002BHJP()
要約
【課題】半導体装置において深さ方向に加えて横方向のドーパント濃度分布を調整しつつ、半導体装置の設計を行うことを可能にする。
【解決手段】プロセスシミュレータを用いて、ゲート構造の少なくとも一方の側に設けられるLDDイオン注入領域とHaloイオン注入領域について、ゲート構造のチャネル長方向に沿ったドーパントの横方向モーメントを変更しつつLDDイオン注入領域及びHaloイオン注入領域におけるドーパント濃度分布をプロセスシミュレーションするステップを備える半導体装置設計方法とする。
【選択図】図2
特許請求の範囲
【請求項1】
プロセスシミュレータを用いたMOS型の半導体装置設計方法であって、
ゲート構造の少なくとも一方の側に設けられるLDDイオン注入領域とHaloイオン注入領域について、前記ゲート構造のチャネル長方向に沿ったドーパントの横方向モーメントを変更しつつ前記LDDイオン注入領域及び前記Haloイオン注入領域におけるドーパント濃度分布をプロセスシミュレーションするステップを備えることを特徴とする半導体装置設計方法。
続きを表示(約 1,600 文字)
【請求項2】
請求項1に記載の半導体装置設計方法であって、
前記プロセスシミュレーションするステップで得られた前記LDDイオン注入領域及び前記Haloイオン注入領域におけるドーパント濃度分布を適用したMOS型の半導体装置の特性をデバイスシミュレーションするステップをさらに備え、
前記デバイスシミュレータするステップで得られた特性がMOS型の半導体装置において実際に測定された特性に近づくように前記横方向モーメントを変更しつつ前記プロセスシミュレーションするステップを実行することを特徴とする半導体装置設計方法。
【請求項3】
請求項1又は2に記載の半導体装置設計方法であって、
前記横方向モーメントの変更は、
前記プロセスシミュレーションを実行するプロセスシミュレータから前記横方向モーメントを読み出すステップと、
読み出された前記横方向モーメントを変更するステップと、
変更された前記横方向モーメントを前記プロセスシミュレータに書き込むステップと、
を備えることを特徴とする半導体装置設計方法。
【請求項4】
請求項1に記載の半導体装置設計方法であって、
前記LDDイオン注入領域の不純物の導電型は、前記Haloイオン注入領域の不純物の導電型と反対であることを特徴とする半導体装置設計方法。
【請求項5】
請求項4に記載の半導体装置設計方法であって、
MOS型の半導体装置は、前記ゲート構造のそれぞれの側に導電性のソース/ドレイン注入によって形成されたソース領域及びドレイン領域をさらに備えることを特徴とする半導体装置設計方法。
【請求項6】
プロセスシミュレータを用いたMOS型の半導体装置設計装置であって、
ゲート構造の少なくとも一方の側に設けられるLDDイオン注入領域とHaloイオン注入領域について、前記ゲート構造のチャネル長方向に沿ったドーパントの横方向モーメントを変更しつつ前記LDDイオン注入領域及び前記Haloイオン注入領域におけるドーパント濃度分布をプロセスシミュレーションする手段を備えることを特徴とする半導体装置設計装置。
【請求項7】
請求項6に記載の半導体装置設計装置であって、
前記プロセスシミュレーションする手段で得られた前記LDDイオン注入領域及び前記Haloイオン注入領域におけるドーパント濃度分布を適用したMOS型の半導体装置の特性をデバイスシミュレーションする手段をさらに備え、
前記デバイスシミュレータする手段で得られた特性がMOS型の半導体装置において実際に測定された特性に近づくように前記横方向モーメントを変更しつつ前記プロセスシミュレーションを実行することを特徴とする半導体装置設計装置。
【請求項8】
請求項7に記載の半導体装置設計装置であって、
前記LDDイオン注入領域の不純物の導電型は、前記Haloイオン注入領域の不純物の導電型と反対であることを特徴とする装置。
【請求項9】
請求項6又は7に記載の半導体装置設計装置であって、
前記横方向モーメントの変更は、
前記プロセスシミュレーションを実行するプロセスシミュレータから前記横方向モーメントを読み出す処理と、
読み出された前記横方向モーメントを変更する処理と、
変更された前記横方向モーメントを前記プロセスシミュレータに書き込む処理と、
を行うことを特徴とする半導体装置設計装置。
【請求項10】
請求項6に記載の半導体装置設計方法であって、
MOS型の半導体装置は、前記ゲート構造のそれぞれの側に導電性のソース/ドレイン注入によって形成されたソース領域及びドレイン領域をさらに備えることを特徴とする半導体装置設計方法。
発明の詳細な説明
【技術分野】
【0001】
本発明は、集積回路製造技術の分野に関し、特に、半導体装置設計方法及び半導体装置設計装置に関する。
続きを表示(約 2,100 文字)
【背景技術】
【0002】
テクノロジCAD(TCAD)を用いて様々なタイプの半導体装置の製造プロセス及び電気的特性をシミュレーションすることで当該半導体装置を設計する技術が用いられている。
【0003】
例えば、MOSFETを設計する技術において、TCADによるシミュレーションを校正する方法が開示されている(特許文献1)。当該文献では、プロセスのシミュレーションにおいて、透過型電子顕微鏡(TEM)、二次イオン質量分析(SIMS)、容量-電圧特性測定等の実際の素子の電気的特性の測定結果に基づいてシミュレーションの主要パラメータを調整する技術が開示されている。
【0004】
また、例えば、TCADシミュレーションにおいてMOSキャパシタのC-V特性曲線を校正するための方法が開示されている(特許文献2)。実際にMOSキャパシタを作成してC-V特性を測定し、ゲート酸化膜の厚さのフィッティング値と実際のチャネルドーピング濃度を計算する。そして、求めたゲート酸化膜の厚さとチャネルドーピング濃度にしたがって、TCADシミュレーションにおいてゲート酸化膜の厚さとチャネルドーピング濃度を校正してMOSキャパシタのCV特性曲線を算出する。このような処理によって、TCADシミュレーションによってMOSキャパシタのC-V特性曲線の測定結果を再現できるようにする。
【0005】
また、例えば、SRAM型FPGAシングルイベントアップセット効果シミュレーション方法が開示されている(特許文献3)。当該文献では、半導体装置の設計及びプロセスパラメータを設定し、モデリングツールを用いて半導体装置の三次元幾何学的形状を構築し、ドープ領域及びドーピング濃度等をI-V特性曲線に従って校正し、さらに入射重イオンの特性を取得し、TCADシミュレーション方法によってシングルイベント効果シミュレーションが実行される。そして、シミュレーション結果に応じて、エネルギーの異なる粒子を選択してシミュレーションを繰り返す。
【先行技術文献】
【特許文献】
【0006】
中国特許出願公開第102184879号明細書
中国特許出願公開第107622959号明細書
中国特許出願公開第103577643号明細書
【発明の概要】
【発明が解決しようとする課題】
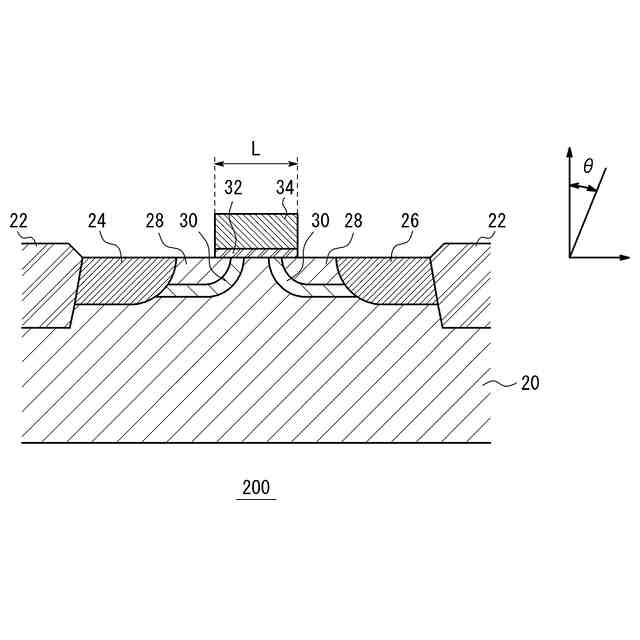
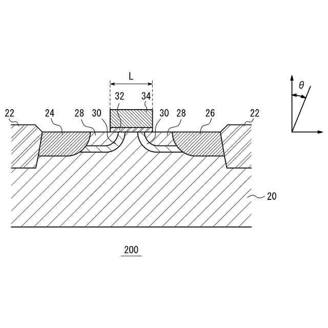
【0007】
ところで、図9に示すようなMOSFETのチャネル長Lと閾値電圧Vtとの関係(Vt-L特性)は、図10に示すように、LDD構造におけるLDDイオン注入領域(エクステンション)EXとHaloイオン注入領域(ハロー)HAの横方向拡散の影響を受ける。従来のTCADにおける校正では、MOSFETのエクステンションEX及びハローHAの深さ方向の不純物濃度を二次イオン質量分析(SIMS)で測定し、当該測定で得られた不純物濃度プロファイルに基づいて行われていた。
【0008】
しかしながら、二次イオン質量分析(SIMS)では、MOSFETの深さ方向の不純物プロファイルを解析できるが、チャネル長方向に沿った横方向の不純物プロファイルを測定することが困難である。また、エネルギー分散型X線分光法(EDS)では低濃度の不純物領域において測定強度が得られず、走査型静電容量顕微鏡法(SCM)や走査型マイクロ波顕微鏡法(SMM)では高い空間分解能が得られないという問題がある。そして、これらの測定データによる校正だけではシミュレーションによって実際のVt-L特性を再現することは難しい。さらに、シミュレーションにおいて不純物の拡散係数を単純に変更するだけでは、横方向のみならず深さ方向の不純物プロファイルが変化してしまうために正確な結果が得られないという問題がある。
【課題を解決するための手段】
【0009】
本発明の1つの態様は、プロセスシミュレータを用いたMOS型の半導体装置設計方法であって、ゲート構造の少なくとも一方の側に設けられるLDDイオン注入領域とHaloイオン注入領域について、前記ゲート構造のチャネル長方向に沿ったドーパントの横方向モーメントを変更しつつ前記LDDイオン注入領域及び前記Haloイオン注入領域におけるドーパント濃度分布をプロセスシミュレーションするステップを備えることを特徴とする半導体装置設計方法である。
【0010】
ここで、前記プロセスシミュレーションするステップで得られた前記LDDイオン注入領域及び前記Haloイオン注入領域におけるドーパント濃度分布を適用したMOS型の半導体装置の特性をデバイスシミュレーションするステップをさらに備え、前記デバイスシミュレータするステップで得られた特性がMOS型の半導体装置において実際に測定された特性に近づくように前記横方向モーメントを変更しつつ前記プロセスシミュレーションするステップを実行することが好適である。
(【0011】以降は省略されています)
この特許をJ-PlatPat(特許庁公式サイト)で参照する
関連特許
個人
半導体装置
1か月前
個人
積和演算用集積回路
11日前
サンケン電気株式会社
半導体装置
10日前
東レ株式会社
太陽電池モジュール
1か月前
旭化成株式会社
発光素子
20日前
エイブリック株式会社
縦型ホール素子
1か月前
エイブリック株式会社
縦型ホール素子
1か月前
日機装株式会社
半導体発光装置
5日前
ローム株式会社
抵抗チップ
25日前
富士通株式会社
半導体装置
1か月前
ローム株式会社
半導体装置
1か月前
三菱電機株式会社
半導体装置
1か月前
株式会社半導体エネルギー研究所
表示装置
1か月前
三菱電機株式会社
半導体装置
19日前
富士電機株式会社
半導体装置
1か月前
日亜化学工業株式会社
発光装置
1か月前
TDK株式会社
圧電素子
1か月前
日亜化学工業株式会社
発光装置
20日前
ローム株式会社
半導体集積回路
19日前
日亜化学工業株式会社
発光素子
1か月前
ローム株式会社
半導体装置
10日前
株式会社半導体エネルギー研究所
発光デバイス
18日前
ローム株式会社
窒化物半導体装置
1か月前
株式会社半導体エネルギー研究所
発光デバイス
5日前
ローム株式会社
窒化物半導体装置
25日前
富士電機株式会社
半導体装置の製造方法
1か月前
ローム株式会社
半導体装置
26日前
ローム株式会社
半導体装置
24日前
株式会社カネカ
太陽電池モジュール
1か月前
日亜化学工業株式会社
発光素子
10日前
沖電気工業株式会社
発光装置及び表示装置
1か月前
大日本印刷株式会社
太陽電池
27日前
株式会社MARUWA
発光装置及び照明器具
1か月前
日本電気株式会社
超伝導量子回路装置
1か月前
サンケン電気株式会社
発光装置
1か月前
日亜化学工業株式会社
発光素子
10日前
続きを見る
他の特許を見る