TOP
|
特許
|
意匠
|
商標
特許ウォッチ
Twitter
他の特許を見る
10個以上の画像は省略されています。
公開番号
2025138823
公報種別
公開特許公報(A)
公開日
2025-09-25
出願番号
2025112703,2024019880
出願日
2025-07-03,2019-11-14
発明の名称
注射デバイスのための補助デバイス
出願人
サノフイ
,
SANOFI
代理人
個人
,
個人
主分類
A61M
5/315 20060101AFI20250917BHJP(医学または獣医学;衛生学)
要約
【課題】注射デバイスの状態および/または使用に関係する情報を測定することが可能なデータ収集デバイスを提供する。
【解決手段】注射デバイスは、その近位端に軸周りで回転可能に取り付けられた調節ダイヤルを有し、補助デバイスは、調節ダイヤルに取り付け可能である。補助デバイスは、補助デバイスを注射デバイスに取り付けたとき調節ダイヤルの上に位置するように適用されたスリーブを含む。補助デバイスは、軸方向取付部材をさらに含む。軸方向取付部材は、スリーブへの調節ダイヤルの挿入により、スリーブ内への調節ダイヤルの軸方向運動を可能にする初期位置から、調節ダイヤルに係合して補助デバイスを調節ダイヤルに軸方向に取り付ける係合位置へと動くように配置される。
【選択図】図3
特許請求の範囲
【請求項1】
近位端に軸周りで回転可能に取り付けられた調節ダイヤルを含む注射デバイスのための補助デバイスであって:
該補助デバイスを前記注射デバイスに取り付けたとき前記調節ダイヤルの上に位置するように適用されたスリーブと;
該スリーブへの前記調節ダイヤルの挿入により、スリーブ内への前記調節ダイヤルの軸方向運動を可能にする初期位置から、前記調節ダイヤルに係合して補助デバイスを前記調節ダイヤルに取り付ける係合位置へと動くように配置された軸方向取付部材と
を含む、前記補助デバイス。
続きを表示(約 890 文字)
【請求項2】
軸方向取付部材は、係合位置ではスリーブに対する調節ダイヤルの軸方向運動が制限されるように調節ダイヤルに係合するように適用される、請求項1に記載の補助デバイス。
【請求項3】
補助デバイスの回転が調節ダイヤルの回転を引き起こすようにスリーブを前記調節ダイヤルに回転不能に連結するように配置された回転方向連結部材をさらに含む、請求項1または2に記載の補助デバイス。
【請求項4】
軸方向取付部材および回転方向連結部材は、補助デバイスの単一構成要素である、請求項3に記載の補助デバイス。
【請求項5】
前記調節ダイヤルは、前記調節ダイヤルから突出した1つまたはそれ以上の軸方向に延びる形成部を含み、回転方向連結部材は、スリーブを前記調節ダイヤルに回転不能に連結するために前記1つまたはそれ以上の形成部に係合するように配置された1つまたはそれ以上の溝を含む、請求項3または4に記載の補助デバイス。
【請求項6】
1つまたはそれ以上の溝は、補助デバイスが様々な注射デバイスに使用できるように、異なるサイズおよび/または形状を有する形成部を受けるように適用される、請求項5に記載の補助デバイス。
【請求項7】
軸方向取付部材は、前記調節ダイヤルの遠位縁に係合するように配置される、請求項1~6のいずれか1項に記載の補助デバイス。
【請求項8】
軸方向取付部材は、複数のアームを有するクランプを含み、初期位置では、前記調節ダイヤルはアーム間を動くことができ、係合位置では、アームは軸方向の取り付けのために前記調節ダイヤルに押し付けられる、請求項1~7のいずれか1項に記載の補助デバイス。
【請求項9】
複数のアームは、ベースから突出している、請求項8に記載の補助デバイス。
【請求項10】
ベースは、ベースリングを含み、複数のアームは、該ベースリングから突出している、請求項9に記載の補助デバイス。
(【請求項11】以降は省略されています)
発明の詳細な説明
【技術分野】
【0001】
本開示は、注射デバイスのための補助デバイス、たとえば注射デバイスの調節ダイヤルの上に取り付けるデータ収集デバイスに関する。
続きを表示(約 1,700 文字)
【背景技術】
【0002】
薬剤の注射による定期的な治療を必要とする様々な疾患が存在する。そのような注射は、医療従事者または患者自身によって適用される注射デバイスを使用して実行することができる。一例として、1型および2型の糖尿病は、たとえば1日1回または数回のインスリン用量の注射によって、患者自身が治療することができる。たとえば、充填済みの使い捨てインスリンペンを注射デバイスとして使用することができる。あるいは、再使用可能なペンを使用することもできる。再使用可能なペンでは、空の薬剤カートリッジを新しいものに交換することが可能である。いずれのペンにも1組の一方向針が付随しており、これらの針は使用前に毎回交換される。次いでたとえば、調節ダイヤルを回して、インスリンペンの用量窓またはディスプレイから実際の用量を観察することによって、注射予定のインスリン用量をインスリンペンで手動で選択することができる。次いで好適な皮膚部分に針を挿入し、インスリンペンの注射ボタンを押すことによって用量が注射される。
【0003】
インスリン注射を監視すること、たとえばインスリンペンの誤った取り扱いを防止すること、またはすでに適用された用量を追跡することが可能になるように、たとえば注射済みインスリン用量の情報など、注射デバイスの状態および/または使用に関係する情報を測定することが望ましい。
【発明の概要】
【課題を解決するための手段】
【0004】
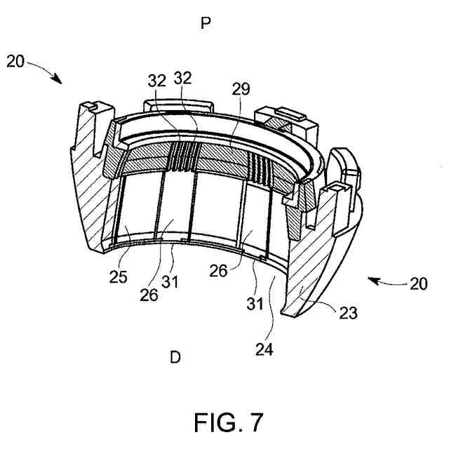
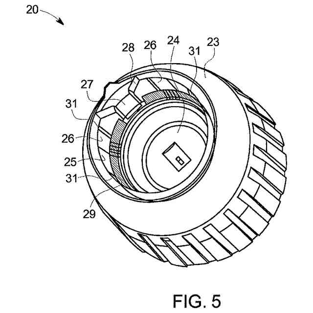
本開示の第1の態様は、近位端に軸周りで回転可能に取り付けられた調節ダイヤルを含む注射デバイスのための補助デバイスであって:
補助デバイスを前記注射デバイスに取り付けたとき前記調節ダイヤルの上に位置するように適用されたスリーブと;
スリーブへの前記調節ダイヤルの挿入により、スリーブ内への前記調節ダイヤルの軸方向運動を可能にする初期位置から、前記調節ダイヤルに係合して補助デバイスを前記調節ダイヤルに取り付ける係合位置へと動くように配置された軸方向取付部材と
を含む、補助デバイスを提供する。
【0005】
いくつかの実施形態では、軸方向取付部材は、係合位置ではスリーブに対する調節ダイヤルの軸方向運動が制限されるように調節ダイヤルに係合するように適用することができる。
【0006】
補助デバイスは、補助デバイスの回転が調節ダイヤルの回転を引き起こすようにスリーブを前記調節ダイヤルに回転不能に連結するように配置された回転方向連結部材をさらに含むことができる。軸方向取付部材および回転方向連結部材は、補助デバイスの異なる機能であってもよいが;いくつかの実施形態では、軸方向取付部材および回転方向連結部材は、単一構成要素として形成することができることを理解されよう。
【0007】
調節ダイヤルは、前記調節ダイヤルから突出した1つまたはそれ以上の軸方向に延びる形成部を含むことができ、回転方向連結部材は、スリーブを前記調節ダイヤルに回転不能に連結するために前記1つまたはそれ以上の形成部に係合するように配置された1つまたはそれ以上の溝を含むことができる。
【0008】
1つまたはそれ以上の溝は、補助デバイスが様々な注射デバイスに使用できるように、異なるサイズおよび/または形状を有する形成部を受けるように適用される。有利には、軸方向取付部材が補助デバイスを調節ダイヤル上に保持するので、溝は、様々な調節ダイヤルの形成部に密着しなくてよく回転不能な連結だけを提供する。
【0009】
軸方向取付部材は、前記調節ダイヤルの遠位縁に係合するように配置することができる。いくつかの例では、調節ダイヤルの遠位縁は、調節ダイヤルの1つまたはそれ以上の形成部の遠位縁を含む。
【0010】
いくつかの例では、軸方向取付部材は、複数のアームを有するクランプを含むことができ、初期位置では、前記調節ダイヤルはアーム間を動くことができ、係合位置では、アームは軸方向の取り付けのために前記調節ダイヤルに押し付けられる。
(【0011】以降は省略されています)
この特許をJ-PlatPat(特許庁公式サイト)で参照する
関連特許
サノフイ
薬物送達デバイス
2か月前
サノフイ
投与量測定システム
5か月前
サノフイ
投与量検知用の電子機器
4か月前
サノフィ-アベンティス・ユー・エス・エルエルシー
多発性骨髄腫の処置方法
1か月前
サノフイ
埋込可能なグルコースモニタ
3か月前
サノフイ
注射デバイスのための補助デバイス
1か月前
サノフイ
安定な低粘度抗体製剤およびその使用
5か月前
サノフィ・バイオテクノロジー
ヒト化抗IL-1R3抗体及び使用方法
2か月前
サノフィ-アベンティス・ユー・エス・エルエルシー
皮下投与のための抗CD38抗体の製剤
1か月前
サノフイ
ブラジキニンB1受容体リガンドに対する抗体
2か月前
サノフイ
注射デバイスに取り付けるための補助デバイス
4か月前
サノフイ
抗原性エプスタインバーウイルスポリペプチド
12日前
サノフィ パスツール インコーポレイティッド
多価肺炎球菌多糖体-タンパク質複合体組成物
2か月前
サノフイ
ヒトのがんを治療するための特異的抗CD38抗体
1か月前
サノフイ
ヒト化抗CXCR5抗体を使用するループスの処置
5か月前
サノフイ
GLP-1Rアゴニスト/FGF21融合タンパク質
5日前
サノフイ
機械学習システムによって低血糖の率を予測すること
1か月前
サノフィ-アベンティス・ユー・エス・エルエルシー
抗CD38抗体を投与して多発性骨髄腫を処置する方法
13日前
サノフイ
低減された活性を有するGLP-1Rアゴニストペプチド
5日前
サノフイ
既存薬物を再開発するためのデータ処理システムおよび方法
3か月前
サノフイ
7H-ベンゾ[7]アヌレン-2-カルボン酸誘導体の結晶形態
6日前
サノフィ・バイオテクノロジー
IL-4R拮抗薬の投与により喘息を処置または予防するための方法
2か月前
サノフイ
CD38およびTGF-ベータを標的とする、がんに対する組合せ療法
5か月前
サノフィ-アベンティス・ドイチュラント・ゲゼルシャフト・ミット・ベシュレンクテル・ハフツング
医療デバイスで実行可能な作動動作を検出するためのデバイス及び方法
2か月前
サノフィ・バイオテクノロジー
関節リウマチを有する対象における疼痛を治療するための組成物および方法
2か月前
サノフィ パスツール インコーポレイテッド
多価肺炎球菌多糖体-タンパク質コンジュゲート組成物およびその使用方法
6日前
サノフイ
薬物送達デバイスのためのカートリッジアセンブリおよび薬物送達デバイス
1か月前
サノフィ・バイオテクノロジー
IL-33アンタゴニストを投与することによりCOPDを治療するための方法
19日前
サノフィ-アベンティス・ユー・エス・エルエルシー
再発性および/または不応性の多発性骨髄腫の処置のためのイサツキシマブの使用
1か月前
サノフィ・バイオテクノロジー
IL-33アンタゴニストを投与することにより喘息を治療するまたは予防するための方法
3か月前
サノフィ ワクチン テクノロジーズ エス.エー.エス.
微細藻類における異種ポリペプチド、微細藻類細胞外体、組成物の産生、ならびにそれらの作製および使用の方法
3か月前
アブリンクス エン.ヴェー.
IL-13およびTSLPを標的化する免疫グロブリン単一可変ドメインを含むポリペプチド
5か月前
アブリンクス エン.ヴェー.
TNFαおよびOX40Lを標的とする免疫グロブリン単一可変ドメインを含むポリペプチド
27日前
ニューロクライン バイオサイエンシーズ,インコーポレイテッド
4-(2-クロロ-4-メトキシ-5-メチルフェニル)-N-[(1S)-2-シクロプロピル-1-(3-フルオロ-4-メチルフェニル)エチル]-5-メチル-N-プロパ-2-イニル-1,3-チアゾール-2-アミンの調製のための合成法
1か月前
東レ株式会社
ポリエステルフィルム
1か月前
三菱瓦斯化学株式会社
樹脂組成物、フィルム、偏光シート、および、サングラス
2か月前
続きを見る
他の特許を見る