TOP
|
特許
|
意匠
|
商標
特許ウォッチ
Twitter
他の特許を見る
公開番号
2025104359
公報種別
公開特許公報(A)
公開日
2025-07-09
出願番号
2025062155,2023101312
出願日
2025-04-04,2018-06-05
発明の名称
投与量検知用の電子機器
出願人
サノフイ
,
SANOFI
代理人
個人
,
個人
主分類
A61M
5/168 20060101AFI20250702BHJP(医学または獣医学;衛生学)
要約
【課題】送達デバイスのカートリッジ内の薬剤の投与量を決定するための検知システムを含む薬物注射器を提供する。
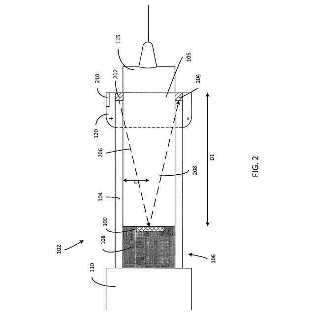
【解決手段】注射デバイスは、ある体積の流体を保持するように構成され、近位端、および流体がそこを通って投薬される遠位端を有するカートリッジと、カートリッジ内に配置され、近位端から遠位端に向かって動き、流体がカートリッジの遠位端を通して投薬されるように構成されたストッパと、カートリッジの遠位端に配置された電子デバイスであって、信号をストッパに向けて伝送するように構成されたエミッタ、ストッパからの信号の反射を受けるように構成された受信機、およびカートリッジ内のストッパの位置に関連するデータを無線伝送するように構成されたコントローラを含む電子デバイスとを含む。
【選択図】図2
特許請求の範囲
【請求項1】
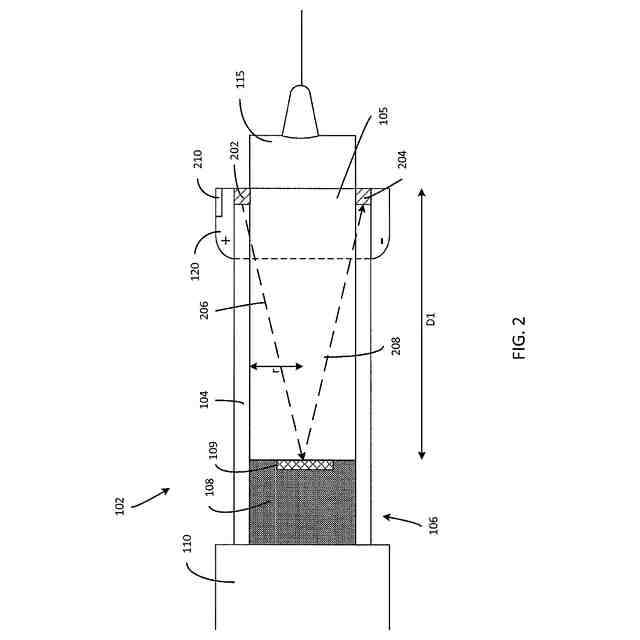
注射デバイス(100)であって:
ある体積の流体を保持するように構成され、近位端(106)、および流体がそこを通って投薬される遠位端(105)を有するカートリッジ(102)と;
該カートリッジ(102)内に配置され、近位端(106)から遠位端(105)へ動き、流体がカートリッジ(102)の遠位端(105)を通して投薬されるように構成されたストッパ(108)と;
カートリッジ(102)の遠位端(105)に配置された電子デバイス(120)と
を含み、該電子デバイスは、
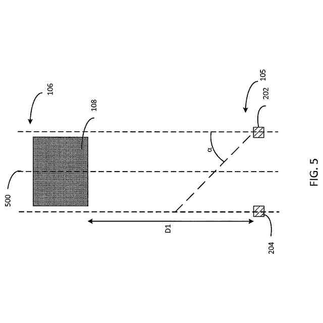
信号(206)をストッパ(108)に向けて伝送するように構成されたエミッタ(202)、
ストッパ(108)からの信号(206)の反射(208)を受けるように構成された受信機(204)、および
カートリッジ(102)内のストッパ(108)の位置に関連するデータを無線伝送するように構成されたコントローラ(210)
を含む、前記注射デバイス。
続きを表示(約 760 文字)
【請求項2】
カートリッジ(102)は、信号(206)、および信号(206)の反射(208)を通過させる材料を含む、請求項1に記載の注射デバイス(100)。
【請求項3】
材料は透明な材料を含む、請求項2に記載の注射デバイス(100)。
【請求項4】
エミッタ(202)は音響デバイスであり、信号(206)は音響波を含む、請求項1~3のいずれか1項に記載の注射デバイス(100)。
【請求項5】
エミッタ(202)は超音波エミッタであり、信号(206)は超音波を含む、請求項1~4のいずれか1項に記載の注射デバイス(100)。
【請求項6】
エミッタ(202)は光エミッタであり、信号(206)は光波を含む、請求項1~5のいずれか1項に記載の注射デバイス(100)。
【請求項7】
電子デバイス(120)は、注射デバイス(100)のカートリッジハウジング(104)と一体化される、請求項1~6のいずれか1項に記載の注射デバイス(100)。
【請求項8】
電子デバイス(120)は、注射デバイス(100)のカートリッジハウジング(104)から取り外し可能である、請求項1~6のいずれか1項に記載の注射デバイス(100)。
【請求項9】
電子デバイス(120)は、注射デバイスのカートリッジハウジング(104)にクリップ留めされるように構成される、請求項8に記載の注射デバイス(100)。
【請求項10】
電子デバイス(120)は、電子デバイス(120)に電気接続可能なバッテリ(412)を含む、請求項1~9のいずれか1項に記載の注射デバイス(100)。
(【請求項11】以降は省略されています)
発明の詳細な説明
【技術分野】
【0001】
本開示は、注射デバイスに関し、より詳細には、投与予定の薬剤の投与量を検知するための注射デバイスの電子部材に関する。
続きを表示(約 2,100 文字)
【背景技術】
【0002】
薬剤の注射による治療を必要とする、様々な疾病が存在する。そうした注射は、医療従事者または患者自身によって適用される注射デバイスを用いて行うことができる。一例として、1型および2型の糖尿病は、たとえば、1日に1回または数回のインスリン用量の注射により、患者自身で治療することができる。たとえば、注射デバイスとして、充填済みの使い捨てのインスリンペンまたは自動注射器を使用することができる。あるいは、再利用可能なペンまたは自動注射器を使用することもできる。再利用可能なペンまたは自動注射器により、空の薬剤カートリッジを新しい薬剤カートリッジで交換することが可能になる。ペンまたは自動注射器のいずれのタイプも、毎使用前に交換される1組の1回使い切りの針を備えることができる。
【0003】
特に、送達デバイスのカートリッジ内の薬剤の投与量を決定するための検知システムを含む薬物注射器について説明する。
【発明の概要】
【課題を解決するための手段】
【0004】
一態様において、注射デバイスは、ある体積の流体を保持するように構成されたカートリッジを含む。カートリッジは、近位端、および流体がそこを通って投薬される遠位端を有する。注射デバイスは、カートリッジ内に配置され、近位端から遠位端へ動き、流体がカートリッジの遠位端を通して投薬されるように構成されたストッパも含む。注射デバイスは、カートリッジ、あるいはカートリッジハウジングの遠位端に配置された電子デバイスも含む。電子デバイスは、信号をストッパに向けて伝送するように構成されたエミッタ、およびストッパからの信号の反射を受けるように構成された受信機を含む。電子デバイスは、カートリッジ内のストッパの位置に関連するデータを無線伝送するように構成されたコントローラも含む。
【0005】
添付図面および以下の説明において、1つまたはそれ以上の実施形態を詳しく説明する。他の機能、対象、および利点は、説明および図面、ならびに特許請求の範囲から明らかになるであろう。
【図面の簡単な説明】
【0006】
電子測定デバイスを含む注射デバイスの一例の分解図である。
電子測定デバイスを含む注射デバイスの一例の断面図である。
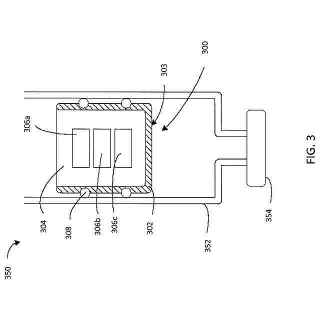
カートリッジ内に配置され、埋め込まれた電子デバイスを含むストッパの一例の断面図である。
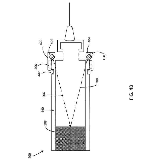
バッテリが注射器のハウジング内に配置された電子測定デバイスを含む、注射デバイスの一例の断面図である。
取り外し可能な電子測定デバイスを備える注射デバイスアセンブリの一例の断面図である。
エミッタ、受信機、およびストッパの相対的な位置を示す概略図である。
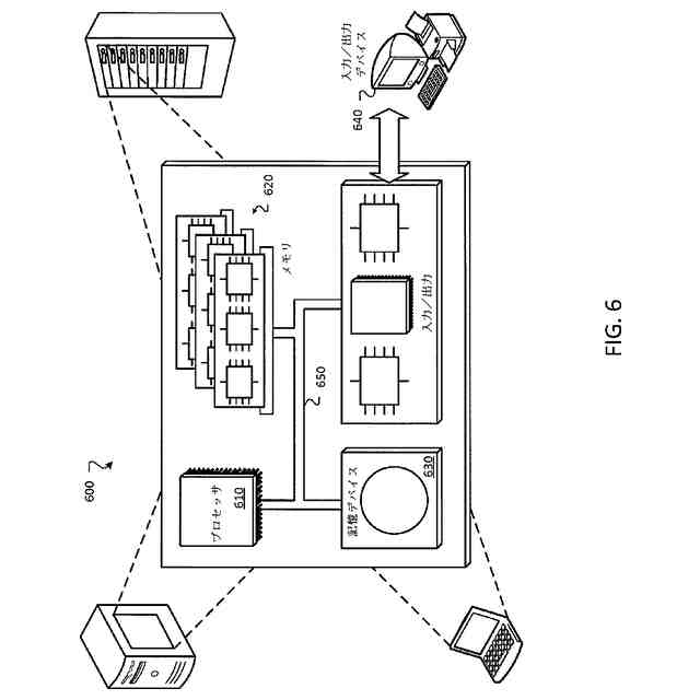
例示的なコンピュータシステムのブロック図である。
【発明を実施するための形態】
【0007】
様々な図において、同様の参照記号は同様の要素を指す。
【0008】
薬物送達デバイスは、送達デバイスのカートリッジ内の薬剤の投与量を決定するための検知システムを含むことが可能な電子デバイスを含むことができる。検知システムは、エミッタおよび受信機を含むことができ、エミッタは、信号をカートリッジ内のストッパではね返すように構成され、受信機は、信号の反射を受けるように構成される。反射された信号のパラメータに基づき、プロセッサが、カートリッジ内のストッパの位置を決定することができる。カートリッジの幾何形状に基づき、プロセッサは、ストッパの位置に応じて投薬された薬剤の投与量を計算することができる。
【0009】
本明細書において説明される主題は、主に注射デバイス(たとえば、インスリン注射デバイス)などの薬物送達デバイスを参照して記載される。しかしながら、本明細書において説明されるシステムおよび技術は、そうした用途に限定されず、他の薬剤を放出する注射デバイス、または他のタイプの医療デバイス(たとえば、ポンプ)でも同様に適切に導入することができる。
【0010】
「薬物送達デバイス」という用語は、ある体積の薬物をヒトまたは動物の体内に投薬するように構成された任意のタイプのデバイスまたはシステムを包含するものとする。体積は、典型的には約0.5mlから約10mlの範囲とすることができる。限定されないが、薬物送達デバイスは、シリンジ、針安全システム、ペン型注射器、自動注射器、大容量デバイス(LVD:large-volume device)、ポンプ、かん流システム、または薬物の皮下、筋肉内、もしくは血管内の送達のために構成された他のデバイスを含むことができる。そうしたデバイスは、針を含むことがしばしばであり、針は、小さいゲージの針(たとえば、約24ゲージより大きく、27、29、または31ゲージを含む)を含むことができる。
(【0011】以降は省略されています)
この特許をJ-PlatPat(特許庁公式サイト)で参照する
関連特許
サノフイ
薬物送達デバイス
2か月前
サノフイ
投与量測定システム
5か月前
サノフイ
投与量検知用の電子機器
4か月前
サノフィ-アベンティス・ユー・エス・エルエルシー
多発性骨髄腫の処置方法
1か月前
サノフイ
埋込可能なグルコースモニタ
3か月前
サノフイ
注射デバイスのための補助デバイス
1か月前
サノフイ
安定な低粘度抗体製剤およびその使用
5か月前
サノフィ・バイオテクノロジー
ヒト化抗IL-1R3抗体及び使用方法
2か月前
サノフィ-アベンティス・ユー・エス・エルエルシー
皮下投与のための抗CD38抗体の製剤
1か月前
サノフイ
ブラジキニンB1受容体リガンドに対する抗体
2か月前
サノフイ
注射デバイスに取り付けるための補助デバイス
4か月前
サノフイ
抗原性エプスタインバーウイルスポリペプチド
13日前
サノフィ パスツール インコーポレイティッド
多価肺炎球菌多糖体-タンパク質複合体組成物
2か月前
サノフイ
ヒトのがんを治療するための特異的抗CD38抗体
1か月前
サノフイ
ヒト化抗CXCR5抗体を使用するループスの処置
5か月前
サノフイ
GLP-1Rアゴニスト/FGF21融合タンパク質
6日前
サノフイ
機械学習システムによって低血糖の率を予測すること
1か月前
サノフィ-アベンティス・ユー・エス・エルエルシー
抗CD38抗体を投与して多発性骨髄腫を処置する方法
14日前
サノフイ
低減された活性を有するGLP-1Rアゴニストペプチド
6日前
サノフイ
既存薬物を再開発するためのデータ処理システムおよび方法
3か月前
サノフイ
7H-ベンゾ[7]アヌレン-2-カルボン酸誘導体の結晶形態
7日前
サノフィ・バイオテクノロジー
IL-4R拮抗薬の投与により喘息を処置または予防するための方法
2か月前
サノフイ
CD38およびTGF-ベータを標的とする、がんに対する組合せ療法
5か月前
サノフィ-アベンティス・ドイチュラント・ゲゼルシャフト・ミット・ベシュレンクテル・ハフツング
医療デバイスで実行可能な作動動作を検出するためのデバイス及び方法
2か月前
サノフィ・バイオテクノロジー
関節リウマチを有する対象における疼痛を治療するための組成物および方法
2か月前
サノフィ パスツール インコーポレイテッド
多価肺炎球菌多糖体-タンパク質コンジュゲート組成物およびその使用方法
7日前
サノフイ
薬物送達デバイスのためのカートリッジアセンブリおよび薬物送達デバイス
1か月前
サノフィ・バイオテクノロジー
IL-33アンタゴニストを投与することによりCOPDを治療するための方法
20日前
サノフィ-アベンティス・ユー・エス・エルエルシー
再発性および/または不応性の多発性骨髄腫の処置のためのイサツキシマブの使用
1か月前
サノフィ・バイオテクノロジー
IL-33アンタゴニストを投与することにより喘息を治療するまたは予防するための方法
3か月前
サノフィ ワクチン テクノロジーズ エス.エー.エス.
微細藻類における異種ポリペプチド、微細藻類細胞外体、組成物の産生、ならびにそれらの作製および使用の方法
3か月前
アブリンクス エン.ヴェー.
IL-13およびTSLPを標的化する免疫グロブリン単一可変ドメインを含むポリペプチド
5か月前
アブリンクス エン.ヴェー.
TNFαおよびOX40Lを標的とする免疫グロブリン単一可変ドメインを含むポリペプチド
28日前
ニューロクライン バイオサイエンシーズ,インコーポレイテッド
4-(2-クロロ-4-メトキシ-5-メチルフェニル)-N-[(1S)-2-シクロプロピル-1-(3-フルオロ-4-メチルフェニル)エチル]-5-メチル-N-プロパ-2-イニル-1,3-チアゾール-2-アミンの調製のための合成法
1か月前
東レ株式会社
ポリエステルフィルム
1か月前
三菱瓦斯化学株式会社
樹脂組成物、フィルム、偏光シート、および、サングラス
2か月前
続きを見る
他の特許を見る