TOP
|
特許
|
意匠
|
商標
特許ウォッチ
Twitter
他の特許を見る
10個以上の画像は省略されています。
公開番号
2025152504
公報種別
公開特許公報(A)
公開日
2025-10-10
出願番号
2024054401
出願日
2024-03-28
発明の名称
両面導電シート
出願人
住友ベークライト株式会社
代理人
個人
主分類
B32B
25/14 20060101AFI20251002BHJP(積層体)
要約
【課題】シート変形時における導電特性に優れた両面導電シートを提供する。
【解決手段】本発明の両面導電シートは、導電性エラストマーAで構成される下層と、絶縁性エラストマーで構成される中層シートと、導電性エラストマーBで構成される上層と、が、この順番で積層した構造を備える、両面導電シートであって、中層シートを貫通し、下層と上層とを導通する、導電性エラストマーCで構成された導通部を少なくとも一つ以上を備える。
【選択図】図1
特許請求の範囲
【請求項1】
導電性エラストマーAで構成される下層と、
絶縁性エラストマーで構成される中層シートと、
導電性エラストマーBで構成される上層と、が、この順番で積層した構造を備える、両面導電シートであって、
前記中層シートを貫通し、前記下層と前記上層とを導通する、導電性エラストマーCで構成された導通部を少なくとも一つ以上を備える、
両面導電シート。
続きを表示(約 1,000 文字)
【請求項2】
請求項1に記載の両面導電シートであって、
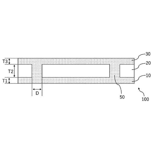
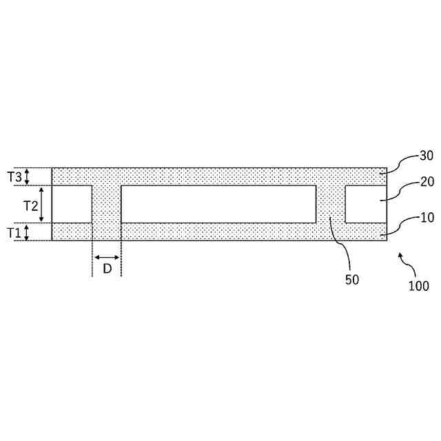
前記下層、前記中間シート、前記上層のそれぞれの、破断伸びをBE1,BE2,BE3とし、引張強度をTS1,TS2,TS3としたとき、
BE2>BE1かつBE2>BE3、および/または、TS2>TS1かつTS2>TS3を満たす、両面導電シート。
【請求項3】
請求項2に記載の両面導電シートであって、
BE2/BE1およびBE2/BE3の少なくとも一方が0.1以上30以下、および/または
TS2/TS1およびTS2/TS3の少なくとも一方が0.1以上20以下を満たす、両面導電シート。
【請求項4】
請求項1に記載の両面導電シートであって、
当該両面導電シートの積層方向における、前記下層、前記中間シート、前記上層のそれぞれの、厚みを、T1,T2,T3としたとき、
T2≧T1かつT2≧T3を満たす、両面導電シート。
【請求項5】
請求項4に記載の両面導電シートであって、
T2/T1およびT2/T3の少なくとも一方が、0.01以上1500以下を満たす、両面導電シート。
【請求項6】
請求項1~4のいずれか一項に記載の両面導電シートであって、
前記中間シートの厚みが、10μm以上5000μm以下、両面導電シート。
【請求項7】
請求項1~4のいずれか一項に記載の両面導電シートであって、
前記導通部の最大幅が、0.1mm以上15mm以下、両面導電シート。
【請求項8】
請求項1~4のいずれか一項に記載の両面導電シートであって、
前記中間シートの厚みをT2とし、前記導通部の最大幅をDとしたとき、D/T2が、0.02以上1500以下である、両面導電シート。
【請求項9】
請求項1~4のいずれか一項に記載の両面導電シートであって、
生体電極用に用いられる、両面導電シート。
【請求項10】
請求項1~4のいずれか一項に記載の両面導電シートであって、
前記導電性エラストマーA、B、およびCの少なくとも一つが、導電性フィラーを含む導電性シリコーンゴムを含む、両面導電シート。
(【請求項11】以降は省略されています)
発明の詳細な説明
【技術分野】
【0001】
本発明は、両面導電シートに関する。
続きを表示(約 2,300 文字)
【背景技術】
【0002】
これまで両面に導電層を有する積層体シートについて様々な開発がなされてきた。この種の技術として、例えば、特許文献1に記載の技術が知られている。特許文献1には、プラスチックフィルムの両面にそれぞれ金属箔を積層してなる帯状積層体シートにスルーホールを形成し、該スルーホールの少なくとも壁面を導電化して、上記両金属箔を導通させてなることを特徴とする太陽電池セル接続用コネクタが記載されている。
【先行技術文献】
【特許文献】
【0003】
特開2010-287378号公報
【発明の概要】
【発明が解決しようとする課題】
【0004】
しかしながら、本発明者が検討した結果、上記特許文献1に記載のような、積層体シートにおいて、シート変形時における導電特性の低下の点で改善の余地があることが判明した。
【課題を解決するための手段】
【0005】
本発明者はさらに検討したところ、絶縁性エラストマーで構成される中層シートの両面に形成された下層、上層、および、中間シート内部に形成された導通部のそれぞれを、すべて導電性エラストマーで構成することにより、伸長などの変形時において両面導電シートの導電特性が低下することを抑制できることを見出し、本発明を完成するに至った。
【0006】
本発明の一態様によれば、以下の両面導電シートが提供される。
1. 導電性エラストマーAで構成される下層と、
絶縁性エラストマーで構成される中層シートと、
導電性エラストマーBで構成される上層と、が、この順番で積層した構造を備える、両面導電シートであって、
前記中層シートを貫通し、前記下層と前記上層とを導通する、導電性エラストマーCで構成された導通部を少なくとも一つ以上を備える、
両面導電シート。
2. 1.に記載の両面導電シートであって、
前記下層、前記中間シート、前記上層のそれぞれの、破断伸びをBE1,BE2,BE3とし、引張強度をTS1,TS2,TS3としたとき、
BE2>BE1かつBE2>BE3、および/または、TS2>TS1かつTS2>TS3を満たす、両面導電シート。
3. 2.に記載の両面導電シートであって、
BE2/BE1およびBE2/BE3の少なくとも一方が0.1以上30以下、および/または
TS2/TS1およびTS2/TS3の少なくとも一方が0.1以上20以下を満たす、両面導電シート。
4. 1.に記載の両面導電シートであって、
当該両面導電シートの積層方向における、前記下層、前記中間シート、前記上層のそれぞれの、厚みを、T1,T2,T3としたとき、
T2≧T1かつT2≧T3を満たす、両面導電シート。
5. 4.に記載の両面導電シートであって、
T2/T1およびT2/T3の少なくとも一方が、1以上100以下を満たす、両面導電シート。
6. 1.~5.のいずれか一つに記載の両面導電シートであって、
前記中間シートの厚みが、10μm以上5000μm以下、両面導電シート。
7. 1.~6.のいずれか一つに記載の両面導電シートであって、
前記導通部の最大幅が、0.1mm以上15mm以下、両面導電シート。
8. 1.~7.のいずれか一つに記載の両面導電シートであって、
BE2/BE1およびBE2/BE3の少なくとも一方が0.1以上30以下、および/または
TS2/TS1およびTS2/TS3の少なくとも一方が0.1以上20以下を満たす、両面導電シート。
9. 1.~8.のいずれか一つに記載の両面導電シートであって、
生体電極用に用いられる、両面導電シート。
10. 1.~9.のいずれか一つに記載の両面導電シートであって、
前記導電性エラストマーA、B、およびCの少なくとも一つが、導電性フィラーを含む導電性シリコーンゴムを含む、両面導電シート。
11. 10.に記載の両面導電シートであって、
前記下層、前記上層、および前記導電部の少なくとも一方における前記導電性フィラーの含有量が、50質量%以上90質量%以下である、両面導電シート。
12. 1.~11.のいずれか一つに記載の両面導電シートであって、
前記絶縁性エラストマーが、絶縁性シリコーンゴムを含む、両面導電シート。
13. 1.~12.のいずれか一つに記載の両面導電シートであって、
前記上層および前記下層が、それぞれ、導電シートまたは配線である、両面導電シート。
【発明の効果】
【0007】
本発明によれば、シート変形時における導電特性に優れた両面導電シートが提供される。
【図面の簡単な説明】
【0008】
本実施形態に係る両面導電シートの構成の一例を模式的に示す断面図である。
【発明を実施するための形態】
【0009】
以下、本発明の実施の形態について、図面を用いて説明する。なお、すべての図面において、同様な構成要素には同様の符号を付し、適宜説明を省略する。また、図は概略図であり、実際の寸法比率とは一致していない。
【0010】
本実施形態の両面導電シートの概要を説明する。
(【0011】以降は省略されています)
この特許をJ-PlatPat(特許庁公式サイト)で参照する
関連特許
東レ株式会社
積層体
5か月前
東レ株式会社
積層体
10か月前
個人
箔転写シート
5か月前
ユニチカ株式会社
積層体
2か月前
ユニチカ株式会社
積層体
9か月前
東レ株式会社
積層構造体
9か月前
東レ株式会社
強化繊維基材
5か月前
東レ株式会社
積層フィルム
7か月前
東レ株式会社
積層フィルム
2か月前
東レ株式会社
強化繊維基材
5か月前
個人
鋼材の塗膜構造
3か月前
東レ株式会社
積層フィルム
4か月前
東レ株式会社
積層フィルム
9か月前
東ソー株式会社
多層フィルム
8か月前
積水樹脂株式会社
磁性シート
7か月前
ユニチカ株式会社
透明シート
3か月前
東レ株式会社
光透過性表皮材
1か月前
東洋紡株式会社
積層包装材料
3か月前
東レ株式会社
加飾用フィルム
1か月前
東ソー株式会社
多層フィルム
5か月前
エスケー化研株式会社
積層体
9か月前
東レ株式会社
無配向フィルム
1か月前
東レ株式会社
多層積層フィルム
2か月前
出光興産株式会社
構造体
13日前
三菱製紙株式会社
不織布積層体
8か月前
大倉工業株式会社
多層フィルム
9か月前
日本発條株式会社
積層体
1か月前
日本バイリーン株式会社
表皮材
4か月前
アイカ工業株式会社
光学積層体
6か月前
東ソー株式会社
蓋材用フィルム
11か月前
個人
加熱調理に利用可能な鉄製品
11か月前
大吉シール株式会社
積層体
1か月前
東洋アルミニウム株式会社
積層体
4か月前
artience株式会社
積層体
5か月前
豊田合成株式会社
樹脂製品
5か月前
東レ株式会社
電子機器筐体用部材
10か月前
続きを見る
他の特許を見る