TOP
|
特許
|
意匠
|
商標
特許ウォッチ
Twitter
他の特許を見る
公開番号
2025167527
公報種別
公開特許公報(A)
公開日
2025-11-07
出願番号
2024072253
出願日
2024-04-26
発明の名称
構造体
出願人
出光興産株式会社
代理人
個人
主分類
B32B
7/023 20190101AFI20251030BHJP(積層体)
要約
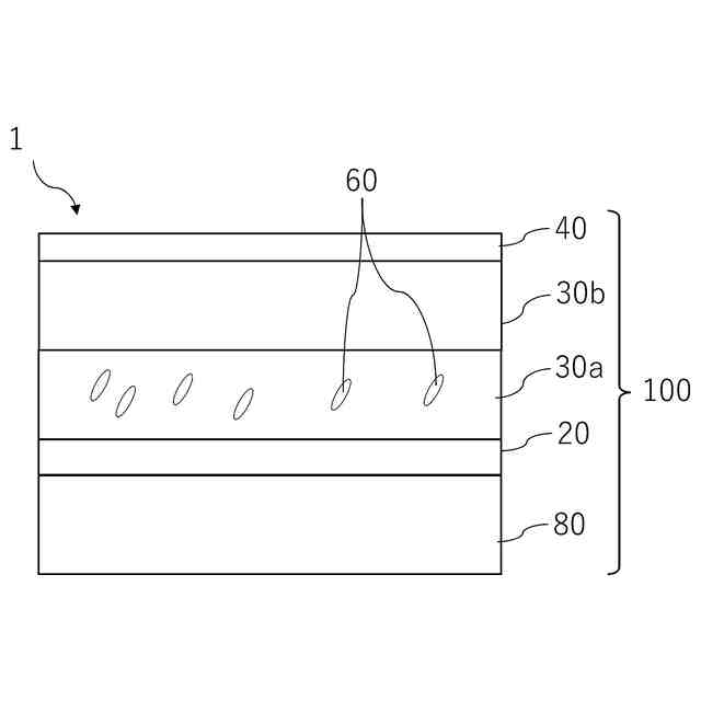
【課題】静電気放電の発生を抑制することができる構造体を提供する。
【解決手段】構造体1は、少なくとも1層の光学冷却層30a,30bと、光学冷却層30a,30bの上の保護層40と、を有する積層体100を含む。保護層40は、導電性材料又は界面活性剤を含む。
【選択図】図1
特許請求の範囲
【請求項1】
少なくとも1層の光学冷却層と、前記光学冷却層の上の保護層と、を有する積層体を含み、
前記保護層は、導電性材料又は界面活性剤を含む、構造体。
続きを表示(約 620 文字)
【請求項2】
前記保護層は、導電性材料により構成されている、請求項1に記載の構造体。
【請求項3】
前記保護層は、導電性フィラー又は界面活性剤が分散された材料により構成されている、請求項1に記載の構造体。
【請求項4】
前記保護層の表面抵抗率は、1×10
12
[Ω/sq]以下である、請求項1から3のいずれか1項に記載の構造体。
【請求項5】
前記積層体を構成する複数の層のうちの少なくとも2層が、導電性フィラー又は界面活性剤を含む、請求項1から4のいずれか1項に記載の構造体。
【請求項6】
前記積層体の絶縁破壊電圧が10kV以下である、請求項1から5のいずれか1項に記載の構造体。
【請求項7】
前記光学冷却層は、アンチストークス発光を示す材料を含む、請求項1から6のいずれか1項に記載の構造体。
【請求項8】
前記光学冷却層は、8μmから14μmの範囲の波長平均で40%以上の放射率を有する、請求項1から7のいずれか1項に記載の構造体。
【請求項9】
前記積層体の厚みは、100μm以上である、請求項1から8のいずれか1項に記載の構造体。
【請求項10】
前記積層体は、金属反射層を含む、請求項1から9のいずれか1項に記載の構造体。
(【請求項11】以降は省略されています)
発明の詳細な説明
【技術分野】
【0001】
本発明は、光学冷却層を含む構造体に関する。
続きを表示(約 1,000 文字)
【背景技術】
【0002】
近年、光学特性を利用した冷却を行う層を含む構造体が開発されている(以下の特許文献1~3参照)。これらの構造体は、光学特性に基づいて冷却を行う層を有する。
【0003】
特許文献1に記載された構造体は、複数の誘電体粒子を含有するポリマー層(光学冷却層)を有する。ポリマー層は、赤外線の波長領域に関して高い放射率を有する。これにより、ポリマー層は、赤外放射(熱輻射)により放射冷却される。
【0004】
特許文献2に記載された構造体は、光の吸収時にアンチストークス発光にて応答する材料を含む光学冷却層を有する。アンチストークス発光は、入射光のエネルギーよりも高いエネルギーの光を放出する現象である。アンチストークス発光により、光学冷却層の電子及び/又は格子振動のエネルギーが低下し、光学冷却層が冷却される。
【0005】
特許文献3に記載された構造体は、赤外放射(熱輻射)による放射冷却を行う光学冷却層と、光の吸収時にアンチストークス発光にて応答する材料を含む光学冷却層と、を有する積層体を含む。
【先行技術文献】
【特許文献】
【0006】
特表2019-515967号公報
国際公開第2018/020503号公報
国際公開第2023/100186号公報
【発明の概要】
【発明が解決しようとする課題】
【0007】
上記のような構造体は、電力を必要としないため、電力の確保が困難なエリアにおいても使用できる。本願の発明者は、このような構造体を、防爆エリアで使用することを検討した。この場合に、発明者は、防爆エリアにおいて静電気放電が構造体で起こらない、又は起こりにくくする必要があることを見出した。
【0008】
したがって、静電気放電の発生を抑制することができる構造体を提供することが望まれる。
【課題を解決するための手段】
【0009】
一態様に係る構造体は、光学冷却層と、前記光学冷却層の上の保護層と、を有する積層体を含む。前記保護層は、導電性材料又は界面活性剤を含む。
【発明の効果】
【0010】
上記態様によれば、静電気放電の発生を抑制することができる構造体を提供することができる。
【図面の簡単な説明】
(【0011】以降は省略されています)
この特許をJ-PlatPat(特許庁公式サイト)で参照する
関連特許
出光興産株式会社
ディーゼル燃料油組成物
4日前
出光興産株式会社
芳香族ポリエーテルの製造方法
26日前
出光興産株式会社
熱硬化性組成物、成形品の製造方法及び硬化物
5日前
東レ株式会社
積層体
6か月前
ユニチカ株式会社
積層体
3か月前
個人
箔転写シート
6か月前
個人
鋼材の塗膜構造
4か月前
東レ株式会社
積層フィルム
5か月前
東レ株式会社
強化繊維基材
6か月前
東レ株式会社
積層フィルム
3か月前
東レ株式会社
強化繊維基材
6か月前
東レ株式会社
積層フィルム
8か月前
東レ株式会社
光透過性表皮材
2か月前
東レ株式会社
加飾用フィルム
2か月前
東ソー株式会社
多層フィルム
6か月前
ユニチカ株式会社
透明シート
3か月前
東レ株式会社
無配向フィルム
1か月前
積水樹脂株式会社
磁性シート
8か月前
東洋紡株式会社
積層包装材料
3か月前
出光興産株式会社
構造体
1か月前
三菱製紙株式会社
不織布積層体
8か月前
日本バイリーン株式会社
表皮材
5か月前
アイカ工業株式会社
光学積層体
7か月前
日本発條株式会社
積層体
2か月前
東レ株式会社
多層積層フィルム
2か月前
豊田合成株式会社
樹脂製品
5か月前
東洋アルミニウム株式会社
積層体
5か月前
東レ株式会社
サンドイッチ構造体
3か月前
artience株式会社
積層体
6か月前
大吉シール株式会社
積層体
2か月前
artience株式会社
積層体
5か月前
AGC株式会社
ガラス構造体
3か月前
アイカ工業株式会社
成形用フィルム
2か月前
アキレス株式会社
壁紙
2か月前
積水樹脂プラメタル株式会社
積層体
1か月前
株式会社ニッカテクノ
転写箔
5か月前
続きを見る
他の特許を見る