TOP
|
特許
|
意匠
|
商標
特許ウォッチ
Twitter
他の特許を見る
10個以上の画像は省略されています。
公開番号
2025140419
公報種別
公開特許公報(A)
公開日
2025-09-29
出願番号
2024039820
出願日
2024-03-14
発明の名称
積層体
出願人
大吉シール株式会社
代理人
個人
主分類
B32B
7/06 20190101AFI20250919BHJP(積層体)
要約
【課題】積層体を有効に利用できる場面を広げる技術を提案する。
【解決手段】積層体は、いずれもシート状の第1部材と第2部材とが積層された積層体であって、前記第1部材は、所定の取付部材と当該積層体とを接続するための接続部を有しており、前記第2部材の少なくとも一部は、前記第1部材に対して剥離可能に構成された剥離部である。
【選択図】図1
特許請求の範囲
【請求項1】
いずれもシート状の第1部材と第2部材とが積層された積層体であって、
前記第1部材は、所定の取付部材と当該積層体とを接続するための接続部を有しており、
前記第2部材の少なくとも一部は、前記第1部材に対して剥離可能に構成された剥離部であり、
前記第2部材における前記第1部材とは反対側を向く面には、周囲よりも厚みがあり前記反対側に飛び出す凸部が形成されている、積層体。
続きを表示(約 340 文字)
【請求項2】
請求項1に記載の積層体であって、
前記第2部材は、前記剥離部と、前記剥離部の周囲に設けられる周辺部と、を有しており、
前記剥離部と前記周辺部との境界には、前記凸部が形成されない領域を有する、積層体。
【請求項3】
請求項1に記載の積層体であって、
前記接続部は、環状形状であって、前記取付部材と係止可能に構成されている、積層体。
【請求項4】
請求項1に記載の積層体であって、
前記接続部は、前記取付部材に対して固定可能な接着層を有する、積層体。
【請求項5】
請求項1に記載の積層体であって、
前記接続部は、前記剥離部とは異なる位置に設けられている、積層体。
発明の詳細な説明
【技術分野】
【0001】
本開示は、シート状の部材を積層して構成された積層体に関する。
続きを表示(約 1,000 文字)
【背景技術】
【0002】
従来、例えばシールのように、積層体からシート状の部材を剥離して使用する製品が様々な用途で用いられている。例えば特許文献1では、印刷により様々なデザインを採用することができる名札シールが提案されている。
【先行技術文献】
【特許文献】
【0003】
特開2009-300609号公報
【発明の概要】
【発明が解決しようとする課題】
【0004】
発明者は、例えば食品などの所定の対象物に積層体を取り付ける際に、直接的に取り付けることが好ましくない場合があること、及び、その場合には所定の取付部材を介して取り付けることが望ましいことを発見した。しかしながら従来の積層体は、このような取付部材を取り付けることが考慮されておらず、積層体が取り付けられる対象が制限される場合があった。
【0005】
本開示の目的は、積層体を有効に利用できる場面を広げる技術を提案することである。
【課題を解決するための手段】
【0006】
本開示の一態様は、いずれもシート状の第1部材と第2部材とが積層された積層体であって、前記第1部材は、所定の取付部材と当該積層体とを接続するための接続部を有しており、前記第2部材の少なくとも一部は、前記第1部材に対して剥離可能に構成された剥離部である。
【0007】
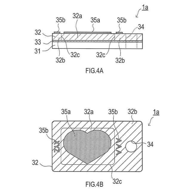
上述した積層体において、前記第2部材における前記第1部材とは反対側を向く面には、周囲よりも厚みがあり前記反対側に飛び出す凸部が形成されている。
【0008】
このように構成された積層体であれば、接続部を介して取付部材を取り付けることができるため、取付部材を介して様々な対象物に取り付けることができ、多くの場面で積層体を有効に利用することができる。また、凸部により手触りや美感を向上させることができる。
【0009】
また、上述した積層体において、第2部材は、前記剥離部と、前記剥離部の周囲に設けられる周辺部と、を有していてもよく、前記剥離部と前記周辺部との境界には前記凸部が形成されない領域を有していてもよい。このような構成であれば、剥離部の外縁部分を強調することができる。
【0010】
なお上述した凸部は、印刷により構成されたものであってもよい。このような構成であれば、凸部の形状の自由度が向上するとともに、美感を容易に高めることができるようになる。
(【0011】以降は省略されています)
この特許をJ-PlatPat(特許庁公式サイト)で参照する
関連特許
東レ株式会社
積層体
4か月前
東レ株式会社
積層体
9か月前
ユニチカ株式会社
積層体
2か月前
個人
箔転写シート
5か月前
東レ株式会社
積層構造体
9か月前
ユニチカ株式会社
積層体
8か月前
東レ株式会社
強化繊維基材
4か月前
東レ株式会社
積層フィルム
1か月前
東レ株式会社
強化繊維基材
4か月前
東レ株式会社
積層フィルム
3か月前
個人
鋼材の塗膜構造
2か月前
東レ株式会社
積層フィルム
7か月前
東レ株式会社
積層フィルム
8か月前
積水樹脂株式会社
磁性シート
7か月前
エスケー化研株式会社
積層体
8か月前
東レ株式会社
無配向フィルム
15日前
東ソー株式会社
多層フィルム
5か月前
東レ株式会社
光透過性表皮材
21日前
東レ株式会社
加飾用フィルム
26日前
東ソー株式会社
多層フィルム
7か月前
ユニチカ株式会社
透明シート
2か月前
東洋紡株式会社
積層包装材料
2か月前
東レ株式会社
多層積層フィルム
1か月前
日本バイリーン株式会社
表皮材
3か月前
大倉工業株式会社
多層フィルム
8か月前
日本発條株式会社
積層体
1か月前
アイカ工業株式会社
光学積層体
6か月前
東ソー株式会社
蓋材用フィルム
11か月前
三菱製紙株式会社
不織布積層体
7か月前
東洋アルミニウム株式会社
積層体
4か月前
豊田合成株式会社
樹脂製品
4か月前
東レ株式会社
電子機器筐体用部材
9か月前
東レ株式会社
サンドイッチ構造体
1か月前
artience株式会社
積層体
4か月前
個人
加熱調理に利用可能な鉄製品
10か月前
artience株式会社
積層体
5か月前
続きを見る
他の特許を見る