TOP
|
特許
|
意匠
|
商標
特許ウォッチ
Twitter
他の特許を見る
10個以上の画像は省略されています。
公開番号
2025150286
公報種別
公開特許公報(A)
公開日
2025-10-09
出願番号
2024051094
出願日
2024-03-27
発明の名称
電力変換器の制御装置、プログラム及び電力変換器の制御方法
出願人
株式会社SOKEN
,
株式会社デンソー
代理人
個人
,
個人
,
個人
,
個人
,
個人
主分類
H02P
21/05 20060101AFI20251002BHJP(電力の発電,変換,配電)
要約
【課題】回転電機を駆動しつつ、昇温対象を昇温させることができる電力変換器の制御装置、プログラム及び電力変換器の制御方法を提供する。
【解決手段】制御装置60は、昇温要求があると判定された場合、昇温要求がないと判定される場合よりもU,V,W相巻線24U,24V,24Wに流す電流ベクトルの大きさを大きくする昇温制御を行うスイッチ制御部を備える。スイッチ制御部は、昇温制御とともに、回転電機20の発生トルクを指令トルクに制御すべく、各スイッチSUH,SVH,SWH,SUL,SVL,SWLのスイッチング制御を行う。また、スイッチ制御部は、昇温制御において、回転電機20のトルクリプルがリプル許容値よりも大きいと判定した場合、dq座標系のq軸と前記電機子巻線に流す電流ベクトルとのなす角度の大きさを小さくすべくロータ21の磁束を小さくするリプル抑制処理を行う。
【選択図】 図1
特許請求の範囲
【請求項1】
蓄電部(10)と、
複数相の電機子巻線(24U~24W)及びロータ(21)を有する回転電機(20)と、
前記蓄電部及び前記電機子巻線を電気的に接続し、上,下アームスイッチ(SUH~SWL)を有する電力変換器(30)と、
を備えるシステムに適用される電力変換器の制御装置(60)において、
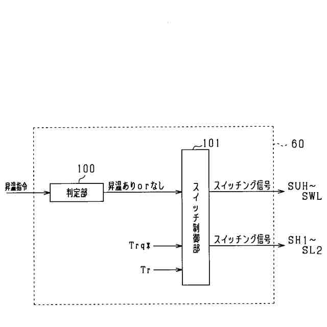
昇温対象部(10)の昇温要求があるか否かを判定する判定部(100)と、
前記昇温要求があると判定された場合、前記昇温要求がないと判定される場合よりも前記電機子巻線に流す電流ベクトルの大きさを大きくする昇温制御を行うとともに、前記回転電機の発生トルクを指令トルク(Trq*)に制御すべく、前記上,下アームスイッチのスイッチング制御を行うスイッチ制御部(101)と、
を備え、
前記スイッチ制御部は、前記昇温制御において、前記回転電機のトルクリプルが閾値よりも大きいと判定した場合、dq座標系のq軸と前記電機子巻線に流す電流ベクトルとのなす角度の大きさを小さくすべく前記ロータの磁束を小さくするリプル抑制処理を行う、電力変換器の制御装置。
続きを表示(約 1,900 文字)
【請求項2】
前記電力変換器は、第1電力変換器であり、
前記回転電機は、界磁巻線(22)を有し、
前記システムは、前記蓄電部及び前記界磁巻線を電気的に接続する第2電力変換器(40)を備え、
前記スイッチ制御部は、
前記界磁巻線に流れる界磁電流を制御すべく、前記第2電力変換器のスイッチング制御を行い、
前記リプル抑制処理として、前記界磁巻線に流れる界磁電流を小さくすることにより前記ロータの磁束を小さくする処理を行う、請求項1に記載の電力変換器の制御装置。
【請求項3】
前記回転電機は、永久磁石を有する前記ロータを備えるメモリモータであり、
前記スイッチ制御部は、前記リプル抑制処理として、前記永久磁石を減磁させる弱め界磁電流を前記電機子巻線に流すことにより、前記ロータの磁束を小さくする処理を行う、請求項1に記載の電力変換器の制御装置。
【請求項4】
前記スイッチ制御部は、
前記昇温制御における要求態様に基づいて、前記リプル抑制処理として第1モードと第2モードとを切り替え、
前記第1モードにおける前記ロータの磁束を、前記第2モードにおける前記ロータの磁束よりも小さくする、請求項2又は3に記載の電力変換器の制御装置。
【請求項5】
前記スイッチ制御部は、
前記回転電機の温度に基づいて、前記リプル抑制処理として第1モードと第2モードとを切り替え、
前記第1モードにおける前記ロータの磁束を、前記第2モードにおける前記ロータの磁束よりも小さくする、請求項2又は3に記載の電力変換器の制御装置。
【請求項6】
前記スイッチ制御部は、前記昇温制御の実行中に前記指令トルクが所定量以上変化すると判定した場合、前記昇温制御を停止した状態で前記回転電機の発生トルクを前記所定量変化させ、その後、前記昇温制御を再開する、請求項2又は3に記載の電力変換器の制御装置。
【請求項7】
前記スイッチ制御部は、前記昇温制御において、前記回転電機のトルクリプルを小さくすべく、前記電機子巻線に流す電流の目標値であるd軸目標電流及びq軸目標電流の少なくとも一方に交流信号を加える、請求項1~3のいずれか1項に記載の電力変換器の制御装置。
【請求項8】
蓄電部(10)と、
複数相の電機子巻線(24U~24W)及びロータ(21)を有する回転電機(20)と、
前記蓄電部及び前記電機子巻線を電気的に接続し、上,下アームスイッチ(SUH~SWL)を有する電力変換器(30)と、
を備えるシステムに適用されるプログラムにおいて、
昇温対象部(10)の昇温要求があるか否かを判定する判定処理と、
前記昇温要求があると判定された場合、前記昇温要求がないと判定される場合よりも前記電機子巻線に流す電流ベクトルの大きさを大きくする昇温制御を行うとともに、前記回転電機の発生トルクを指令トルク(Trq*)に制御すべく、前記上,下アームスイッチのスイッチング制御を行う制御処理と、
を実行させ、
前記制御処理における前記昇温制御において、前記回転電機のトルクリプルが閾値よりも大きいと判定した場合、dq座標系のq軸と前記電機子巻線に流す電流ベクトルとのなす角度の大きさを小さくすべく前記ロータの磁束を小さくするリプル抑制処理を行う、プログラム。
【請求項9】
蓄電部(10)と、
複数相の電機子巻線(24U~24W)及びロータ(21)を有する回転電機(20)と、
前記蓄電部及び前記電機子巻線を電気的に接続し、上,下アームスイッチ(SUH~SWL)を有する電力変換器(30)と、
を備えるシステムに適用される電力変換器の制御方法において、
昇温対象部(10)の昇温要求があるか否かを判定する判定ステップと、
前記昇温要求があると判定された場合、前記昇温要求がないと判定される場合よりも前記電機子巻線に流す電流ベクトルの大きさを大きくする昇温制御を行うとともに、前記回転電機の発生トルクを指令トルク(Trq*)に制御すべく、前記上,下アームスイッチのスイッチング制御を行う制御ステップと、
を備え、
前記制御ステップにおける前記昇温制御において、前記回転電機のトルクリプルが閾値よりも大きいと判定した場合、dq座標系のq軸と前記電機子巻線に流す電流ベクトルとのなす角度の大きさを小さくすべく前記ロータの磁束を小さくするリプル抑制処理を行う、電力変換器の制御方法。
発明の詳細な説明
【技術分野】
【0001】
本開示は、電力変換器の制御装置、プログラム及び電力変換器の制御方法に関する。
続きを表示(約 2,000 文字)
【背景技術】
【0002】
従来、電力変換器と、電力変換器に電気的に接続された電機子巻線を有する回転電機とを備えるシステムに適用される制御装置が知られている。制御装置としては、回転電機を駆動しつつ、昇温対象を昇温させるものがある。なお、このような制御装置の例として、特許文献1に開示された制御装置が挙げられる。
【先行技術文献】
【特許文献】
【0003】
特開2023-016559号公報
【発明の概要】
【発明が解決しようとする課題】
【0004】
回転電機を駆動しつつ、昇温対象を昇温させる技術については、未だ改善の余地がある。
【0005】
本開示は、回転電機を駆動しつつ、昇温対象を昇温させることができる電力変換器の制御装置、プログラム及び電力変換器の制御方法を提供することを主たる目的とする。
【課題を解決するための手段】
【0006】
本開示は、蓄電部と、
複数相の電機子巻線及びロータを有する回転電機と、
前記蓄電部及び前記電機子巻線を電気的に接続し、上,下アームスイッチを有する電力変換器と、
を備えるシステムに適用される電力変換器の制御装置において、
昇温対象部の昇温要求があるか否かを判定する判定部と、
前記昇温要求があると判定された場合、前記昇温要求がないと判定される場合よりも前記電機子巻線に流す電流ベクトルの大きさを大きくする昇温制御を行うとともに、前記回転電機の発生トルクを指令トルクに制御すべく、前記上,下アームスイッチのスイッチング制御を行うスイッチ制御部と、
を備え、
前記スイッチ制御部は、前記昇温制御において、前記回転電機のトルクリプルが閾値よりも大きいと判定した場合、dq座標系のq軸と前記電機子巻線に流す電流ベクトルとのなす角度の大きさを小さくすべく前記ロータの磁束を小さくするリプル抑制処理を行う、電力変換器の制御装置。
【0007】
制御装置は、昇温制御において、昇温対象部を昇温させるべく電機子巻線に流す電流ベクトルの大きさを大きくするとともに、回転電機の発生トルクを指令トルクに制御する。ここで、昇温制御が実行される場合、昇温制御が実行されない場合よりもdq座標系のq軸と電機子巻線に流す電流ベクトルとのなす角度(以下、電流進角)の大きさが大きくなり得る。この場合、例えば、回転電機のステータとロータとを含むd軸磁路が磁気飽和し、回転電機のトルクリプルが大きくなる懸念がある。
【0008】
そこで、本開示のスイッチ制御部は、回転電機のトルクリプルが閾値よりも大きいと判定した場合、昇温制御において、電流進角の大きさを小さくすべくロータの磁束を小さくするリプル抑制処理を実行する。
【0009】
リプル抑制処理において、ロータの磁束が小さくされることによりマグネットトルクが低下する。これにより、回転電機の発生トルクを指令トルクに制御しつつ、電流進角の大きさを小さくすることができる。その結果、昇温制御が実行されることにより回転電機のトルクリプルが大きくなる事態の発生を抑制できる。
【図面の簡単な説明】
【0010】
第1実施形態に係るシステムの全体構成図。
冷却システムの概要を示す図。
通常制御及び昇温制御における3相交流電流及びトルクの推移を示す図。
比較例に係るdq座標系における昇温制御時の電流ベクトルを示す図。
第1実施形態に係るdq座標系における昇温制御時の等トルク線を示す図。
制御装置の処理を示す機能ブロック図。
昇温制御の処理手順を示すフローチャート。
トルクリプルの算出処理の手順を示すフローチャート。
低磁束モードの処理手順を示すフローチャート。
通常制御及び昇温制御における3相交流電流、d,q軸電流、界磁電流及びトルクの推移を示す図。
シミュレーション結果を示す図。
第2実施形態に係る昇温制御の処理手順を示すフローチャート。
低磁束モードの処理手順を示すフローチャート。
第2モードの処理手順を示すフローチャート。
第3実施形態に係る昇温制御の処理手順を示すフローチャート。
比較例に係る3相交流電流、d,q軸電流、界磁電流及びトルクの推移を示す図。
比較例に係るdq座標系における電流ベクトルを示す図。
第4実施形態に係る3相交流電流、d,q軸電流、界磁電流及びトルクの推移を示す図。
dq座標系における電流ベクトルを示す図。
第5実施形態に係るシステムの全体構成図。
【発明を実施するための形態】
(【0011】以降は省略されています)
この特許をJ-PlatPat(特許庁公式サイト)で参照する
関連特許
株式会社SOKEN
推定装置及び表示装置
3日前
株式会社SOKEN
3Dモデル生成用画像取得装置
14日前
株式会社デンソー
検出装置、検出装置の製造方法
7日前
個人
単極モータ
10日前
株式会社アイシン
ロータ
14日前
株式会社アイシン
ロータ
10日前
日本精機株式会社
サージ保護回路
17日前
西部電機株式会社
充電装置
17日前
西部電機株式会社
充電装置
17日前
日星電気株式会社
ケーブル組立体
2日前
トヨタ自動車株式会社
固定子
15日前
株式会社デンソー
回転機
8日前
個人
連続ガウス加速器形磁力増幅装置
17日前
トヨタ自動車株式会社
製造装置
15日前
東京瓦斯株式会社
通信装置
16日前
株式会社ミツバ
ブラシレスモータ
16日前
株式会社ダイヘン
充電装置
14日前
カヤバ株式会社
筒型リニアモータ
16日前
株式会社アイシン
ステータ
14日前
株式会社ダイヘン
充電装置
14日前
個人
太陽エネルギー収集システム
15日前
株式会社ダイヘン
充電装置
14日前
株式会社アイシン
ステータ
14日前
株式会社ダイヘン
充電装置
14日前
株式会社アイシン
ステータ
14日前
株式会社アイシン
ステータ
14日前
トヨタ自動車株式会社
被膜形成装置
15日前
個人
二次電池繰返パルス放電器用印刷基板
今日
株式会社kaisei
発電システム
10日前
株式会社デンソー
電力変換装置
9日前
株式会社デンソー
電力変換装置
1日前
株式会社ダイヘン
電力変換装置
17日前
株式会社ミツバ
回転電機
14日前
株式会社ミツバ
回転電機
7日前
東京瓦斯株式会社
給電システム
16日前
株式会社ダイヘン
電力システム
17日前
続きを見る
他の特許を見る