TOP
|
特許
|
意匠
|
商標
特許ウォッチ
Twitter
他の特許を見る
10個以上の画像は省略されています。
公開番号
2025144292
公報種別
公開特許公報(A)
公開日
2025-10-02
出願番号
2024044002
出願日
2024-03-19
発明の名称
液体回収装置及び液体回収容器
出願人
セイコーエプソン株式会社
代理人
個人
,
個人
主分類
B41J
2/175 20060101AFI20250925BHJP(印刷;線画機;タイプライター;スタンプ)
要約
【課題】液体収容容器内に残留する液体を効率よく回収できる液体回収装置及び液体回収容器を提供する。
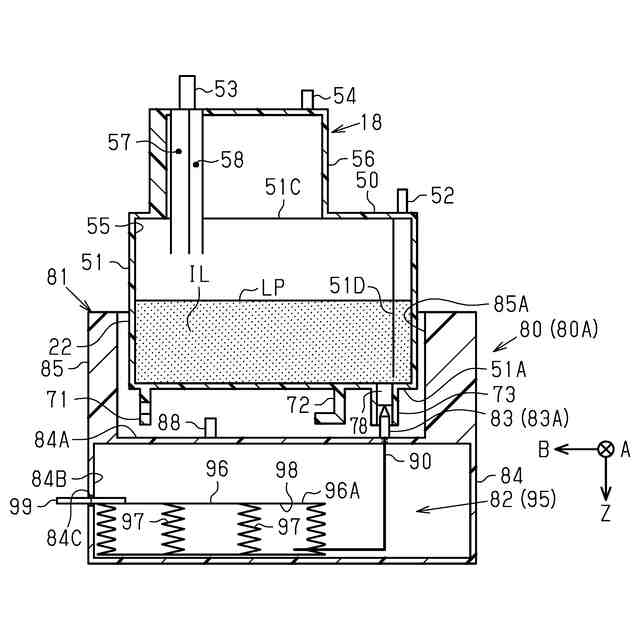
【解決手段】液体回収装置80は、注入口部53と、液体吐出部に液体を供給可能な供給口部52とを有する液体収容容器18内に残留する液体を回収可能に構成される。液体収容容器18は、液体の回収に使用される排出口部73を有する。液体回収装置80は、液体回収収容部81と、回収力発生部82と、回収口部83と、を備える。液体回収収容部81は、液体収容容器18から回収される液体を収容可能に構成される。回収力発生部82は、液体収容容器18から液体回収収容部81へ向かう方向に液体を重力以外の力で移動させる回収力を発生させる。回収口部83は、排出口部73と接続可能に構成される。液体収容容器18内に残留する液体を回収力によって排出口部73と回収口部83との接続を通じて液体回収収容部81に回収する。
【選択図】図8
特許請求の範囲
【請求項1】
液体を注入可能な注入口部と、液体を吐出する液体吐出部に液体を供給可能な供給口部とを有する液体収容容器内に残留する液体を回収可能に構成される液体回収装置であって、
前記液体収容容器は、液体の回収に使用される排出口部を有し、
前記液体回収装置は、
前記液体収容容器から回収される液体を収容可能な液体回収収容部と、
前記液体収容容器から前記液体回収収容部へ向かう方向へ液体を重力以外の力で移動させる回収力を発生させる回収力発生部と、
前記排出口部と接続可能な回収口部と、を備え、
前記液体収容容器内に残留する液体を前記回収力によって前記排出口部と前記回収口部との接続を通じて前記液体回収収容部に回収することを特徴とする液体回収装置。
続きを表示(約 1,100 文字)
【請求項2】
請求項1に記載の液体回収装置において、
前記回収力発生部は、前記回収力を発生させるポンプを含むことを特徴とする液体回収装置。
【請求項3】
請求項1に記載の液体回収装置において、
前記回収力発生部は、前記液体回収収容部内に負圧を発生させる負圧発生部であることを特徴とする液体回収装置。
【請求項4】
請求項3に記載の液体回収装置において、
前記負圧発生部は、容積可変の室を有する室形成部材と、前記室形成部材を前記室の容積を広げる方向に付勢する弾性部材と、前記室形成部材を圧縮状態に保持する保持部とを備え、
前記保持部は、前記圧縮状態の保持を解除可能に構成されることを特徴とする液体回収装置。
【請求項5】
請求項1に記載の液体回収装置において、
前記回収力発生部は、前記液体回収収容部内の液面を加圧する加圧部であることを特徴とする液体回収装置。
【請求項6】
請求項2、3、5のいずれか一項に記載の液体回収装置において、
前記回収力発生部は、駆動源としてモーターを含むことを特徴とする液体回収装置。
【請求項7】
請求項1に記載の液体回収装置において、
前記回収力発生部は、前記排出口部と前記回収口部との接続部に介在して前記回収力として毛管力を発生させる毛管力発生部であることを特徴とする液体回収装置。
【請求項8】
請求項1に記載の液体回収装置において、
前記液体回収収容部は、前記液体収容容器が前記液体回収収容部の上側に配置された状態で、前記排出口部と前記回収口部とが接続される構成であり、前記液体収容容器内に残留する液体を前記排出口部と前記回収口部との接続を通じて水頭圧と前記回収力とを利用して前記液体回収収容部に回収することを特徴とする液体回収装置。
【請求項9】
液体を注入可能な注入口部と、液体を吐出する液体吐出部に液体を供給可能な供給口部とを有する液体収容容器内に残留する液体を回収可能に構成される液体回収容器であって、
前記液体収容容器は、液体の回収に使用される排出口部を有し、
前記液体収容容器から回収される液体を収容可能な回収室を有する液体回収収容部と、
前記液体収容容器から前記液体回収収容部へ向かう方向へ液体を重力以外の力で移動させる回収力を発生させる回収力発生部と、
前記排出口部と接続可能な回収口部と、を備え、
前記液体収容容器内に残留する液体を前記回収力によって前記排出口部と前記回収口部との接続を通じて前記液体回収収容部に回収することを特徴とする液体回収容器。
発明の詳細な説明
【技術分野】
【0001】
本発明は、液体吐出部に供給すべき液体を収容可能な液体収容容器に残留する液体を回収する液体回収装置及び液体回収容器に関する。
続きを表示(約 2,100 文字)
【背景技術】
【0002】
例えば、特許文献1には、液体吐出装置の一例として、インク等の液体を用紙等の媒体に吐出する液体吐出部を備えるインクジェット式印刷装置が開示されている。
この種の液体吐出装置は、液体吐出部に供給すべき液体を収容する液体収容容器を備える。液体収容容器としては、交換型のカートリッジ(例えばインクカートリッジ等)以外に、ユーザーが液体を補充可能な注入口部を有する液体補充型の液体タンク(例えばインクタンク等)が知られている。液体補充型の液体収容容器(液体タンク)内の液体が減ると、ユーザーは注入口部にインクボトル等の液体ボトルを接続するなどして、液体収容容器に液体を補充する。
【0003】
ところで、液体吐出装置を廃棄する場合、カートリッジはリサイクルのため回収される場合が多い。仮にカートリッジごと液体吐出装置が廃棄されても、カートリッジは注入口部を有しないので、カートリッジから液体が漏出する心配は少ない。
【0004】
これに対して、液体補充型の液体収容容器は、液体吐出装置の筐体又はキャリッジに固定されている。そのため、液体収容容器が固定されたまま液体吐出装置が廃棄される場合が多い。しかし、液体収容容器内にインク等の液体が残留していると、廃棄作業において液体吐出装置が傾くなどしたときに、キャップが緩んでいたり外れたりしている注入口部から液体収容容器内の液体が漏出する可能性がある。溢れた液体は処理されることなく、環境汚染の原因になる場合がある。そのため、タンク式の液体収容容器を備える体吐出装置を廃棄する場合、ユーザーは、液体収容容器内の液体を回収した後、液体吐出装置を廃棄することが好ましい。また、液体吐出装置から液体補充型の液体収容容器を取り外しても、その取り外した液体収容容器を廃棄する場合、液体が残留していれば、同様の問題がある。
【先行技術文献】
【特許文献】
【0005】
特開2018-69717号公報
【発明の概要】
【発明が解決しようとする課題】
【0006】
しかし、従来における液体補充式の液体収容容器においては、液体吐出装置を廃棄する際に、液体収容容器内に残留する液体を排出又は回収する構成については配慮されていない。そのため、例えば、注入口部や供給口部から液体を抜き取ったりする必要がある。注入口部は、液体を抜き取ることを考慮した構造になっていないため、抜取り作業中に液体が溢れたり、インク等の液体が手指に付着して汚れたりする可能性がある。
【0007】
例えば、液体収容容器内のほぼすべての液体を効率よく排出又は回収する必要がある。例えば水頭差を利用して回収する場合、回収先の容器やボトルの口部よりも高い位置に注入口部又は供給口部が位置するように液体収容容器を保持する高さ位置が制限される。
【0008】
また、水頭差を利用して液体を排出する場合、注入口部又は供給口部が狭い場合など回収が効率的でない場合がある。水頭差が小さくなると、液体の回収効率は一層低下する。このため、液体収容容器から液体を回収する場合、液体収容容器を保持する高さ位置が制限され難いことや、液体を効率よく回収できることが望まれる。よって、液体吐出装置を廃棄する際に、液体収容容器内に残留する液体を排出又は回収しやすいことが要望されている。
【課題を解決するための手段】
【0009】
上記課題を解決する液体回収装置は、液体を注入可能な注入口部と、液体を吐出する液体吐出部に液体を供給可能な供給口部とを有する液体収容容器内に残留する液体を回収可能に構成される液体回収装置であって、前記液体収容容器は、液体の回収に使用される排出口部を有し、前記液体回収装置は、前記液体収容容器から回収される液体を収容可能な液体回収収容部と、前記液体収容容器から前記液体回収収容部へ向かう方向へ液体を重力以外の力で移動させる回収力を発生させる回収力発生部と、前記排出口部と接続可能な回収口部と、を備え、前記液体収容容器内に残留する液体を前記回収力によって前記排出口部と前記回収口部との接続を通じて前記液体回収収容部に回収する。
【0010】
上記課題を解決する液体回収容器は、液体を注入可能な注入口部と、液体を吐出する液体吐出部に液体を供給可能な供給口部とを有する液体収容容器内に残留する液体を回収可能に構成される液体回収容器であって、前記液体収容容器は、液体の回収に使用される排出口部を有し、前記液体収容容器から回収される液体を収容可能な回収室を有する液体回収収容部と、前記液体収容容器から前記液体回収収容部へ向かう方向へ液体を重力以外の力で移動させる回収力を発生させる回収力発生部と、前記排出口部と接続可能な回収口部と、を備え、前記液体収容容器内に残留する液体を前記回収力によって前記排出口部と前記回収口部との接続を通じて前記液体回収収容部に回収する。
【図面の簡単な説明】
(【0011】以降は省略されています)
この特許をJ-PlatPat(特許庁公式サイト)で参照する
関連特許
個人
箔熱転写装置
22日前
シヤチハタ株式会社
印判
4か月前
東レ株式会社
凸版印刷版原版
9か月前
シヤチハタ株式会社
反転式印判
8か月前
三菱製紙株式会社
感熱記録材料
10か月前
三光株式会社
感熱記録材料
5か月前
キヤノン株式会社
記録装置
15日前
独立行政法人 国立印刷局
印刷物
6か月前
独立行政法人 国立印刷局
記録媒体
8か月前
独立行政法人 国立印刷局
貼付機構
1か月前
株式会社リコー
液体吐出装置
8か月前
株式会社リコー
画像形成装置
22日前
株式会社リコー
印刷システム
3日前
独立行政法人 国立印刷局
貼付装置
1か月前
株式会社リコー
画像形成装置
3日前
株式会社リコー
液体吐出装置
5か月前
株式会社リコー
液体吐出装置
7か月前
株式会社リコー
液体吐出装置
4か月前
日本製紙株式会社
感熱記録体
7か月前
株式会社リコー
液体吐出装置
7か月前
株式会社リコー
液体吐出装置
3か月前
株式会社リコー
液体吐出装置
1か月前
株式会社リコー
液体吐出装置
4か月前
ブラザー工業株式会社
プリンタ
7か月前
キヤノン株式会社
情報処理装置
8か月前
ブラザー工業株式会社
プリンタ
8か月前
キヤノン株式会社
画像形成装置
10か月前
キヤノン株式会社
画像形成装置
5か月前
キヤノン株式会社
画像形成装置
7か月前
ブラザー工業株式会社
プリンタ
3か月前
キヤノン株式会社
画像記録装置
15日前
キヤノン株式会社
画像形成装置
4か月前
ブラザー工業株式会社
液体吐出ヘッド
15日前
フジコピアン株式会社
中間転写シート
9か月前
キヤノン株式会社
画像形成装置
7か月前
キヤノン株式会社
画像形成装置
8か月前
続きを見る
他の特許を見る