TOP
|
特許
|
意匠
|
商標
特許ウォッチ
Twitter
他の特許を見る
公開番号
2025138560
公報種別
公開特許公報(A)
公開日
2025-09-25
出願番号
2024209780
出願日
2024-12-02
発明の名称
車両用灯具
出願人
市光工業株式会社
,
トヨタ自動車株式会社
代理人
IAT弁理士法人
主分類
F21S
45/00 20180101AFI20250917BHJP(照明)
要約
【課題】従来のセンサを備えた車両用灯具と比べて、より低コストで製造可能な車両用灯具を提供すること。
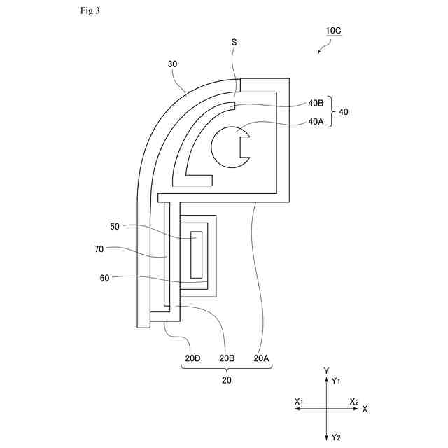
【解決手段】ハウジング20Aと、ハウジング20Aの開口部を覆う光源ユニットカバー30と、ハウジング20Aと光源ユニットカバー30とにより形成された空間Sの内部に配置された光源ユニット40と、非可視光域の波長を有する電磁波に基づいて車両外部の情報を取得するためのセンサ50と、センサ50の車両外部側に配置されたセンサカバー20Bと、を備え、センサカバー20Bとハウジング20Aとは、不透明部材から構成された一体成型品20である車両用灯具10A。
【選択図】図1
特許請求の範囲
【請求項1】
ハウジングと、
前記ハウジングの開口部を覆う光源ユニットカバーと、
前記ハウジングと前記光源ユニットカバーとにより形成された空間の内部に配置された光源ユニットと、
非可視光域の波長を有する電磁波に基づいて車両外部の情報を取得するためのセンサと、
前記センサの前記車両外部側に配置されたセンサカバーと、
を備え、
前記センサカバーと前記ハウジングとは、不透明部材から構成された一体成型品である、
車両用灯具。
続きを表示(約 320 文字)
【請求項2】
前記センサカバーおよび前記センサは、前記空間の外部に配置されている請求項1に記載の車両用灯具。
【請求項3】
前記センサカバーは、前記光源ユニットカバーとは別部材として、前記光源ユニットカバーの周縁部に配置される請求項2に記載の車両用灯具。
【請求項4】
前記ハウジングの開口部と共に前記センサカバーも、前記光源ユニットカバーにより覆われている請求項2に記載の車両用灯具。
【請求項5】
前記センサは、ミリ波レーダである請求項1または2に記載の車両用灯具。
【請求項6】
前記一体成型品は、単一色の不透明部材から構成されている請求項1または2に記載の車両用灯具。
発明の詳細な説明
【技術分野】
【0001】
本発明は、車両用灯具に関するものである。
続きを表示(約 1,500 文字)
【背景技術】
【0002】
車両の周囲の情報を取得するために、ミリ波レーダなどのセンサを車両用灯具に配置する技術が知られている。たとえば、特許文献1には、車両用灯具内に配置される光源を覆う第一部分と、非可視光に基づいて車両外部の情報を取得するセンサを覆う第二部分とを有するカバーを備え、第二部分は第一部分よりも可視光の透過率が低い車両用灯具が提案されている。
【0003】
特許文献1記載の技術において、ミリ波レーダ等のセンサを覆うセンサカバーとして機能する部分、および、光源(あるいは光源ユニット)を覆う光源ユニットカバーとして機能する部分との構造や作製方法に着目すると、その要点は以下のとおりである。すなわち、特許文献1記載の技術においては、(i)カバーを構成する第一部分(光源ユニットカバーとして機能する部分)と第二部分(センサカバーとして機能する部分)とが、一体成型品から構成されるか、あるいは、(ii)別部材として提供された第一部分と第二部分とを接着、溶着、嵌着などにより一体にすることでカバーが構成されている。
【先行技術文献】
【特許文献】
【0004】
特開2018-26305号公報
【発明の概要】
【発明が解決しようとする課題】
【0005】
しかし、上記(i)に示す従来の実施形態では、一体成型品が光源ユニットから照射される可視光を透過する透明部分と、車両外部からセンサを隠蔽するために可視光を透過しない不透明部分とを含む。このため、この実施形態では、透明部材からなる一体成型品を準備した後に、この一体成型品(透明部材)の一部に不透明部分を形成するために、一体成型品(透明部材)の一部を不透明化する処理(たとえば、着色剤を含む塗料でコーティング処理するなどが必要となる。このため、不透明部分を形成するための工程が必要となる。また、上記(ii)に示す従来の実施形態では、車両用灯具の製造に際して、別部材として提供された第一部分と第二部分とを準備する必要があるため、部品点数の増大を招く上に、第一部分と第二部分とを接着等により一体化するための工程も必要となる。
【0006】
すなわち、上記(i)~(ii)に示す従来の実施形態では、センサを備えた車両用灯具の製造に際して、製造工程の複雑化や部品点数の増加を招き、結果的に、車両用灯具の製造コストの増加を招く。
【0007】
本発明は上記事情に鑑みてなされたものであり、従来のセンサを備えた車両用灯具と比べて、より低コストで製造可能な車両用灯具を提供することを課題とする。
【課題を解決するための手段】
【0008】
上記課題は以下の本発明により達成される。すなわち、
本発明の車両用灯具は、ハウジングと、前記ハウジングの開口部を覆う光源ユニットカバーと、前記ハウジングと前記光源ユニットカバーとにより形成された空間の内部に配置された光源ユニットと、非可視光域の波長を有する電磁波に基づいて車両外部の情報を取得するためのセンサと、前記センサの前記車両外部側に配置されたセンサカバーと、を備え、前記センサカバーと前記ハウジングとは不透明部材から構成された一体成型品である。
【0009】
本発明の車両用灯具の一実施形態は、前記センサカバーおよび前記センサは、前記空間の外部に配置されていることが好ましい。
【0010】
本発明の車両用灯具の他の実施形態は、前記センサカバーは、前記光源ユニットカバーとは別部材として、前記光源ユニットカバーの周縁部に配置されることが好ましい。
(【0011】以降は省略されています)
この特許をJ-PlatPat(特許庁公式サイト)で参照する
関連特許
市光工業株式会社
表示装置
6日前
市光工業株式会社
車両用画像表示装置
5日前
個人
室外機器
3か月前
個人
照明システム
3か月前
個人
車載機器の通気構造
1か月前
株式会社遠藤照明
照明器具
4か月前
株式会社遠藤照明
照明装置
26日前
株式会社小糸製作所
車両用灯具
8日前
能美防災株式会社
表示灯
1か月前
株式会社小糸製作所
車両用灯具
8日前
デンカ株式会社
照明装置
4か月前
個人
LEDライト
3か月前
デンカ株式会社
道路用照明
4か月前
株式会社小糸製作所
誘導装置
19日前
アクア株式会社
冷蔵庫
2か月前
フルトラム株式会社
光学機器
7日前
スタンレー電気株式会社
照射用光源
12日前
株式会社小糸製作所
投光装置
1か月前
株式会社小糸製作所
投光装置
1か月前
株式会社小糸製作所
表示用灯具
12日前
株式会社小糸製作所
車両用灯具
4か月前
株式会社小糸製作所
表示用灯具
12日前
株式会社小糸製作所
車両用灯具
4か月前
株式会社小糸製作所
車両用灯具
3か月前
株式会社小糸製作所
車両用灯具
3か月前
株式会社小糸製作所
車両用灯具
3か月前
株式会社小糸製作所
車両用灯具
4か月前
株式会社小糸製作所
車両用灯具
4か月前
株式会社小糸製作所
車両用灯具
4か月前
トキコーポレーション株式会社
照明器具
4か月前
三協立山株式会社
照明付きポール
2か月前
株式会社ユーシン
表示・照明装置
8日前
株式会社北井地所
照明装置
19日前
株式会社パクマケ
スポットライト
3か月前
スタンレー電気株式会社
照明装置
12日前
東芝ライテック株式会社
照明装置
2か月前
続きを見る
他の特許を見る